6月7日,东风雪铁龙凡尔赛C5 X量产版车型在神龙汽车成都工厂正式下线。据了解,雪铁龙凡尔赛C5 X于4月12日正式发布,新车基于CXperience概念车打造而来,是雪铁龙品牌旗下全新中型跨界车,于上海车展正式亮相,并计划9月份正式上市年底正式交付。值得一提的是,这款新车将会在中国生产并供应全球市场。


雪铁龙C5X与海外版C4基本一致,日间行车灯为“V”字形,与前脸形成了“X”造型。另外,上下灯带与品牌LOGO相连,标志与格栅融同时向两侧延伸。从侧面来看,新车侧面造型相对流畅,车顶线条自A柱开始微微下沉,新车侧面凸起的腰线与下方黑色轮眉相搭配,使得新车看上去更有动感。尺寸方面,新车长宽高分别为4805/1865/1505mm,轴距为2785mm。
相比于外观,雪铁龙C5X的内饰看起来还是相对传统。雪铁龙凡尔赛C5X采用了非对称造型的中控台,采用全液晶仪表盘以及12英寸悬浮式中控屏,但是没有采用流行的双联屏设计。当然,大尺寸中控屏也具有很多人机互动功能,并且搭载了C-Connect车载娱乐信息系统,蓝牙、语音识别控制。
动力方面,新车将搭载一台1.6T四缸发动机,最大功率125kw,峰值扭矩260N·m,与之匹配的是8速手自一体变速箱。此外,新车或将推出插电混动车型。
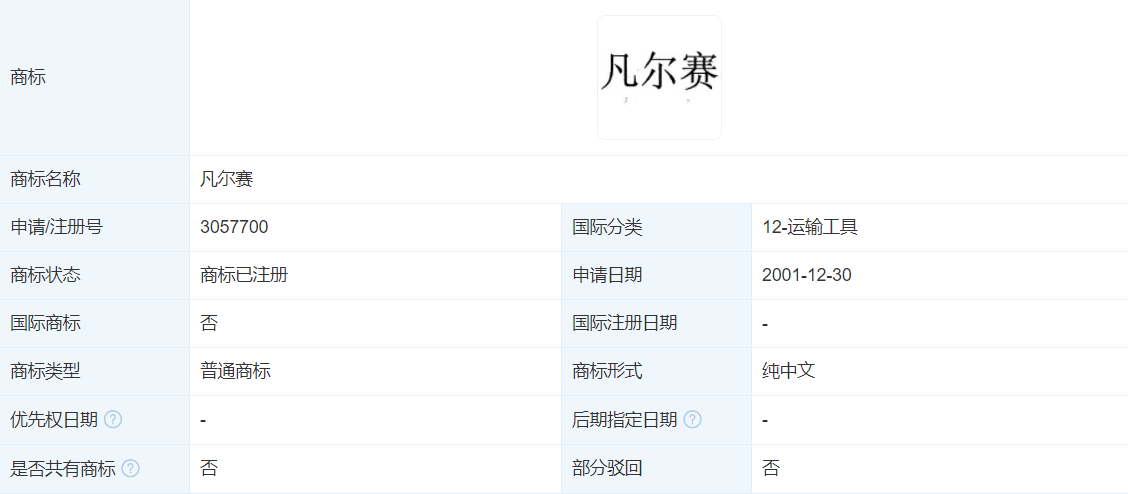
据了解,早在2001年神龙汽车就注册了“凡尔赛”商标。也就是说,雪铁龙C5X命名“凡尔赛”与网络热词“凡尔赛文学”并无关系,“凡尔赛”是法国巴黎大区伊夫林省省会,是欧洲游人最多的历史名胜之一。雪铁龙将C5X命名为“凡尔赛”也符合其命名规则,此前雪铁龙将多款车型命名为爱丽舍、塞纳、毕加索等。

从雪铁龙凡尔赛C5X的设计风格来看,其潜在的竞争对手包括大众蔚揽,以及同平台的标致508L。其中,新款大众蔚揽已在上海车展上开启预售,预售价26.8万元起。至于同样采用EMP2平台的标致508L,现款车型售价区间为15.97-22.47万元,基于跨界车略贵原则,预计雪铁龙凡尔赛C5X的售价在16-23万元左右。

虽然雪铁龙C5X有着不错的综合竞争力,但是雪铁龙品牌在市场上的存在感并不强,这也是C5X能否获得消费者认可的最大软肋。不过,东风雪铁龙总经理毛创新在接受媒体采访时表示:“东风雪铁龙凡尔赛C5 X是个新物种,我们没有竞争对手。同时,凡尔赛C5 X将会重新燃起法系车在国民心中的新高度。”同时他还指出,“面对市场竞争,东风雪铁龙依然会用品质和服务赢得客户的认可,不会寻求一味的低价策略。”
如系本站原创文章,转载请注明出处:qi-che.com。
更多汽车新闻关注 请扫码qi-che.com公众微信号:

声明:
·凡注明为其他媒体来源的信息,均为转载自其他媒体,转载并不代表本网赞同其观点,也不代表本网对其真实性负责。如系qi-che.com原创文章,转载请注明出处:qi-che.com。
·您若对该稿件内容有任何疑问或质疑,请即与qi-che.com联系,本网将迅速给您回应并做处理。
邮箱mail@qi-che.com
处理时间:周一—周五 9:00—18:00
相关阅读
随着中国汽车市场新车销量持续下滑,传统乘用车(轿车、SUV、MPV)的需求下降,一直被忽视的皮卡车型有望迎来爆发期。6月6日,国家发改委等三部委共同下发《推动重点消费品更新升级畅通资源循环利用实施方案(2019-2020年)》,除逐步取消限购规定促进汽车消费外,皮卡车型的进一步解禁也被纳入改革的重点项目。实施方案中明确表示,鼓励有条件的地级及以下城市加快取消皮卡进城限制,充分发挥皮卡客货两用功能。...
日前网上盛传一封河北省保定市博野县检测站的通知书,内容提到:接县政府办公室通知,9月23日开始所有年检车辆必须安装ETC,未安装ETC的车辆不予年检,安装ETC后再办理年检业务。针对此消息,博野县官方回应了。微信公众号“博野快讯”发文称,县政府办公室从未发布过任何关于强制安装ETC的通知。不安装ETC设备不影响车辆进行年检,车辆办理ETC设备由广大车主、群众积极参与,自愿选择。此外,相关情况经过调...
今年以来,一直在新能源汽车领域动作频频的恒大,近日又因大规模、高标准的人才招募再度引得市场关注。9月9日,恒大新能源汽车全球研究总院启动全球招聘,计划招聘8000名新能源汽车产业世界顶级专家和技术精英,工作地点遍布中国、瑞典、德国、英国、荷兰、奥地利、意大利、日本、韩国等九个国家。造车狂人恒大“逆势揽才”今年的汽车行业可谓是日渐趋寒,无论是传统汽车业的领头羊如福特、通用、大众等车企动辄上千人的裁员...
最新内容
3月30日,丰田汽车公司公布2026年2月全球产销情况。数据显示,2月丰田汽车全球销量为737134辆,同比下滑3.3%。其中日本本土市场销量为122264辆;海外市场销量为614870辆,同比下滑2.2%。截至2026年底,今年前两月,丰田汽车全球累计销量为1559711辆。其中日本本土市场销量为245329辆;海外市场销量为1314382辆。产量方面,2月丰田汽车公司全球产量为749673辆,...
日前,长城汽车发布2025年年报。财报显示,2025年长城汽车实现营业收入2228.24亿元,同比增长10.2%,创历史新高,而归母净利润同比下滑22.07%,为98.65亿元,同期为126.60亿元,扣非净利润则为60.59亿元,同比下滑37.50%。不难看出,长城汽车也陷入了“增收不增利”的尴尬局面。在2025年国内乘用车市场仅同比增长4%的背景下,长城汽车能实现10.2%的营收增长,确实值得...
3月30日,奇瑞旗下全新纯电小型车——奇瑞QQ3EV正式上市。新车共推出4款车型,售价区间为-万元。新车基于T12纯电平台打造,外观采用全新QQ家族设计语言,提供AI灵犀智舱和猎鹰500辅助驾驶等配置,动力上搭载后置后驱纯电动力系统,简单回顾新车外观设计,新车采用“微笑”造型前脸设计,整体造型圆润可爱。前脸采用封闭式格栅搭配圆润的LED大灯组布局,灯组内部具有上下平行日间行车灯带结构,整体看上去非...
3月30日,宝马中国正式发布全新宝马iX3长轴距版官图,新车将于2026北京车展上发布。据了解,新世代宝马iX3基于宝马全新电动车平台NeueKlasse诞生的首款车型,,采用宝马新世代设计语言,是宝马中国推出的首款新世代车型,整体外观基本与海外版车型保持一致,轴距加长至3005mm。外观方面,全新宝马iX3长轴距版的前脸基本完全复刻海外版车型的设计,长条形的灯组造型成为宝马新世代车型的新标志,经...
3月30日,上汽大众ID.ERA9X正式开启预售。据了解,新车是大众有史以来尺寸最大的SUV车型,也是上汽大众推出的首款增程车型,定位大型增程SUV,车内采用六座布局,配备激光雷达,动力上搭载1.5T增程混合动力,匹配65.2kWh三元锂电池组,CLTC工况最大纯电续航突破400km。具体来看,外观设计方面,新车采用全新设计方式,前脸运用封闭式格栅搭配贯穿式日行灯布局,中央镶嵌大众品牌LOGO,两...
汽车行业关注是了解中国汽车品牌,汽车经销商的汽车行业资讯传播平台。以全媒体结合的方式为汽车行业传播权威的汽车资讯,助力中国汽车品牌传播不断创新。新车上市汽车大全汽车新闻汽车品牌销量榜以及汽车经销商报价大全。
最新问答 更多
用车养护
汽车行业关注
报导汽车行业资讯,深挖车界猛料
老虎车网
新鲜汽车资讯,实用车主指南
买车顾问
好玩、好看、有用才是我们的基本诉求