4月4日,深圳市银通前海金融资产交易中心在其官网发布了两则与宝能相关的债权招商公告,内容涉及宝能旗下多处资产将被处置,分别为宝能地产委托贷款债权和宝能汽车信托贷款债权,包括深圳龙岗宝能科技园等多个抵押物和质押物。

宝能地产委托贷款债权招商公告显示,该债权债务人为宝能地产股份有限公司;共同债务人为深圳市中林实业发展有限公司、深圳莱华置业有限公司、宝能汽车、哈尔滨恒泰置业有限公司;保证人为钜盛华、宝能集团、CHIA TAI (SHENZHEN) DEVELOPMENT COMPANY LIMITED、姚振华;抵押物包括宝能科技园一期A区A1栋至A7栋、B区B1栋至B5栋、二期C区C1至C3、宝能科技园6栋(余额抵押)、宝能科技园9栋(余额抵押);质押物为深圳市中林实业发展有限公司51%股权、深圳市钜盛华股份有限公司12.5%股权;截至处置基准日2023年2月20日,委托贷款债权本金42.23亿元及利息9.31亿元、费用、违约金等(具体以最终实际计算为准)。
宝能汽车信托贷款债权招商公告显示,该债券保证人为深圳市钜盛华股份有限公司、佛山嘉宝盛置业有限公司、宝能城有限公司、深圳前海锐致投资有限公司、姚振华;抵押物为深圳市龙岗区宝能科技园(南区)一期A区A1栋至A7栋、B区B1栋至B5栋、二期C区C1至C3栋;目前,诉讼情况为已诉,抵押物及债务人名下不动产、土地已查封。截至处置基准日2023年2月20日,宝能汽车信托贷款债权本金22.9亿元及利息1.79亿元、费用、违约金等(具体以最终实际计算为准),其中本金22.89亿元的债权已原状分配至转让方。

上述公告或意味宝能旗下多处资产将被处置。截至发稿前,宝能集团尚未对上述消息作出回应。
需要注意的是,早在2022年5月,司法拍卖平台上就曾出现多起宝能旗下观致汽车被拍卖相关信息,此后还被多地法院拉入被执行人名单中,2022年12月,安徽芜湖经济技术开发区人民法院发布拍卖公告,标的为观致汽车有限公司的汽车生产线设备,起拍价约为1.23亿元,行业认为,观致汽车生产线都被法院拍卖了,距离彻底破产也不远了。此后大量观致7新车出现在司法拍卖平台上等待拍卖,其中来自于山东、浙江、湖北、河南、重庆等地区的查封车。

宝能集团始创于1992年,总部位于深圳,董事长为姚振华,旗下拥有综合物业开发、金融、现代物流、文化旅游、民生产业等五大板块,2017年3月,姚振华正式宣布跨界造车并成立宝能汽车集团,同年12月,宝能集团战略投资观致汽车成为大股东,形成宝能、奇瑞汽车、量子公司三方股东控股。

2018年年初,宝能集团以66.3亿元收购了观致51%的股份,正式成为观致汽车的控股股东。2019年1月,宝能再次以15.6亿元的价格购入量子公司12%的股份,宝能集团在观致的持股比例增至63%。不过,观致汽车的销量并不理想,数据显示,2018年观致汽车销量为6.3万辆,同比增长320%,主要销量来源是宝能通过关联的汽车租赁公司为观致拿下9.5万台的订单,在这之后观致汽车的销量连年下滑。
数据显示,2019年观致汽车销量跌至2.27万辆,2020年再度跌至1.31万辆,到了2021年,观致汽车在面临内部员工流失、外部供应商和经销商维权、销售失利等诸多因素的影响下,其销量再度腰斩,2021年观致汽车销量仅5200辆,而观致汽车的“大金主”宝能汽车也自身难保,这一年,宝能汽车因资金问题,先后被爆出“制造基地停工”、“裁员”、“断交员工社保”、“关店”等诸多问题,此后则深陷流动性危机,面临理财产品逾期兑、债务违约等困境,不得不通过通过减持所持有上市公司股权、质押股份、处置资产等方式持续回笼资金。
2021年11月,宝能集团董事长姚振华曾表示:“这次的流动性困难是宝能发展29年来从未有过的一次”,与此同时其还指出,纵观整个29年的发展,这次困难对即将跨入而立之年的宝能不是一件坏事,而是一次警醒,“提醒我们要深刻反思经营管理过程中的问题,如何确保在今后的发展中不再重蹈覆辙”。

令人意外的是,尽管宝能汽车及旗下观致汽车接连被曝工厂停滞、欠薪停缴社保及公积金纠纷、服务门店不断收缩、产线拍卖等负面消息,但宝能汽车仍然坚定发布定位豪华智能高端的品牌车型,前宝能汽车集团旗下共有BAO、悠宝利和观致三大乘用车品牌,在2023新年宝汽集团开工大会,宝能执行总裁陆幸泽称,2023年是宝能汽车关键的一年,全力保障A3、GX16、A6三款重点车型量产,同时今年将DS05车型首车下线。董事长姚振华则表示整车项目要加快释放产能,悠宝利A3车型作为经营方案中的重中之重。按照规划,悠宝利未来每年均会推出一款新车型,今年推出的车型是定位更高的A00级四门纯电汽车,2024年则推出A0级四门纯电汽车。

姚振华在上述会上表示,2022年面对前所未有的流动性困难,宝能推动理财兑付、资产处置、融资展期及债务优化重组等工作,2023年将是宝能迈进下一个三十年辉煌征程的崭新起点,也将是宝能汽车战略提速的决胜之年。
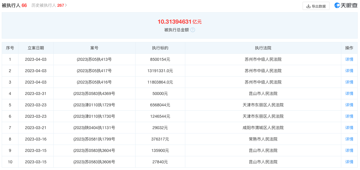
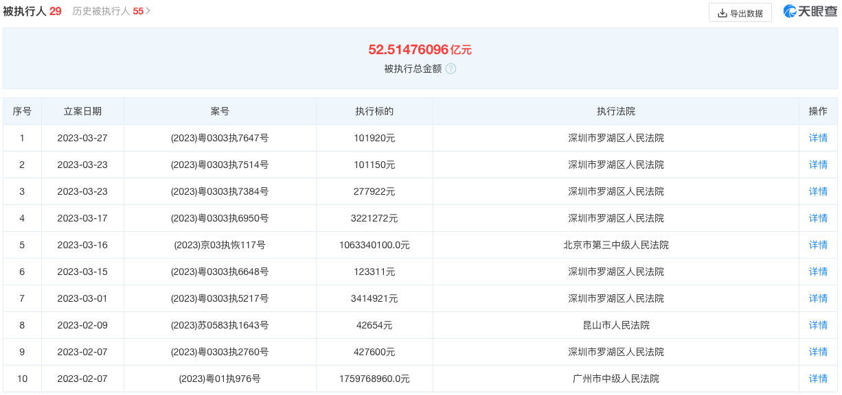
不过从目前宝能汽车的现状来看,宝能汽车已走到了悬崖边上。进入2023年以来,宝能汽车被执行人信息一直不断在增加。天眼查信息显示,截至今日,宝能汽车集团历史被执行人为55起,被执行总金额为52.51476096亿元,至于观致汽车的发展也是四面楚歌,截至今日,观致汽车历史被执行案件为267起,被执行总金额为10.31394631亿元。


在被执行人信息不断增多、产线被拍卖等负面消息下,宝能汽车还能走多久,后续还能否如期量产上述四款车型成了疑问,但在竞争激烈的车市背景下,显然留给宝能汽车的时间不多了。
如系本站原创文章,转载请注明出处:qi-che.com。
更多汽车新闻关注 请扫码qi-che.com公众微信号:

声明:
·凡注明为其他媒体来源的信息,均为转载自其他媒体,转载并不代表本网赞同其观点,也不代表本网对其真实性负责。如系qi-che.com原创文章,转载请注明出处:qi-che.com。
·您若对该稿件内容有任何疑问或质疑,请即与qi-che.com联系,本网将迅速给您回应并做处理。
邮箱mail@qi-che.com
处理时间:周一—周五 9:00—18:00
相关阅读
随着中国汽车市场新车销量持续下滑,传统乘用车(轿车、SUV、MPV)的需求下降,一直被忽视的皮卡车型有望迎来爆发期。6月6日,国家发改委等三部委共同下发《推动重点消费品更新升级畅通资源循环利用实施方案(2019-2020年)》,除逐步取消限购规定促进汽车消费外,皮卡车型的进一步解禁也被纳入改革的重点项目。实施方案中明确表示,鼓励有条件的地级及以下城市加快取消皮卡进城限制,充分发挥皮卡客货两用功能。...
今年以来,一直在新能源汽车领域动作频频的恒大,近日又因大规模、高标准的人才招募再度引得市场关注。9月9日,恒大新能源汽车全球研究总院启动全球招聘,计划招聘8000名新能源汽车产业世界顶级专家和技术精英,工作地点遍布中国、瑞典、德国、英国、荷兰、奥地利、意大利、日本、韩国等九个国家。造车狂人恒大“逆势揽才”今年的汽车行业可谓是日渐趋寒,无论是传统汽车业的领头羊如福特、通用、大众等车企动辄上千人的裁员...
据车质网统计,2019年10月共接到车主有效投诉信息8016宗,环比上涨7.9%,同比上涨28%,今年1-10月累计投诉量已突破70000宗。10月份汽车投诉榜单中,绝大多数车型投诉量环比呈现增长的趋势,法系、日系品牌汽车投诉量较上月有明显的涨幅。投诉量榜单前十中,法系品牌东风标致408再次霸榜。据数据显示,今年10月,东风标致408销量为1222辆,而10月的投诉量则达到了226宗,占销量的18...
最新内容
11月2日,新一代宝马M5正式在国内上市,售价146.89万元起。作为参考,前代宝马M5在国内官方指导价为145.39万元。外观方面,新一代宝马M5在现款第八代宝马5系基础上,采用更加夸张的双肾进气中网,中网外圈采用可点亮的LED灯带设计,内部采用横向饰条装饰,右侧是醒目的M5标志。新车下包围配备大尺寸进气口,能够带来充足的散热气流。车头两侧能看到导流槽等空气动力学套件,使新车看起来更加凶狠。据了...
10月31日,上汽集团和广汽集团同日发布第三季度财报,两家大型汽车制造商的销量、营收、利润均出现大幅下滑。与此形成鲜明对比的是,同样在10月31日公布财报的比亚迪却再创业绩新高,销量、营收、利润同步上涨。财报显示,2024年第三季度上汽集团实现营业收入为1425.6亿元,同比下滑25.58%;实现净利润为2.79亿元,同比下滑93.53%;扣非净利润仅2916.61万元,同比下滑99.23%。上汽...
11月2日,新款阿维塔12正式上市,提供纯电、增程版(新增),官方指导价为26.99-42.99万元,限时售25.99-41.99万元。其中,纯电版售价27.99-35.99万元,增程版售价25.99-28.99万元,阿维塔皇家剧院版售价41.99万元。此次上市重点是阿维塔12增程版,作为新增动力车型,阿维塔12增程版延续在售纯电版车型的外观轮廓,前大灯采用分体式设计,而且前大灯组十分有辨识度,贯...
11月2日,长城汽车对外公布10月产销快报。数据显示,10月长城汽车销量为11.68万辆,同比下滑11.05%,其中新能源车销量为3.20万辆,海外销量为4.44万辆;今年1-10月长城汽车累计销量为97.06万辆,同比下滑2.49%,其中新能源车销量为24.35万辆,海外销量为36.87万辆。按照长城汽车160万辆的年度销量目标计算,截至10月底完成率为60.66%。截至目前,长城汽车旗下共有五...
日前,东风本田汽车有限公司、广汽本田汽车有限公司根据《缺陷汽车产品召回管理条例》和《缺陷汽车产品召回管理条例实施办法》的要求,向国家市场监督管理总局备案了召回计划,决定自2024年11月1日起,召回以下车辆。一、东风本田汽车有限公司:召回2022年9月9日至2023年1月17日期间生产的部分国产混合动力版思域(CIVIC)系列汽车,共计175辆。二、广汽本田汽车有限公司:召回2022年9月30日至...
汽车行业关注是了解中国汽车品牌,汽车经销商的汽车行业资讯传播平台。以全媒体结合的方式为汽车行业传播权威的汽车资讯,助力中国汽车品牌传播不断创新。新车上市汽车大全汽车新闻汽车品牌销量榜以及汽车经销商报价大全。
最新问答 更多
用车养护
汽车行业关注
报导汽车行业资讯,深挖车界猛料
老虎车网
新鲜汽车资讯,实用车主指南
买车顾问
好玩、好看、有用才是我们的基本诉求