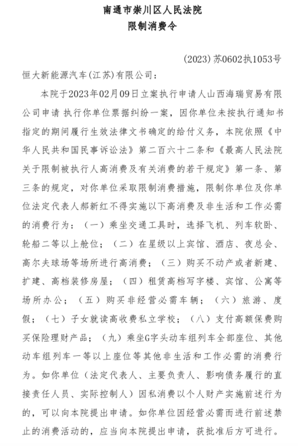
恒大汽车又遇上新麻烦了,恒大新能源汽车投资控股集团有限公司(下称“恒大新能源”)及子公司恒大新能源汽车(江苏)有限公司和两公司法定代表人刘俊和郝新红被限制消费,申请人为山西海瑞贸易有限公司,案由涉及“票据纠纷”。


天眼查显示,江苏省南通市崇川区人民法院于4月3日发布了限制消费令,主要涉及恒大新能源汽车投资控股集团有限公司及子公司。法院公告显示,恒大新能源及子公司恒大新能源汽车(江苏)有限公司和两公司法定代表人刘俊和郝新红被限制消费。从公告来看,上述两家公司和公司法定代表人被限制消费的主要原因是“票据纠纷”。案件审理流程显示,法院于今年2月9日立案执行,申请人为山西海瑞贸易有限公司,两公司曾因此案件被强制执行105万元,因恒大汽车未按执行通知书指定的期间履行生效法律文书确定的给付义务,法院依据相关法律法规,对恒大汽车及子公司采取限制消费措施,限制该公司及公司法定代表人不得实施高消费及非生活和工作必需的消费行为。


恒大新能源汽车投资控股集团有限公司


恒大新能源汽车(江苏)有限公司
法院表示,如违反限制消费令,经查证属实的,法院将依照《中华人民共和国民事诉讼法》有关规定,予以罚款、拘留;情节严重,构成犯罪的,依法追究刑事责任。
《汽车行业关注》查看天眼查信息了解,恒大新能源大股东为恒大新能源汽车控股(香港)有限公司,持股为99.4%,而恒大新能源汽车控股(香港)有限公司为港股上市公司恒大汽车的全资附属子公司。也就是说,本次被限制消费的恒大新能源为恒大汽车的三级子公司。

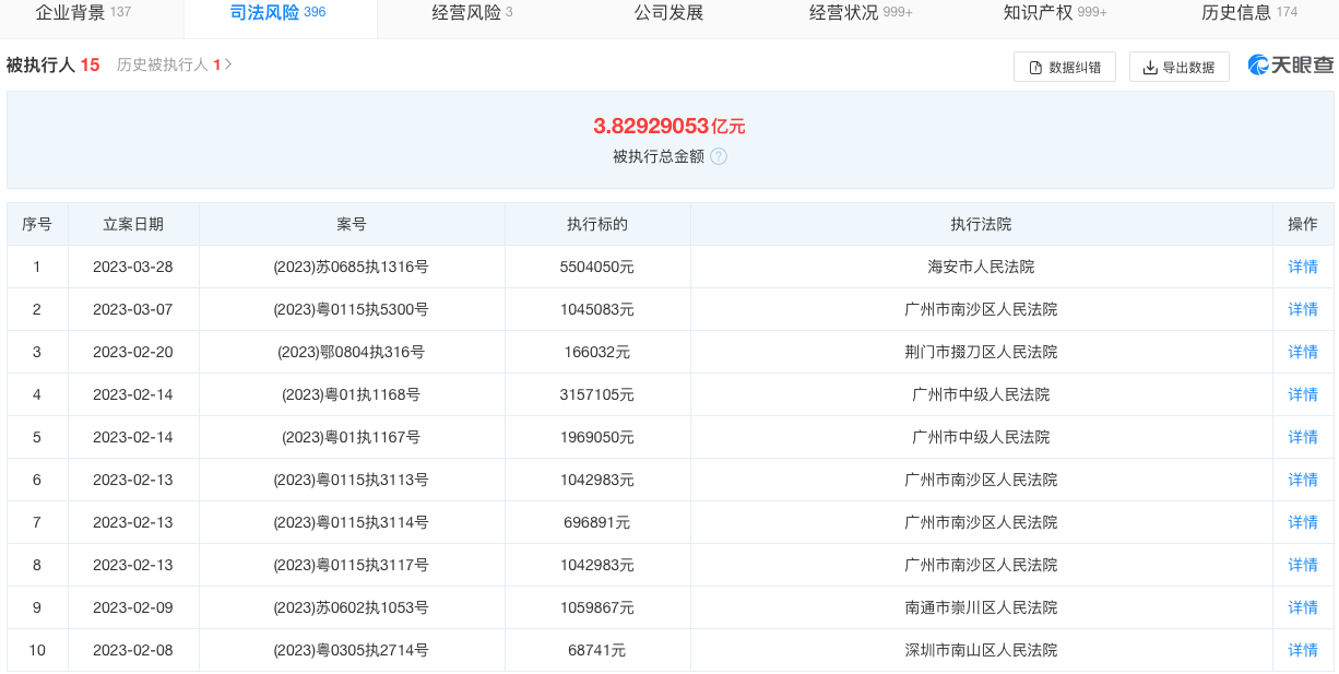
恒大新能源汽车投资控股集团有限公司位于广东省广州市,成立于2019年1月,注册资本为350000万美元,法定代表人为刘俊,是一家以从事汽车制造业为主的企业。天眼查信息显示,截至今日发稿前,该公司司法风险为396起,存在多个股权冻结以及被执行人信息,被执行金额超3.8亿元。详细来看,其中,该公司被执行人为15起,被执行总金额为3.82929053亿元;开庭公告为112起;法律诉讼35起,案件总金额710.46965万元,身份为被告/被上诉人710.46965万元;法院公告3起;限制消费令为1起,为上述事件。


至于恒大新能源子公司恒大新能源汽车(江苏)有限公司则位于江苏省南通市,成立于2019年3月,注册资本为50000万美元,法定代表人为郝新红,是一家以从事研究和试验发展为主的企业。天眼查信息显示,截至今日发稿前,该公司司法风险为104起,其中,被执行人为8起,被执行总金额5874.7771万元;立案信息为5起;终本案件为1起,执行标的总金额1.6241万元,未履行总金额1.6384万元,未履行比例为100%;限制消费令为4起。


截至目前,恒大汽车旗下共布局九款车型,2020年8月3日,恒大汽车一口气发布恒驰1、恒驰2、恒驰3、恒驰4、恒驰5、恒驰6六款全新车型,车型不仅覆盖A到D级车型,还涉及轿车、轿跑、SUV、MPV、跨界车等乘用车车型;2021年2月10日,恒大汽车又进一步发布恒驰7、恒驰8和恒驰9三款车型,至此,恒驰汽车产品矩阵已布局九款车型,作为一家新入局的汽车赛道的品牌,恒大汽车布局产品速度堪称“惊人”,不过目前恒驰品牌仅有一款车型实现量产。

2022年7月6日,恒驰品牌首款车型“恒驰5”正式开启预售,新车仅推出一款车型,豪华版预售价为17.9万元,2022年10月29日正式交付首批100台。新车预售仅15天订单已超3.7万辆,恒驰新能源汽车集团总裁刘永灼还多次为新车造势,表示“恒驰5市场反应非常好,比预期还要好,从目前来看恒驰大卖已成定局。”

回顾恒大汽车造车历程,可以说从出场方式开始,就注定了恒大造车是与众不同的。恒大造车被称“人民币玩家”,“不差钱”,甚至在一辆车都没有的情况下,许家印已经信心满满敲下,未来三-五年内将成为世界上规模最大,实力最强的新能源汽车集团,并宣布“2025年产销100万辆,2035年产销500万辆”的目标。入局造车赛道第二年的11月,许家印意气风发宣布未来投入450亿元投资造车,其中2019年200亿元,2020年150亿元,2021年100亿元,随后的时间里更是直接摆出九款产品,速度堪称“惊人”。
虽然许家印财大气粗,但也同样逃不掉“缺钱”的命运。此前恒大汽车曾表示恒驰5上市后销量未达市场预期,因此恒大汽车不得不开启一系列降本增效,包括减少整体员工数目、安排部分员工休息、部分员工减薪以及裁员等。恒大汽车年报数据显示,2018-2020年期间恒大汽车分别亏损14.29亿元、44.26亿元、73.94亿元, 也就是说,恒大造车三年时间已累计132.49亿元。另据最新财报显示,截至2021年12月31日,恒大汽车总资产为595.21亿元人民币,总负债为588.30亿元人民币,资产负债率达98.84%,几近资不抵债局面。

上月底,恒大汽车发布公告披露截至3月23日已交付超900辆恒驰5,与此同时向外界告知恒大集团在无法获得新增流动性的情况下将面临停产风险。当天恒大在公告中表示,为集中财力支持恒驰5的量产,公司持续推进节约成本举措,主动对集团瑞典附属公司National Electric Vehicle Sweden AB采取减员措施,对员工构架进行优化。截至2023年3月,恒大新能源共有2795名员工,相比之下,截至2022年6月30日员工数为3742名。在无法获得新增流动性的情况下,恒大新能源汽车将面临停产风险,但集团如能在未来寻求超过290亿元的融资,计划推出多款旗舰车型,并有望实现量产,在此计划下,2023年至2026年的累计无杠杆现金流预计将达到人民币负70亿元至人民币负50亿元之间。

简单理解,即如果恒大汽车无法获得新增流动性的情况下将面临停产,而本次事件或也会对后续恒大汽车能否顺利获得新增流动性造车影响。
截至目前,恒大汽车股票停牌已有一年之久,2022年4月恒大汽车股票暂停买卖,截至目前尚未复牌。与此同时,天眼查信息显示,包括恒大新能源汽车投资控股集团有限公司、恒大恒驰新能源汽车(上海)有限公司、恒大风驰动力科技(深圳)有限公司、恒大集团有限公司等多家关联公司被强制执行数亿元。
新车交强险数据显示,自新车上市以来累计交付975辆,其中,2022年交付519辆;2023年前两个月交付456辆。目前恒驰5正处于持续量产中,但从目前恒大汽车的现状来看,恒大汽车后续想要持续正常经营并量产更多新车,意味恒大汽车依然需要大量“输血”,这也意味着如果恒大汽车无法获得新增流动性的情况下将面临停产,至于本次事件是否会对恒大汽车获得新增流动性造成何种影响,目前不清楚。
如系本站原创文章,转载请注明出处:qi-che.com。
更多汽车新闻关注 请扫码qi-che.com公众微信号:

声明:
·凡注明为其他媒体来源的信息,均为转载自其他媒体,转载并不代表本网赞同其观点,也不代表本网对其真实性负责。如系qi-che.com原创文章,转载请注明出处:qi-che.com。
·您若对该稿件内容有任何疑问或质疑,请即与qi-che.com联系,本网将迅速给您回应并做处理。
邮箱mail@qi-che.com
处理时间:周一—周五 9:00—18:00
相关阅读
随着中国汽车市场新车销量持续下滑,传统乘用车(轿车、SUV、MPV)的需求下降,一直被忽视的皮卡车型有望迎来爆发期。6月6日,国家发改委等三部委共同下发《推动重点消费品更新升级畅通资源循环利用实施方案(2019-2020年)》,除逐步取消限购规定促进汽车消费外,皮卡车型的进一步解禁也被纳入改革的重点项目。实施方案中明确表示,鼓励有条件的地级及以下城市加快取消皮卡进城限制,充分发挥皮卡客货两用功能。...
据车质网统计,2019年10月共接到车主有效投诉信息8016宗,环比上涨7.9%,同比上涨28%,今年1-10月累计投诉量已突破70000宗。10月份汽车投诉榜单中,绝大多数车型投诉量环比呈现增长的趋势,法系、日系品牌汽车投诉量较上月有明显的涨幅。投诉量榜单前十中,法系品牌东风标致408再次霸榜。据数据显示,今年10月,东风标致408销量为1222辆,而10月的投诉量则达到了226宗,占销量的18...
买汽车,到集美!2019首届集美汽车购物节现已强势登陆,席卷全城!作为集美区首次举办的汽车消费嘉年华,本届购物节不仅覆盖范围广、优惠力度大、亮点活动多,更有超长购车期限,等你货比三家甄选性能好车!活动期间,集美汽车购物节深入挖消费潜力,通过推出“前往北站汽车城买车,就送千元油卡”等系列活动,将集美汽车购物节打造成厦门具有标志性汽车消费活动。购车送油卡,优惠齐聚集美汽车购物节本届集美汽车购物节集合了...
最新内容
9月12日,智界汽车宣布,鸿蒙智行首款轿跑SUV智界R7预售24小时小订超10000辆。9月10日,智界R7正式开启预售,预售价为26.8万元起。据了解,新车是继智界S7后,华为与奇瑞联合打造的智界品牌旗下第二款车型,定位纯电动中型SUV,也是鸿蒙智行首款轿跑SUV车型,采用纯电动驱动,搭载华为鸿蒙座舱和乾崑智驾ADS3.0,CLTC纯电续航最高802km。外观方面,新车整体延用鸿蒙智行家族化设计...
9月12日,广汽本田宣布,2025款缤智舒享版正式上市,指导价为12.29万元。与2023款车型价格对比,2025款缤智舒享版可视为新增的次低配版本。作为新增车型,新车将在现有版本车型基础上配备更丰富的科技配置和舒适性配置,动力依旧采用1.5L自然吸气发动机+CVT变速箱组合。从配置角度来看,2025款缤智舒享版指导价介于2023款缤智精英版和科技版之间,属于新增的次低配车款。配置差异方面,202...
没想到,帕萨特会因为“云南过桥米线”火了!9月10日晚,全新上汽大众帕萨特Pro380TSI正式上市,指导价格区间为19.99-23.99万元,限时一口价为18.99-22.39万元。在现场,上汽大众号称帕萨特Pro是一款“超聪明的油车”、“智能化超越豪华品牌燃油车,比肩主流新能源”。为了彰显上汽大众联合科大讯飞、百度文心一言大模型为帕萨特Pro智能座舱赋能的效果,上汽大众总经理傅强在发布会现场自...
天眼查信息显示,9月10日,恒大恒驰新能源汽车(上海)有限公司新增一则被执行人信息,执行标的1.4亿余元,执行法院为上海市第一中级人民法院。截至发稿,该公司被执行总金额为11.06亿元。资料显示,恒大恒驰新能源汽车(上海)有限公司成立于2018年5月,曾用名为恒大国能新能源汽车(上海)有限公司,法定代表人为蒋孝军,注册资本30.1亿人民币,实缴资本为25.20亿人民币。股权结构显示,该公司由恒大新...
9月11日,国家市场监督管理总局发布两则宝马汽车召回公告。宝马(中国)汽车贸易有限公司、华晨宝马汽车有限公司及光束汽车有限公司根据《缺陷汽车产品召回管理条例》和《缺陷汽车产品召回管理条例实施办法》的要求,向国家市场监督管理总局备案了召回计划。自即日起,召回以下车辆。(一)宝马(中国)汽车贸易有限公司:生产日期从2023年3月16日至2024年5月15日的部分进口X5M汽车,共计411台;生产日期从...
汽车行业关注是了解中国汽车品牌,汽车经销商的汽车行业资讯传播平台。以全媒体结合的方式为汽车行业传播权威的汽车资讯,助力中国汽车品牌传播不断创新。新车上市汽车大全汽车新闻汽车品牌销量榜以及汽车经销商报价大全。
最新问答 更多
用车养护
汽车行业关注
报导汽车行业资讯,深挖车界猛料
老虎车网
新鲜汽车资讯,实用车主指南
买车顾问
好玩、好看、有用才是我们的基本诉求