《汽车行业关注》从天眼查了解,4月20日和21日,观致汽车有限公司新增多条被执行人信息。其中,4月20日新增3条被执行人信息,执行标的共计为2513.11万元,执行法院为常熟市人民法院;4月21日新增1条被执行人信息,执行标的为1049.15万元,执行法院为咸阳市渭城区人民法院。





需要注意的是,进入2023年以来,观致汽车有限公司被执行人信息一直不断在增加,其中,4月1-21日期间,观致汽车有限公司已新增17条被执行人信息,执行法院包括常熟市人民法院、上海市闵行区人民法院、南京市栖霞区人民法院、天津市津南区人民法院以及咸阳市渭城区人民法院。截至发稿前,观致汽车有限公司被执行人信息为72条,被执行总金额为10.48257969亿元。

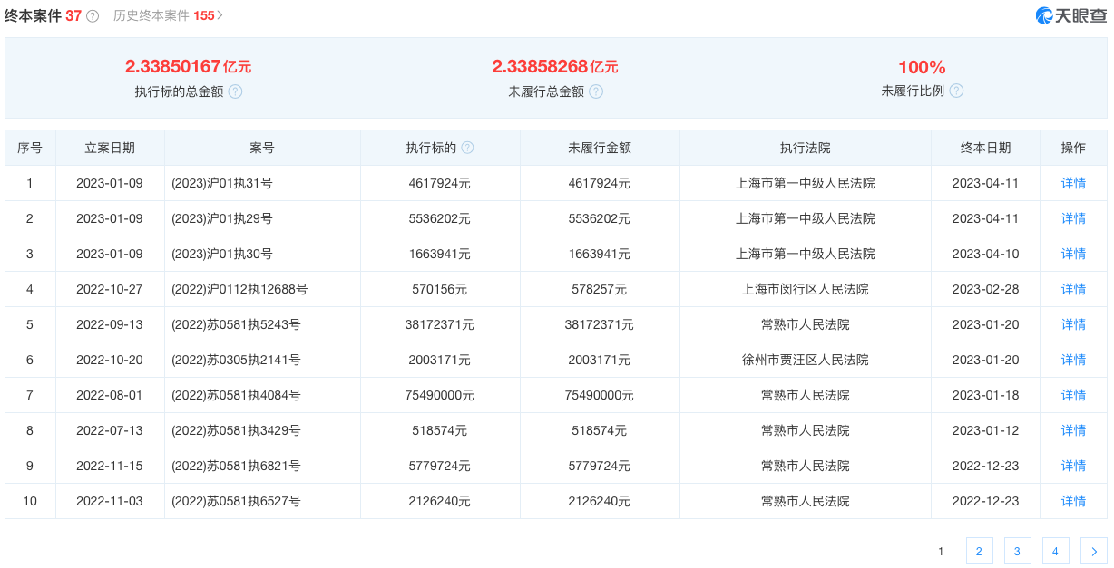
另外,风险信息显示,该公司还存在多起开庭公告、失信被执行人(老赖)、限制消费令及终本案件信息,未履行总金额超2亿。具体来看,该公司开庭公告为88起,开庭日期为4月1日至20日共有12起;法律诉讼256起,案件总金额5.2245474624亿元,身份为原告/上诉人为1225.5064万元,身份为被告/被上诉人为5.1019968224亿元;限制消费令为201起;终本案件37起,执行标的总金额2.33850167亿元,未履行总金额2.33858268亿元,未履行比例100%;失信被执行人为12起,全部未履行数量12起,未履行比例100%。



天眼查信息显示,观致汽车有限公司位于江苏省苏州市,成立于2007年12月,是一家以从事汽车制造业为主的企业,法定代表人为何华,公司注册资本1692548万人民币,实缴资本1692548万人民币,并已于2019年完成了股权转让,交易金额15.6亿人民币。天眼查股权结构图显示,观致汽车有限公司杭州诚茂投资有限公司、芜湖奇瑞汽车投资有限公司和Quantum(2007)LLC三方共同控股,控股比例分别为63%、25%和12%。

作为国内较早定位高端的自主品牌,观致汽车起点并不低,但如今的观致汽车已身处生死存亡的悬崖边上。
实际上,早在2021年,观致汽车便陷入危机境地。当年观致汽车先后被曝出欠薪、停缴社保及公积金等消息,2022年后负面消息更是接连不断,其中包括4月云南省发改委发布公告,因逾期2年未开工建设,移除“昆明宝能新能源汽车零部件生产项目”和“观致汽车有限公司(昆明)分公司建设项目”2个投资项目;随后不到一个月的时间又被拉进“黑名单”,原因是观致汽车总部已人去楼空,为维护消费者权益,山东省汽车流通协会发布公布公告向全省广大消费者发出消费警示:谨慎购买宝能观致品牌汽车;同年11月,一份名为《江苏省常熟市人民法院执行裁定书》显示,常熟市人民法院通过网络执行查控系统向金融机构、网络支付机构、保险机构、证券机构、不动产登记部门、车辆登记部门、市场监督部门发出查询通知,经分析财产查询发现,观致汽车名下存款只有2651.30元,与此同时,观致汽车的不动产以及车辆都已被数十次轮候查封。

进入2023年,观致汽车已几近停摆并且负面消息缠身。3月底,多家媒体报道称,观致汽车生产基地处于歇业状态,该生产基地位于常熟经济技术开发区,而位于上海的研发部门也已撤离,自去年观致汽车被山东省汽车流通协会列入消费黑名单后,目前江苏、浙江、上海、安徽等地已无观致汽车销售点。另外,2022年5月,司法拍卖平台上还出现了多起观致汽车被拍卖相关信息,2022年12月,安徽芜湖经济技术开发区人民法院发布拍卖公告,标的为观致汽车有限公司的汽车生产线设备,起拍价约为1.23亿元,行业认为,观致汽车生产线都被法院拍卖了,距离彻底破产也不远了。此后大量观致7新车出现在司法拍卖平台上等待拍卖,其中来自于山东、浙江、湖北、河南、重庆等地区的查封车。

回顾观致汽车过往的发展历程,可谓命运多舛。观致汽车最早起于奇瑞,2007年奇瑞汽车与以色列集团共同创立奇瑞量子汽车有限公司,2011年观致汽车品牌创立,并被奇瑞寄予厚望,承载了奇瑞高端化的愿景,奇瑞汽车董事长尹同跃曾表示,“奥迪是观致汽车的偶像,观致汽车要做中国的现代。”
彼时观致汽车首款车型竞争对手瞄准了大众速腾,而在2014年-2016年期间,观致汽车也先后推出观致3五门版、观致3都市SUV、观致5 SUV及观致3 GT共计4款车型,但由于观致汽车市场销量表现惨淡并且不断亏损,数据显示,2014年-2016年,观致销量分别为6867辆、14001辆和24188辆,分别净亏损22亿元、25亿元和19亿元,三年累计亏损超60亿元,尽管奇瑞汽车多次对观致汽车管理层进行调整,但未取得实质性的效果,无奈之下,最终奇瑞汽车将观致汽车甩卖给了宝能汽车。

2017年“财大气粗”的宝能集团通过收购股权成为了观致汽车的控股股东,而观致汽车也迎来新“曙光”,彼时宝能集团甚至请来了前日产-雷诺联盟全球新能源总监矢岛和男担任CEO,前日产-雷诺联盟车辆互联互通技术全球总监长原巨树、前英菲尼迪全车系开发总负责人平井敏郎、前日产专家刘强,分别担任观致COO、观致CO-CTO以及副总裁的职务,宝能集团掌门人姚振华还大张旗鼓高调宣布重金投资观致汽车,拿出500亿元用于观致汽车新产品研发,并在2022年推出26款新车型。
在宝能一系列助力下,2018年这一年观致汽车销量冲上了6.32万辆,同比增长320%,其中单月销量最高增幅达400%,是由于销量数据背后是来自于宝能集团旗下联动云的B端采购,因此次年开始,观致汽车的销量又迅速出现下跌。
2019年销量仅2.27万辆,同比下滑63.4%。到了2020年,观致汽车发布观致7新车,但同样未能扭转颓局,当年销量再次跌至1.31万辆。2021年观致汽车面临内部员工流失、外部供应商和经销商维权、销售失利等诸多因素影响下,其销量再度腰斩,2021年观致汽车销量仅5200辆,平均月销不足450辆。

到了2022年则如上述提及的,观致汽车一度深陷负面缠身局面。《汽车行业关注》从天眼查了解,观致汽车有限公司历史被执行人信息中共有278条,其中大多数集中在2021年和2022年。另外,《汽车行业关注》翻阅观致汽车官方微博和官方微信公众号发现,观致汽车微博最新更新时间停留在2022年11月25日;微信公众号最后一则消息于上月20日更新,而上一条消息更新时间为2022年9月29日,也就是说,这是时隔171天后观致汽车微信公众号才有所更新,但也仅更新了一条。


昔日一度风光无限的观致汽车,如今已是“一地鸡毛”,而观致汽车的“大金主”宝能汽车处境也是面临相同的处境,深圳市银通前海金融资产交易中心在其官网发布了两则与宝能相关的债权招商公告,内容涉及宝能旗下多处资产将被处置,分别为宝能地产委托贷款债权和宝能汽车信托贷款债权,包括深圳龙岗宝能科技园等多个抵押物和质押物,涉及债权超76亿元。截至发稿前,宝能汽车集团历史被执行人为56起,被执行总金额为52.52234674亿元。
当下汽车市场竞争激烈,行业已进入优胜劣汰环节,未来,观致汽车是否会完全退出历史舞台,我们无从所知,但在被执行人信息不断增多、产线被拍卖以及官司缠身等负面消息下,观致汽车想要东山再起,无疑是难上加难。
如系本站原创文章,转载请注明出处:qi-che.com。
更多汽车新闻关注 请扫码qi-che.com公众微信号:

声明:
·凡注明为其他媒体来源的信息,均为转载自其他媒体,转载并不代表本网赞同其观点,也不代表本网对其真实性负责。如系qi-che.com原创文章,转载请注明出处:qi-che.com。
·您若对该稿件内容有任何疑问或质疑,请即与qi-che.com联系,本网将迅速给您回应并做处理。
邮箱mail@qi-che.com
处理时间:周一—周五 9:00—18:00
相关阅读
随着中国汽车市场新车销量持续下滑,传统乘用车(轿车、SUV、MPV)的需求下降,一直被忽视的皮卡车型有望迎来爆发期。6月6日,国家发改委等三部委共同下发《推动重点消费品更新升级畅通资源循环利用实施方案(2019-2020年)》,除逐步取消限购规定促进汽车消费外,皮卡车型的进一步解禁也被纳入改革的重点项目。实施方案中明确表示,鼓励有条件的地级及以下城市加快取消皮卡进城限制,充分发挥皮卡客货两用功能。...
日前网上盛传一封河北省保定市博野县检测站的通知书,内容提到:接县政府办公室通知,9月23日开始所有年检车辆必须安装ETC,未安装ETC的车辆不予年检,安装ETC后再办理年检业务。针对此消息,博野县官方回应了。微信公众号“博野快讯”发文称,县政府办公室从未发布过任何关于强制安装ETC的通知。不安装ETC设备不影响车辆进行年检,车辆办理ETC设备由广大车主、群众积极参与,自愿选择。此外,相关情况经过调...
今年以来,一直在新能源汽车领域动作频频的恒大,近日又因大规模、高标准的人才招募再度引得市场关注。9月9日,恒大新能源汽车全球研究总院启动全球招聘,计划招聘8000名新能源汽车产业世界顶级专家和技术精英,工作地点遍布中国、瑞典、德国、英国、荷兰、奥地利、意大利、日本、韩国等九个国家。造车狂人恒大“逆势揽才”今年的汽车行业可谓是日渐趋寒,无论是传统汽车业的领头羊如福特、通用、大众等车企动辄上千人的裁员...
最新内容
7月19日晚间,蔚来法务部官方发布《关于网络恶意造谣信息的严正声明》。蔚来法务部表示,近日,部分网络账号恶意发布针对蔚来及员工的不实信息,蓄意捏造并散布“乐道汽车员工参与操纵黑公关”、“雇佣水军攻击友商”等虚假内容。针对这些虚假内容,蔚来法务部指出,此类言论严重违背事实,纯属对乐道汽车及蔚来员工的恶意污蔑与诽谤。蔚来法务部已关注到包括“阿文鉴机”等在内的网络账号在未确定内容真实性的情况下进行转发和...
今日起,新超豪华小汽车消费税政策执行,超豪华小汽车的消费税起征点由此前的130万元调低至90万元,新政策也代表着征税范围进一步扩大,更多的豪华车型被列入征税范围。7月17日,财政部、国家税务总局发布公告称,为进一步引导合理消费,调整超豪华小汽车消费税政策,新规自7月20日起执行。公告中提到,超豪华小汽车征收范围调整为“每辆零售价格90万元(不含增值税)及以上的各种动力类型(含纯电动、燃料电池等动力...
今日,极氪官方微博发文,针对近日网传关于“0公里二手车”相关不实报道进行回应。官方表示,经调查网络上报道中涉及的车辆均为可正常销售的展车。为确保展示期间的安全,展车虽已投保交强险,但从未开具零售发票,也未在任何车管所进行新车注册登记或上牌,其法律属性始终属于未注册的全新商品车。同时还指出展车一般存在3-5个月的库龄,因此会根据商品车的展示历史或库龄时间进行折扣明示销售。购买的消费者,同样享有新车首...
在工信部官网公布的最新一期新车申报目录上,《汽车行业关注》查询到奇瑞风云系列全新车型——奇瑞风云T8L申报图已出现在申报目录上。作为奇瑞风云系列全新车型,从申报图来看,新车采用全新设计语言,前脸采用时下流行的封闭式格栅搭配贯穿式大灯组造型设计,视觉效果上非常修长,更像是一款新能源汽车。前包围两侧配有通风口,进一步增强车辆的运动感。车身侧面,新车线条流畅,给人大气沉稳的感觉,配备半隐藏式门把手、多辐...
7月20日,一汽奥迪A5L正式公布先享礼遇价。新车共推出运动版Plus、运动版quattro、领航版3款车型,先享价遇价分别为25.68万元、28.98万元、28.98万元。据了解,一汽奥迪A5L是奥迪全新PPC豪华燃油智能平台首款车型,也是现款奥迪A4L的换代车型,新车依据中国市场需求进行全方位升级,成为一汽奥迪首款搭载华为智驾的车型,新车上市后将与现款奥迪A4L同堂销售。作为参考,2025款奥...
汽车行业关注是了解中国汽车品牌,汽车经销商的汽车行业资讯传播平台。以全媒体结合的方式为汽车行业传播权威的汽车资讯,助力中国汽车品牌传播不断创新。新车上市汽车大全汽车新闻汽车品牌销量榜以及汽车经销商报价大全。
最新问答 更多
用车养护
汽车行业关注
报导汽车行业资讯,深挖车界猛料
老虎车网
新鲜汽车资讯,实用车主指南
买车顾问
好玩、好看、有用才是我们的基本诉求