5月5日,《汽车行业关注》从天眼查了解,雷丁汽车集团有限公司新增一则“破产重整”信息,案号为(2023) 鲁0725破申1号,案件类型为“破产审查案件”,申请人和被申请人均为雷丁汽车集团有限公司,经办法院为山东省潍坊市昌乐县人民法院。


针对上述消息,雷丁汽车相关人士向媒体表示:“目前没有回应。”有媒体联系雷丁汽车创始人李国欣以进一步求证,但电话提示音为“您拨打的用户暂时无法接通”。
所谓“破产审查案件”是指审查申请破产的企业是否具有破产资格,《破产法》规定,企业法人不能清偿到期债务,债务人不能清偿到期债务,债权人可以向人民法院提出对债务人进行重整或者破产清算的申请,企业出现不能清偿到期债务时,其债权人有权向法院提出重整或破产清算的申请。
天眼查信息显示,雷丁汽车集团有限公司位于山东省潍坊市,成立于2012年10月,法定代表人为王德金,注册资本和实缴资本均为10000万人民币,是一家以从事汽车制造业为主的企业,由比德文控股集团有限公司100%控股。天眼查显示,李国欣为雷丁汽车集团有限公司的发起人,于2020年12月卸任比德文控股集团有限公司法人、执行董事、总经理等职位。

《汽车行业关注》在查看“雷丁汽车”背景资料时发现,雷丁汽车近一年频繁身陷诉讼官司,目前司法风险累计822条。其中,历史开庭公告为171条,开庭日期为2023年5月1日至30日的公告共计21条,被告包括雷丁汽车集团有限公司和比德文控股集团有限公司等,案由多为买卖合同纠纷。天眼查司法解析显示,雷丁汽车涉及的381起司法解析中,雷丁汽车为被告方的占比达81.9%;案由涉及165起买卖合同纠纷。


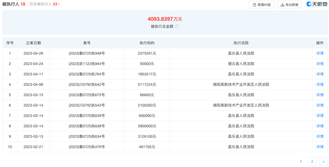
另外,该公司法律诉讼为190条,案件总金额为2.0621092026亿元,身份为原告/上诉人为12.96783万元,身份为被告/被上诉人为2.0608124196亿元;限制消费令为9条;立案信息3起;终本案件4条,执行标的总金额658.1055万元,未履行总金额657.7249万元,未履行比例99.9%;被执行人18起,被执行总金额为4093.8397万元。


需要注意的是,雷丁汽车母公司比德文控股集团有限公司也存在多条诉讼,其中,开庭公告27起,开庭日期为2023年5月1日至30日期间的官司共计10条,案由包括民间借贷纠纷、买卖合同纠纷、运输合同纠纷、定作合同纠纷,法律诉讼44起,案件总金额1.746432321亿元,身份为原告/上诉人11.119万元,身份为被告/被上诉人1.745320421亿元;限制消费令1起;被执行人1起,被执行总金额38.3448万元。


今年2月,一份由雷丁汽车经销商集体签字盖章的《江苏经销商给雷丁省市联合调查组的公开信》(下称“公开信”)在雷丁汽车经销商群体中流传开,《公开信》列举了雷丁汽车在运营过程中出现的诸多不合理操作,最终导致经销商损失上百万元。雷丁汽车经销商们认为,“雷丁公司从一开始就是一个诈骗为目的的公司,所经营的每一步都是精心策划的骗局。”经销商们表示,“经销商是雷丁骗局的受害者,江苏经销商请求联合调查组严查此事,给他们一个交代。”不过当时雷丁汽车并没有作出回应。

雷丁汽车是国内一家高端自主研发电动汽车品牌,于2008年进入汽车制造行业,最初主要经营俗称“老头乐”的低速电动车,并且一度风光无限。数据显示,2016年至2018年雷丁汽车销量分别达15万、21万和28.7万辆,连续三年蝉联低速电动车销量冠军,市场占有率超30%,2018年营收达120亿元。2018年11月,工信部等六部委联合发布《关于加强低速电动车管理的通知》,明确严禁新增低速电动车产能,自此,低速电动车开始退出市场,雷丁汽车则纵身跃入新能源汽车市场。
2018年4月,雷丁汽车通过收购陕西秦星汽车有限公司获得新能源商用车和特种车生产资质,随即大手笔投资200亿元,在咸阳建立雷丁秦星生产基地。

2019年1月,雷丁汽车耗资14.5亿元拿下四川野马汽车股份有限公司(下称“野马汽车”),一举获得新能源汽车、传统油乘用车、客车的生产资质。天眼查信息显示,野马汽车分别由雷丁汽车集团有限公司和比德文控股集团有限公司共同持股,其中雷丁汽车为大股东,持股比例为99.54%。

通过上述前后两次收购,雷丁汽车造车生产资质得以解决。2019年雷丁汽车一口气推出3款i系列纯电动车,分别包括i3、i5和i9,售价区间分别为4.98万、7.58万和11.58万,续航里程分别为100km/160km、225km、400km/470km,遗憾的是,由于缺乏竞争力等,3款车上市后均未能在车市激起浪花。
此后雷丁汽车再次推出新车,但新车的定位已变更为微型车,主攻A00级纯电微型车市场,这也成为了雷丁汽车全新转折点。2021年4月,雷丁首款五门四座的纯电动微型车“雷丁芒果”在昌乐下线,随后5月上市,售价区间为2.98-5.49万元,主要与宏光MINIEV、奇瑞QQ冰淇淋等车型竞争。同年12月,雷丁芒果系列第二款车型芒果Pro下线,并于次年3月上市,该车售价区间为3.98-5.69万元,共提供130km、200km两种续航里程,主要与宏光MINIEV马卡龙版竞争。

凭借高性价比优势,芒果系列上市后深受市场青睐,创下单月销量6056辆佳绩,这一年累计斩获3万辆订单,乘联会零售数据显示,2021年雷丁芒果销量为30467辆,成功挤进新能源轿车榜单前十五。与此同时,雷丁汽车还敲下宏大的销量目标——2025年实现200万辆销量。然而,雷丁汽车的好日子并不长久。
自2022年起,雷丁汽车频繁被曝出负面消息。其中,5月,雷丁汽车内部中高层开始申请主动降薪,中层干部降薪比例在50%,副部长和部长级降薪比例为60%,以度过危机。9月,雷丁汽车疑似停产的消息被曝出,上下游都在针对雷丁汽车发起“追债”。10月,雷丁汽车因未按时履行法律义务,被多个法院列为被执行人。12月,雷丁汽车宣布完成A轮融资,金额为32亿元,但拖欠经销商货款以及涉及相关法律诉讼也愈演愈烈。媒体报道称,雷丁汽车甚至被曝出拖欠经销商货款发不出车,更有经销商在网上寻求帮助,一个经销商群聊中,一份《雷丁拖欠全国经销商车款统计》表格显示,登记的30余位经销商累积欠款超过2000万元。但雷丁汽车向媒体回应称:“今年资金和产能都比较紧张,所以交付的车只能保证重点市场和重点区域,的确给一些经销商伙伴造成了影响。为尽快拿到车,一些经销商只能选择继续相信雷丁,多名经销商向媒体透露,在经销商打款雷丁不发车也不退款的情况下,厂家依然要求经销商继续打款,只有继续打款才会发车。

目前雷丁汽车旗下产品包括雷丁芒果、雷丁芒果Pro、雷丁芒果Max等车型,新车交强险数据显示,2022年雷丁汽车累计销量为7042辆,同比下滑47.29%,市占率仅0.13%。其中,雷丁芒果销量为7024辆,雷丁i3为16辆。


截至发稿前,雷丁汽车官方微信公众号最后一则更新停留在今年3月8日,官方微博则停留在今年1月14日。
如系本站原创文章,转载请注明出处:qi-che.com。
更多汽车新闻关注 请扫码qi-che.com公众微信号:

声明:
·凡注明为其他媒体来源的信息,均为转载自其他媒体,转载并不代表本网赞同其观点,也不代表本网对其真实性负责。如系qi-che.com原创文章,转载请注明出处:qi-che.com。
·您若对该稿件内容有任何疑问或质疑,请即与qi-che.com联系,本网将迅速给您回应并做处理。
邮箱mail@qi-che.com
处理时间:周一—周五 9:00—18:00
相关阅读
随着中国汽车市场新车销量持续下滑,传统乘用车(轿车、SUV、MPV)的需求下降,一直被忽视的皮卡车型有望迎来爆发期。6月6日,国家发改委等三部委共同下发《推动重点消费品更新升级畅通资源循环利用实施方案(2019-2020年)》,除逐步取消限购规定促进汽车消费外,皮卡车型的进一步解禁也被纳入改革的重点项目。实施方案中明确表示,鼓励有条件的地级及以下城市加快取消皮卡进城限制,充分发挥皮卡客货两用功能。...
日前网上盛传一封河北省保定市博野县检测站的通知书,内容提到:接县政府办公室通知,9月23日开始所有年检车辆必须安装ETC,未安装ETC的车辆不予年检,安装ETC后再办理年检业务。针对此消息,博野县官方回应了。微信公众号“博野快讯”发文称,县政府办公室从未发布过任何关于强制安装ETC的通知。不安装ETC设备不影响车辆进行年检,车辆办理ETC设备由广大车主、群众积极参与,自愿选择。此外,相关情况经过调...
今年以来,一直在新能源汽车领域动作频频的恒大,近日又因大规模、高标准的人才招募再度引得市场关注。9月9日,恒大新能源汽车全球研究总院启动全球招聘,计划招聘8000名新能源汽车产业世界顶级专家和技术精英,工作地点遍布中国、瑞典、德国、英国、荷兰、奥地利、意大利、日本、韩国等九个国家。造车狂人恒大“逆势揽才”今年的汽车行业可谓是日渐趋寒,无论是传统汽车业的领头羊如福特、通用、大众等车企动辄上千人的裁员...
最新内容
3月20日,日产(中国)投资有限公司宣布中国区高级管理层调整。日产(中国)表示,原日产(中国)投资有限公司总经理高级顾问刘新宇,将担任日产(中国)投资有限公司总经理,直接汇报给日产全球执委会委员兼中国区主席、东风汽车有限公司总裁马智欣(StephenMa),该任命自2026年4月1日起正式生效。这项任命生效后,刘新宇将成为日产中国首位中国籍总经理,而在此之前的总经理均为外籍。而原日产(中国)投资有...
3月20日,吉利银河官宣,吉利银河首款AI全地形硬核SUV正式定名为——吉利银河战舰700。据了解,这一命名采用“用户共创”方式,源自全球用户征名活动。3月16日,吉利银河公开首款科技硬核SUV全球征名TOP10高频词,包括战舰、卫士、磐石、星际、浩瀚、安全、方舟、护卫者、征途、S900,最终确定新车定名为吉利银河战舰700。作为吉利首款AI全地形硬核SUV,新车吉利原生新能源越野架构打造,搭载了...
3月18日,众泰汽车股份有限公司(下称“众泰汽车”)发布关于全资子公司浙江深康汽车车身模具有限公司复工复产的公告。公告内容显示,众泰汽车的全资子公司浙江深康汽车车身模具有限公司(下称“深康车身”)于3月18日举行了复工复产暨启动仪式,深康车身正式恢复生产经营。众泰汽车是一家以汽车整车研发、制造及销售为核心业务的汽车整车制造企业,早年凭借模仿知名品牌车型的外观设计以及亲民的售价火速打开市场,但也因过...
3月18日,新款极狐阿尔法S5正式上市,新车共推出7款车型,补贴价区间为9.98-16.98万元,其中增程版售价9.98-11.98万元,纯电版售价11.18-16.88万元。新款极狐阿尔法S5在现有纯电版本的基础上增加了增程动力系统,满足更多用户的选择需求。作为年度改款车型,新款极狐阿尔法S5整体外观保持不变,主要针对细节进行调整,较新款车型相比更加时尚。新车继续采用封闭式前格栅,前包围有所变化...
3月19日,岚图汽车科技股份有限公司(下称“岚图汽车(”)正式以介绍上市的方式登录港股,股票代码07489.HK,成为“央国企高端新能源第一股”。此次上市采用“私有化+分拆”模式,母公司东风集团股份从港交所退市,实现100%国有控股,岚图作为独立平台获得独立估值和融资渠道。岚图汽车的上市,其实是东风汽车集团整体战略布局中的关键一环。一直以来,东风汽车集团在传统燃油车领域有着深厚的积淀,但在新能源汽...
汽车行业关注是了解中国汽车品牌,汽车经销商的汽车行业资讯传播平台。以全媒体结合的方式为汽车行业传播权威的汽车资讯,助力中国汽车品牌传播不断创新。新车上市汽车大全汽车新闻汽车品牌销量榜以及汽车经销商报价大全。
最新问答 更多
用车养护
汽车行业关注
报导汽车行业资讯,深挖车界猛料
老虎车网
新鲜汽车资讯,实用车主指南
买车顾问
好玩、好看、有用才是我们的基本诉求