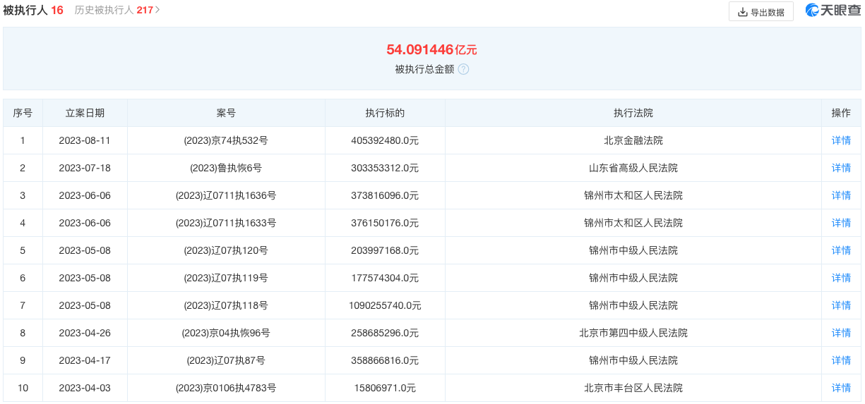
《汽车行业关注》从天眼查了解,华泰汽车集团有限公司(下称“华泰汽车”)新增一则被执行人信息,执行标的4亿余元,涉及公司债券回购合同纠纷案件,执行法院为北京金融法院,案号为(2023)京74执532号,立案时间为2023年8月11日。

天眼查信息显示,华泰汽车集团有限公司成立于2008年5月,曾用名为华泰汽车有限公司,注册资本3亿元,法定代表人为苗小龙,是一家以从事汽车制造业为主的企业。股权信息显示,该公司由张秀根和张秀根共同持股,其中张秀根持股比例为99%。

截至发稿前,华泰汽车公司存在多条被执行人信息、限制消费令以及失信被执行人和终本案件信息。其中,累计被执行总金额已超54亿;限制消费令为135条;终本案件为10条,执行标的总金额为29.80312401亿元,未履行总金额为29.21281126亿元,未履行比例为98%;失信被执行人为23条,未履行比例为100%。

作为以新能源汽车、传统汽车以及汽车零部件为主营业务的自主品牌车企,华泰汽车也曾风光无限。2000年张秀根从一汽集团手中收购山东荣成汽车厂,后更名为荣成华泰汽车股份有限公司,此后开始大举进军汽车行业并开启自主造车路。五年后,华泰汽车与韩国现代汽车签署协议获得“圣达菲”国产资格,站在现代汽车的肩膀上,华泰汽车迅速在车圈走红。

数据显示,2015-2016年,华泰汽车销量分别为7.12万辆和7.30万辆,到了2017年销量暴涨81.64%至13.26万辆。销量的暴涨令华泰汽车信心十足,当年车展上,华泰汽车立下2018年销量达20万辆,2020年超50万辆的远大目标,并公布未来三年内推出近30款新车。
然而,没过多久,华泰汽车就被曝销量数据存疑。2018年1月,华泰汽车公布销量为1316辆,但2017年12月销量却是2.1万辆,前后相差巨大。而2018年这一年,华泰汽车销量为12.07万辆,同比下滑9.0%,与20万辆目标相差甚远。
到了2019年,华泰汽车开始深陷经营危机,其位于天津、山东、内蒙古和辽宁四座整车制造基地均已停产,拖欠员工薪资的同时还面临上百起诉讼案件,负债率极高,在国内汽车市场已经名存实亡。

今年3月,ST曙光发布公告,于2023年3月21日收到辽宁省锦州市中级人民法院执行裁定书,公司控股股东华泰汽车集团有限公司持有公司的9789.50万股无限售流通股股票(占公司总股份的14.49%)将被拍卖,以清偿债务。公开信息显示,2016年华泰汽车有息债务为262亿元,到2018年华泰汽车陷入诉讼泥沼,法人多次被列入“限制消费人员”名单,华泰汽车及多家子公司被纳入被执行人和失信被执行人。

7月5日,ST曙光披露的权益变动提示公告显示,因司法拍卖划转过户,华泰汽车对ST曙光的持股比例降至5.28%,失去控股股东地位。如今的华泰汽车已成了一具空壳,工厂停工停产,S店也关门歇业,甚至不见踪影,而随着车市竞争愈发激烈,华泰东山再起的可能性也越来越渺茫。
如系本站原创文章,转载请注明出处:qi-che.com。
更多汽车新闻关注 请扫码qi-che.com公众微信号:

声明:
·凡注明为其他媒体来源的信息,均为转载自其他媒体,转载并不代表本网赞同其观点,也不代表本网对其真实性负责。如系qi-che.com原创文章,转载请注明出处:qi-che.com。
·您若对该稿件内容有任何疑问或质疑,请即与qi-che.com联系,本网将迅速给您回应并做处理。
邮箱mail@qi-che.com
处理时间:周一—周五 9:00—18:00
相关阅读
随着中国汽车市场新车销量持续下滑,传统乘用车(轿车、SUV、MPV)的需求下降,一直被忽视的皮卡车型有望迎来爆发期。6月6日,国家发改委等三部委共同下发《推动重点消费品更新升级畅通资源循环利用实施方案(2019-2020年)》,除逐步取消限购规定促进汽车消费外,皮卡车型的进一步解禁也被纳入改革的重点项目。实施方案中明确表示,鼓励有条件的地级及以下城市加快取消皮卡进城限制,充分发挥皮卡客货两用功能。...
日前网上盛传一封河北省保定市博野县检测站的通知书,内容提到:接县政府办公室通知,9月23日开始所有年检车辆必须安装ETC,未安装ETC的车辆不予年检,安装ETC后再办理年检业务。针对此消息,博野县官方回应了。微信公众号“博野快讯”发文称,县政府办公室从未发布过任何关于强制安装ETC的通知。不安装ETC设备不影响车辆进行年检,车辆办理ETC设备由广大车主、群众积极参与,自愿选择。此外,相关情况经过调...
今年以来,一直在新能源汽车领域动作频频的恒大,近日又因大规模、高标准的人才招募再度引得市场关注。9月9日,恒大新能源汽车全球研究总院启动全球招聘,计划招聘8000名新能源汽车产业世界顶级专家和技术精英,工作地点遍布中国、瑞典、德国、英国、荷兰、奥地利、意大利、日本、韩国等九个国家。造车狂人恒大“逆势揽才”今年的汽车行业可谓是日渐趋寒,无论是传统汽车业的领头羊如福特、通用、大众等车企动辄上千人的裁员...
最新内容
3月20日,沃尔沃汽车旗下全新纯电小型SUV——新款沃尔沃EX30正式上市。据了解,新车取消了老款后驱Core和后驱长续航版Plus,新增后驱Plus车型。具体来看,新车推出后驱Plus、后驱长续航版Ultra、双电机四驱高性能版Ultra共3款车型,限时参考尊享价分别为15.98万元、18.98万元、20.98万元。作为新款车型,新车外观基本沿用现款车型设计风格,主要针对配置进行优化升级,其中后...
3月20日,阿维塔旗下新款阿维塔12正式开启预售。新车共推出7款车型,预售价为29.99-43.99万元。其中,增程版车型售价为29.99-31.99万元;纯电版车型售价为30.99-43.99万元。阿维塔12是阿维塔旗下第二款车型,于2023年11月上市。本次新车为新款车型,外观设计变化并不是很大,主要对配置和动力进行升级,搭载太行智控2.0技术和华为乾崑新一代双光路图像级激光雷达,并对门把手、...
3月20日,北京汽车股份有限公司(下称“北京汽车”)发布公告:由于工作变动,王昊将不再担任董事长、执行董事、董事会战略与可持续发展委员会主任及董事会提名委员会主任,朱雁将不再担任执行董事及战略与可持续发展委员会成员,孙力将不再担任非执行董事及战略与可持续发展委员会成员。上述变动均自新董事委任获批准之日起生效。同时,北京汽车董事会建议委任张国富为非执行董事。如股东会批准张国富任非执行董事,则进一步提...
3月20日,日产(中国)投资有限公司宣布中国区高级管理层调整。日产(中国)表示,原日产(中国)投资有限公司总经理高级顾问刘新宇,将担任日产(中国)投资有限公司总经理,直接汇报给日产全球执委会委员兼中国区主席、东风汽车有限公司总裁马智欣(StephenMa),该任命自2026年4月1日起正式生效。这项任命生效后,刘新宇将成为日产中国首位中国籍总经理,而在此之前的总经理均为外籍。而原日产(中国)投资有...
3月20日,吉利银河官宣,吉利银河首款AI全地形硬核SUV正式定名为——吉利银河战舰700。据了解,这一命名采用“用户共创”方式,源自全球用户征名活动。3月16日,吉利银河公开首款科技硬核SUV全球征名TOP10高频词,包括战舰、卫士、磐石、星际、浩瀚、安全、方舟、护卫者、征途、S900,最终确定新车定名为吉利银河战舰700。作为吉利首款AI全地形硬核SUV,新车吉利原生新能源越野架构打造,最大的...
汽车行业关注是了解中国汽车品牌,汽车经销商的汽车行业资讯传播平台。以全媒体结合的方式为汽车行业传播权威的汽车资讯,助力中国汽车品牌传播不断创新。新车上市汽车大全汽车新闻汽车品牌销量榜以及汽车经销商报价大全。
最新问答 更多
用车养护
汽车行业关注
报导汽车行业资讯,深挖车界猛料
老虎车网
新鲜汽车资讯,实用车主指南
买车顾问
好玩、好看、有用才是我们的基本诉求