据全国企业破产重整案件信息网显示,8月28日,鄂尔多斯市华泰汽车车身有限公司新增一则“破产重整”信息,案号为(2023)内06破申19号,案件类型为“破产审查案件”,申请人为天津市久跃科技有限公司,经办法院为内蒙古自治区鄂尔多斯市中级人民法院。
资料显示,鄂尔多斯市华泰汽车车身有限公司成立于2006年12月,曾用名为鄂尔多斯市恒泰汽车零配件有限责任公司,注册资本5.5亿人民币,法定代表人为苗小龙,是一家以从事汽车制造业为主的企业。股权信息显示,该公司由深圳市炫鑫通电子有限公司和华泰汽车集团有限公司共同持股,持股比例分别为51%和49%。也就是说,本次被申请破产审查的公司是华泰汽车的持股公司。

天眼查风险信息显示,鄂尔多斯市华泰汽车车身有限公司目前存在多条被执行人,被执行总金额为34.43217203亿元,其中本于15日执行标的334222368.0元,执行法院为鄂尔多斯市中级人民法院;终本案件10条执行标的总金额1.99543146亿元,未履行比例为97.5%,其中立案日期大部分为2022年。另外该公司还存在95条限制消费令;3条失信被执行人信息。
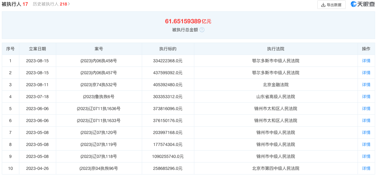
而华泰汽车集团有限公司(下称“华泰汽车”)同样存在多条风险信息,包括被执行人信息、限制消费令以及失信被执行人和终本案件信息,其中,累计被执行总金额已超61亿,8月15日新增两则被执行人信息,执行标的分别为4.4亿元和3.3亿元。限制消费令为136条;终本案件为11条,执行标的总金额为29.96119372亿元,未履行总金额为29.37088097亿元,未履行比例为98%;失信被执行人为23条,未履行比例为100%。

华泰汽车,如果不是汽车业内人士或许会对其感到陌生,因为如今华泰汽车这个名字几乎已从汽车圈销声匿迹了。公开信息显示,华泰汽车集团股份有限公司(下称“华泰汽车”)成立于2008年5月,注册及实缴资本3亿元人民币,法定代表人苗小龙,曾用名华泰汽车有限公司。股权信息显示,该公司由张秀根和苗小龙共同持股,其中张秀根持99%的股权,苗小龙仅持股1%。

当然,作为以新能源汽车、传统汽车以及汽车零部件为主营业务的自主品牌车企,华泰汽车也曾风光无限。上世纪80年代初,张秀根从部队退伍随后开启了自己的创业之路,此后进入了汽车圈,彼时,张秀根还不是华泰汽车董事长。2000年张秀根从一汽集团手中收购山东荣成汽车厂,后更名为荣成华泰汽车股份有限公司,此后大举进军汽车行业并开启自主造车路。五年后,华泰汽车与韩国现代汽车签署协议获得“圣达菲”国产资格,并引入多款SUV车型,站在现代汽车的肩膀上,华泰汽车迅速在车圈走红步入巅峰。

数据显示,2012年-2016年,华泰汽车销量仅有几万辆左右,其中2015年和2016年销量分别为7.12万辆和7.30万辆,到了2017年销量则暴涨81.64%至13.26万辆,当年也是国内汽车产销量最大的一年,分别达到2901万辆和2887万辆。销量的暴涨令华泰汽车信心十足,当年车展上,华泰汽车立下2018年销量达20万辆,2020年超50万辆的远大目标,并公布未来三年内推出近30款新车。然而,没过多久,华泰汽车就被曝销量数据存疑。2018年1月,华泰汽车公布销量为1316辆,但2017年12月销量却是2.1万辆,前后相差巨大。而2018年这一年,华泰汽车跌至8.6万辆,与20万辆目标相差甚远。

公开信息显示,2016年华泰汽车有息债务为262亿元,到2018年华泰汽车陷入诉讼泥沼,法人多次被列入“限制消费人员”名单,华泰汽车及多家子公司被纳入被执行人和失信被执行人。到了2019年10月,市场流传华泰汽车可能破产,影响到上下游众多贷款,但华泰汽车随即发出声明表示:网曝信息内容恶意捏造,完全虚假,受汽车行业持续下行影响,华泰汽车的经营受到波及,公司正在积极采取措施降低风险发生。但没多久,华泰汽车开始深陷经营危机,其位于天津、山东、内蒙古和辽宁四座整车制造基地均已停产,拖欠员工薪资的同时还面临上百起诉讼案件,负债率极高,在国内汽车市场已经名存实亡。


2021年,华泰汽车因无法偿还债务两次被申请破产重整,不过最后申请人都进行了撤回。2022年9月,ST曙光发布公告,经与控股股东华泰汽车核实,在2022年7月5日,公司实际控制人张秀根因涉嫌“非法转让、倒卖土地使用权罪”被天津市滨海新区公安局采取拘留的强制措施;在2022年8月10日,因上述土地使用权转让问题转为批捕。
今年3月,ST曙光发布公告,于2023年3月21日收到辽宁省锦州市中级人民法院执行裁定书,公司控股股东华泰汽车集团有限公司持有公司的9789.50万股无限售流通股股票(占公司总股份的14.49%)将被拍卖,以清偿债务。5月6日,银保监会官网公布《关于华泰汽车金融有限公司破产的批复》,银保监会表示,原则同意华泰汽车金融进入破产程序,并要求其严格按照有关法律法规要求开展后续工作。7月5日,ST曙光披露的权益变动提示公告显示,因司法拍卖划转过户,华泰汽车对ST曙光的持股比例降至5.28%,失去控股股东地位。

如今的华泰汽车已成了一具空壳,工厂停工停产,4S店也关门歇业,甚至不见踪影,而在汽车行业转型的变局下,车市竞争愈发激烈,华泰东山再起的可能性也越来越渺茫了。
如系本站原创文章,转载请注明出处:qi-che.com。
更多汽车新闻关注 请扫码qi-che.com公众微信号:

声明:
·凡注明为其他媒体来源的信息,均为转载自其他媒体,转载并不代表本网赞同其观点,也不代表本网对其真实性负责。如系qi-che.com原创文章,转载请注明出处:qi-che.com。
·您若对该稿件内容有任何疑问或质疑,请即与qi-che.com联系,本网将迅速给您回应并做处理。
邮箱mail@qi-che.com
处理时间:周一—周五 9:00—18:00
相关阅读
随着中国汽车市场新车销量持续下滑,传统乘用车(轿车、SUV、MPV)的需求下降,一直被忽视的皮卡车型有望迎来爆发期。6月6日,国家发改委等三部委共同下发《推动重点消费品更新升级畅通资源循环利用实施方案(2019-2020年)》,除逐步取消限购规定促进汽车消费外,皮卡车型的进一步解禁也被纳入改革的重点项目。实施方案中明确表示,鼓励有条件的地级及以下城市加快取消皮卡进城限制,充分发挥皮卡客货两用功能。...
日前网上盛传一封河北省保定市博野县检测站的通知书,内容提到:接县政府办公室通知,9月23日开始所有年检车辆必须安装ETC,未安装ETC的车辆不予年检,安装ETC后再办理年检业务。针对此消息,博野县官方回应了。微信公众号“博野快讯”发文称,县政府办公室从未发布过任何关于强制安装ETC的通知。不安装ETC设备不影响车辆进行年检,车辆办理ETC设备由广大车主、群众积极参与,自愿选择。此外,相关情况经过调...
今年以来,一直在新能源汽车领域动作频频的恒大,近日又因大规模、高标准的人才招募再度引得市场关注。9月9日,恒大新能源汽车全球研究总院启动全球招聘,计划招聘8000名新能源汽车产业世界顶级专家和技术精英,工作地点遍布中国、瑞典、德国、英国、荷兰、奥地利、意大利、日本、韩国等九个国家。造车狂人恒大“逆势揽才”今年的汽车行业可谓是日渐趋寒,无论是传统汽车业的领头羊如福特、通用、大众等车企动辄上千人的裁员...
最新内容
3月18日,新款极狐阿尔法S5正式上市,新车共推出7款车型,补贴价区间为9.98-16.98万元,其中增程版售价9.98-11.98万元,纯电版售价11.18-16.88万元。新款极狐阿尔法S5在现有纯电版本的基础上增加了增程动力系统,满足更多用户的选择需求。作为年度改款车型,新款极狐阿尔法S5整体外观保持不变,主要针对细节进行调整,较新款车型相比更加时尚。新车继续采用封闭式前格栅,前包围有所变化...
3月19日,岚图汽车科技股份有限公司(下称“岚图汽车(”)正式以介绍上市的方式登录港股,股票代码07489.HK,成为“央国企高端新能源第一股”。此次上市采用“私有化+分拆”模式,母公司东风集团股份从港交所退市,实现100%国有控股,岚图作为独立平台获得独立估值和融资渠道。岚图汽车的上市,其实是东风汽车集团整体战略布局中的关键一环。一直以来,东风汽车集团在传统燃油车领域有着深厚的积淀,但在新能源汽...
3月19日,岚图汽车旗下全新大型SUV——泰山X8正式亮相。综合此前报道,泰山X8将搭载问界M9同款四激光雷达,并将首发华为全新一代交互座舱。外观方面,岚图泰山X8与岚图泰山的关系类似于理想L9与理想L8,仅设计细节存在差异。岚图泰山X8整体沿用泰山车型的主体设计风格,配合庞大的车身尺寸,让其有着更加魁梧大气的视觉效果。前脸采用大尺寸格栅设计,内部辅以直瀑式元素进行点缀,岚图品牌英文品牌标识镶在格...
3月18日,全新宝马i3(代号NA0)首发亮相,新车首发车型为i350xDRiver版本。据了解,全新宝马i3基于新世代NK平台打造,采用宝马新世代设计语言,是宝马中国推出的第二款新世代车型。全新宝马i3将在慕尼黑工厂生产,并率先在欧洲市场上市,未来华晨宝马也将会投产国产长轴距版本。外观方面,全新宝马i3采用新世代设计语言,双肾格栅及分段式日行灯均可点亮,成为宝马新的家族设计语言。新车前盖采用复古...
3月16日,在小鹏第二代VLA推送前,小鹏汽车举行「AskMeAnything」直播,小鹏汽车董事长CEO何小鹏、通用智能中心负责人刘先明共同出席,通过线上直播解答用户核心疑问、明确推送与升级规划、连线验证第二代VLA真实能力,构建起与用户之间深厚的信任壁垒。小鹏第二代VLA推送时间表来了!5000公里智驾横穿中国挑战,实证全场景智驾能力3月2日,小鹏汽车宣布第二代VLA将于本月正式开启推送后,收...
汽车行业关注是了解中国汽车品牌,汽车经销商的汽车行业资讯传播平台。以全媒体结合的方式为汽车行业传播权威的汽车资讯,助力中国汽车品牌传播不断创新。新车上市汽车大全汽车新闻汽车品牌销量榜以及汽车经销商报价大全。
最新问答 更多
用车养护
汽车行业关注
报导汽车行业资讯,深挖车界猛料
老虎车网
新鲜汽车资讯,实用车主指南
买车顾问
好玩、好看、有用才是我们的基本诉求