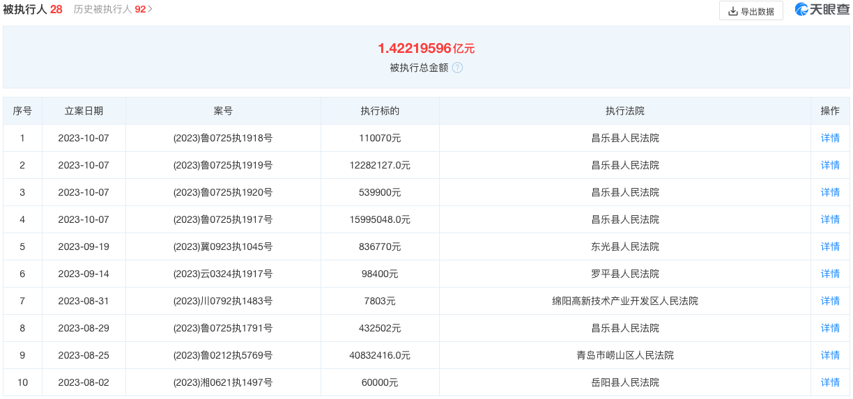
《汽车行业关注》从天眼查信息了解,10月7日,雷丁汽车集团有限公司(下称“雷丁汽车”)新增4则被执行人信息,执行标的2892万余元,执行法院均为昌乐县人民法院。




资料显示,雷丁汽车集团有限公司成立于2012年10月,注册资本1亿人民币,法定代表人为王德金,是一家以从事汽车制造业为主的企业,由比德文控股集团有限公司全资持股。天眼查风险信息显示,雷丁汽车集团有限公司存在20多条被执行人信息,被执行总金额超1.4亿元。除此之外,该公司还存在多条限制消费令、失信被执行人(老赖)和终本案件信息。

雷丁汽车成立于2008年,前身为潍坊比德文电动车有限公司,创始人李国欣依靠低速三轮、四轮电动车起家,也就是我们常说的“老头乐”,并且一度在这一市场斩获了不错的销量表现。2018年国家加强低速电动车清理整顿,在此背景下,雷丁汽车实现“换壳”,由低速电动车业务转向发力新能源汽车。
2019年初,雷丁汽车以14.6亿元收购四川野马100%股权,由此获得新能源车等生产资质,此后相继推出包括i3、i5和i9三款小型纯电动车,但遗憾的是,由于缺乏竞争力等原因,i系列纯电动车市场反响并不好,上市仅一年便全面停售,也意味着,以i系列车型切入新能源车赛道的雷丁汽车首次转型失利。

2021年雷丁汽车再次寻找新的出口,重新将目光转移至微型车市场上,并先后推出“雷丁芒果系列”车型。相比于i系列纯电动车,“雷丁芒果系列”车型则是获得了大量消费者的认可,新车上市后甚至创下单月销量6056辆佳绩,2021年全年累计销量为3.04万辆,但很快,雷丁汽车的销量便出现“滑铁卢”,次年新车上险量仅7042辆,同比下滑47.29%,市占率0.13%。

从2021年12月起,雷丁汽车就出现了公司内部中高层申请主动降薪度过危机、疑似停产、上下游都在针对雷丁汽车发起“追债”以及拖延经销商货款等负面新闻,其中,针对拖延经销商货款情况,彼时,雷丁汽车相关人士表示:“资金和产能都比较紧张,所以交付的车只能保证重点市场和重点区域,的确给一些经销商伙伴造成了影响。”
5年后的今天,由低速电动车转型入局新能源汽车赛道的雷丁汽车还是出局了。进入2023年以来,雷丁汽车几乎是一地鸡毛。从年初自曝资金链断裂、申请破产、创始人李国欣海外定居再到如今接二连三被曝出被列为失信被执行人以及冻结股权等负面消息,雷丁汽车当前处境已是危在旦夕。

此前雷丁汽车相关负责人在接受媒体采访时表示,公司已申请破产,低速车和新能源乘用车都不做了。“无论是雷丁这个企业还是雷丁的团队,都还是很有价值的。如果有资本对雷丁感兴趣的话,公司还是有重生的希望。”
不过全国乘用车市场信息联席会秘书长崔东树指出,雷丁汽车走向破产与其向新能源汽车转型不彻底有很大关系,加上其新能源乘用车技术能力和供应链建设能力都相对较弱,因此,后续雷丁汽车被接盘的可能性并不大。
如系本站原创文章,转载请注明出处:qi-che.com。
更多汽车新闻关注 请扫码qi-che.com公众微信号:

声明:
·凡注明为其他媒体来源的信息,均为转载自其他媒体,转载并不代表本网赞同其观点,也不代表本网对其真实性负责。如系qi-che.com原创文章,转载请注明出处:qi-che.com。
·您若对该稿件内容有任何疑问或质疑,请即与qi-che.com联系,本网将迅速给您回应并做处理。
邮箱mail@qi-che.com
处理时间:周一—周五 9:00—18:00
相关阅读
随着中国汽车市场新车销量持续下滑,传统乘用车(轿车、SUV、MPV)的需求下降,一直被忽视的皮卡车型有望迎来爆发期。6月6日,国家发改委等三部委共同下发《推动重点消费品更新升级畅通资源循环利用实施方案(2019-2020年)》,除逐步取消限购规定促进汽车消费外,皮卡车型的进一步解禁也被纳入改革的重点项目。实施方案中明确表示,鼓励有条件的地级及以下城市加快取消皮卡进城限制,充分发挥皮卡客货两用功能。...
日前网上盛传一封河北省保定市博野县检测站的通知书,内容提到:接县政府办公室通知,9月23日开始所有年检车辆必须安装ETC,未安装ETC的车辆不予年检,安装ETC后再办理年检业务。针对此消息,博野县官方回应了。微信公众号“博野快讯”发文称,县政府办公室从未发布过任何关于强制安装ETC的通知。不安装ETC设备不影响车辆进行年检,车辆办理ETC设备由广大车主、群众积极参与,自愿选择。此外,相关情况经过调...
今年以来,一直在新能源汽车领域动作频频的恒大,近日又因大规模、高标准的人才招募再度引得市场关注。9月9日,恒大新能源汽车全球研究总院启动全球招聘,计划招聘8000名新能源汽车产业世界顶级专家和技术精英,工作地点遍布中国、瑞典、德国、英国、荷兰、奥地利、意大利、日本、韩国等九个国家。造车狂人恒大“逆势揽才”今年的汽车行业可谓是日渐趋寒,无论是传统汽车业的领头羊如福特、通用、大众等车企动辄上千人的裁员...
最新内容
汽车互联网服务平台汽车之家多个平台社交账号被禁止关注。据了解,汽车之家微博账号因违反法律法规或《微博社区公约》禁止关注,该账号目前有约979万粉丝,其最后一条微博停留在1月5日,此后再无更新。抖音、快手、B站均分别显示“禁止关注、账号异常、违反社区规定”,其中抖音拥有粉丝651万,B站、快手平台未公开显示其粉丝数,抖音和B站的视频最后更新日期都是1月5日,仅快手账号的视频最后更新日期为1月23日。...
3月23日,东风雪铁龙旗下新款凡尔赛C5X正式上市。新车共推出悦不凡、驭不凡、耀不凡共3款车型,售价区间为14.17-18.67万元;一口价为11.37-15.37万元。据了解,作为新款车型,新车主要对外观细节以及配置进行优化升级,全系新增萤火红HYPNOS专属标识以及后三角窗流光镂空丝印&隐私玻璃配置,看起来更精致,动力上继续搭载1.6T涡轮增压四缸发动机。外观方面,新车继续沿用老款车型...
3月23日,在华为春季全场景新品发布会上,尚界汽车全新车型——尚界Z7和尚界Z7T两车同步开启预售,预售价分别为22.98万元起和23.98万元起。作为尚界汽车旗下全新车型,尚界Z7外观采用全新设计风格,明显区别于鸿蒙智行家族式的设计语言。具体来看,新车前脸采用运动化设计,两侧配备圆角多边形造型的大灯组,内部采用类似点阵式灯腔结构,配合前舱盖隆起的多条筋线以及造型夸张的导流槽,整体运动感十足。车身...
日前,北汽蓝谷新能源科技股份有限公司(下称“北汽蓝谷”)发布公告披露,近日收到多位高层的书面辞职报告。其中,张国富因工作调整原因申请辞去董事长、董事会战略委员会主任委员等职务,辞职后将不再担任公司任何职务;刘观桥因工作调整原因,不再担任经理职务,仍任公司董事;宋军不再担任公司职工董事、常务副经理、财务总监职务。当日,北汽蓝谷召开董事会,会议通过同意选举刘观桥为新一届董事会董事长,同意聘任宋军为公司...
据中央纪委国家监委驻东风汽车集团有限公司纪检监察组、湖北省纪委监委消息:东风汽车集团有限公司制造管理部(安全环保部)副总经理毛志军涉嫌严重违纪违法,目前正接受中央纪委国家监委驻东风汽车集团有限公司纪检监察组纪律审查和湖北省十堰市监委监察调查。市场关于毛志军的资料并不多,其出生于1971年8月,工商管理硕士,中共党员。2018年,任东风延锋(十堰)汽车饰件有限公司总经理。2019年,任东风延锋汽车饰...
汽车行业关注是了解中国汽车品牌,汽车经销商的汽车行业资讯传播平台。以全媒体结合的方式为汽车行业传播权威的汽车资讯,助力中国汽车品牌传播不断创新。新车上市汽车大全汽车新闻汽车品牌销量榜以及汽车经销商报价大全。
最新问答 更多
用车养护
汽车行业关注
报导汽车行业资讯,深挖车界猛料
老虎车网
新鲜汽车资讯,实用车主指南
买车顾问
好玩、好看、有用才是我们的基本诉求