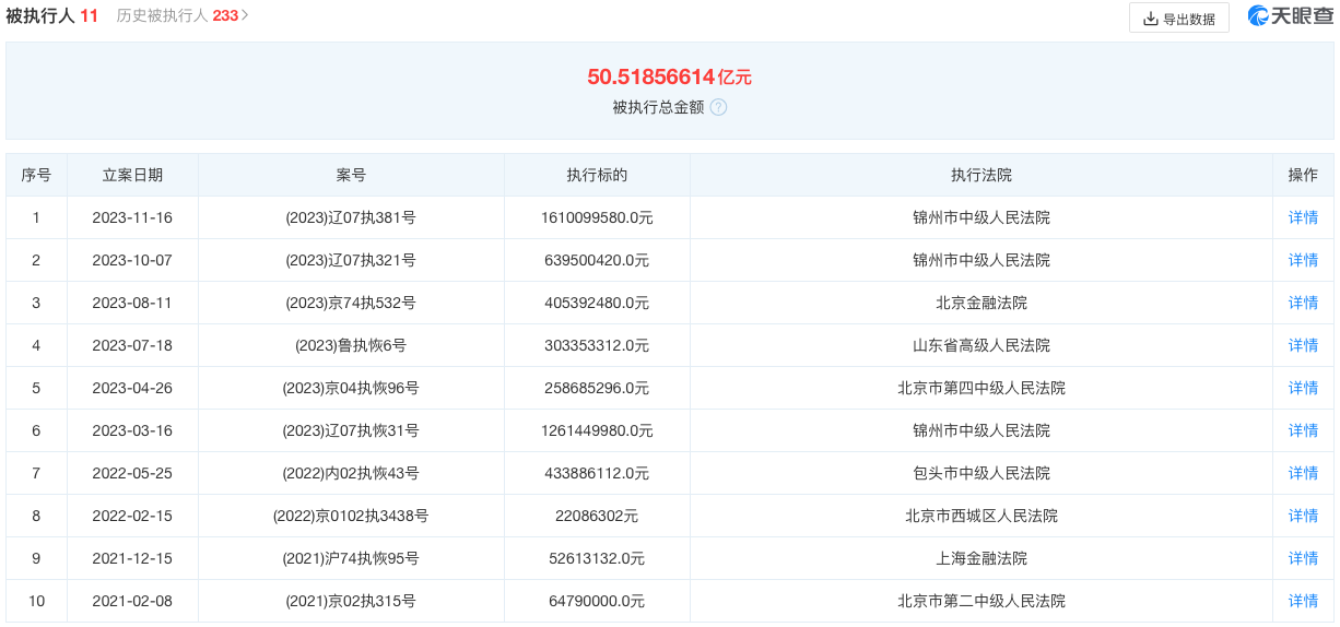
《汽车行业关注》从天眼查信息了解,11月16日,华泰汽车集团有限公司(下称“华泰汽车”)新增一则被执行人信息,执行标的16.1亿余元,执行法院为锦州市中级人民法院。

目前华泰汽车存在多条风险信息,包括被执行人信息、限制消费令以及失信被执行人和终本案件信息,其中,累计被执行总金额已超50亿元;限制消费令为153条;终本案件为17条,执行标的总金额为42.88911918亿元,未履行总金额为42.29725524亿元,未履行比例为98.6%;失信被执行人为26条,未履行比例为100%。

华泰汽车,如果不是汽车业内人士或许会对其感到陌生,因为如今华泰汽车这个名字几乎已从汽车圈销声匿迹了。公开信息显示,华泰汽车集团股份有限公司成立于2008年5月,注册资本和实缴资本均为3亿元人民币,法定代表人苗小龙,曾用名华泰汽车有限公司。股权信息显示,该公司由张秀根和苗小龙共同持股,其中张秀根持99%的股权,苗小龙仅持股1%。
当然,作为以新能源汽车、传统汽车以及汽车零部件为主营业务的自主品牌车企,华泰汽车也曾风光无限。

2000年,华泰汽车创始人张秀根从一汽集团手中收购山东荣成汽车厂,后更名为荣成华泰汽车股份有限公司,此后大举进军汽车行业并开启自主造车路。2008年5月,华泰汽车正式成立,此后华泰汽车与韩国现代汽车合作,并引入多款SUV车型,在现代汽车的品牌背书之下,华泰汽车迅速在车圈走红步入巅峰。数据显示,2012年-2016年,华泰汽车销量仅有几万辆左右,其中2015年和2016年销量分别为7.12万辆和7.30万辆。

2017年1月,华泰汽车更是以高达22.71亿的“大手笔”并购资金收购曙光股份,意图打造“从A00级到10米长大客车的业内最全新能源产品线”。而这一年华泰汽车销量也暴涨81.64%至13.26万辆,销量的暴涨令华泰汽车信心十足。当年车展上,华泰汽车立下2018年销量达20万辆,2020年超50万辆的远大目标,并公布未来三年内推出近30款新车。
但好景不长,从2019年开始,华泰汽车开始深陷经营危机,接连被爆生产基地全面停产、拖欠员工工资、拖欠供应商货款、债务违约、股权被冻结等负面信息。此后由于资金告急,华泰汽车及其旗下多家公司遭遇债务人起诉,相关股权也频繁登陆司法拍卖。


到了2021年,华泰汽车因无法偿还债务两次被申请破产重整,虽然最后申请人都进行了撤回,但负债率极高的华泰汽车在国内汽车市场早已经名存实亡。时至今日,华泰汽车已沦落为边缘车企,工厂停工停产,4S店也关门歇业,甚至车市已不见其踪影。
如系本站原创文章,转载请注明出处:qi-che.com。
更多汽车新闻关注 请扫码qi-che.com公众微信号:

声明:
·凡注明为其他媒体来源的信息,均为转载自其他媒体,转载并不代表本网赞同其观点,也不代表本网对其真实性负责。如系qi-che.com原创文章,转载请注明出处:qi-che.com。
·您若对该稿件内容有任何疑问或质疑,请即与qi-che.com联系,本网将迅速给您回应并做处理。
邮箱mail@qi-che.com
处理时间:周一—周五 9:00—18:00
相关阅读
随着中国汽车市场新车销量持续下滑,传统乘用车(轿车、SUV、MPV)的需求下降,一直被忽视的皮卡车型有望迎来爆发期。6月6日,国家发改委等三部委共同下发《推动重点消费品更新升级畅通资源循环利用实施方案(2019-2020年)》,除逐步取消限购规定促进汽车消费外,皮卡车型的进一步解禁也被纳入改革的重点项目。实施方案中明确表示,鼓励有条件的地级及以下城市加快取消皮卡进城限制,充分发挥皮卡客货两用功能。...
据车质网统计,2019年10月共接到车主有效投诉信息8016宗,环比上涨7.9%,同比上涨28%,今年1-10月累计投诉量已突破70000宗。10月份汽车投诉榜单中,绝大多数车型投诉量环比呈现增长的趋势,法系、日系品牌汽车投诉量较上月有明显的涨幅。投诉量榜单前十中,法系品牌东风标致408再次霸榜。据数据显示,今年10月,东风标致408销量为1222辆,而10月的投诉量则达到了226宗,占销量的18...
买汽车,到集美!2019首届集美汽车购物节现已强势登陆,席卷全城!作为集美区首次举办的汽车消费嘉年华,本届购物节不仅覆盖范围广、优惠力度大、亮点活动多,更有超长购车期限,等你货比三家甄选性能好车!活动期间,集美汽车购物节深入挖消费潜力,通过推出“前往北站汽车城买车,就送千元油卡”等系列活动,将集美汽车购物节打造成厦门具有标志性汽车消费活动。购车送油卡,优惠齐聚集美汽车购物节本届集美汽车购物节集合了...
最新内容
据最高人民检察院官微,上海汽车集团股份有限公司原副总裁陈德美涉嫌受贿、为亲友非法牟利一案,由上海市监察委员会调查终结,移送检察机关审查起诉。日前,上海市人民检察院第一分院于9月2日公告依法以涉嫌受贿罪、为亲友非法牟利罪对陈德美作出逮捕决定。资料显示,陈德美于1962年10月出生,中共党员,研究生毕业,工商管理硕士,高级经济师。曾任上海汽车工业(集团)总公司经济运行部副经理、经理,上海汽车集团股份有...
9月2日,奥迪正式发布新一代奥迪Q5标轴版官图,新车将于2025年一季度在欧洲上市。在中国市场,新一代奥迪Q5L有望在明年年初上市,其最大的不同将是轴距进行加长,同时在智能化方面有望进一步提升。据了解,现款奥迪Q5L国内官方指导价为39.88万-48.88万元。从发布的官图来看,与全新奥迪A5一样,新一代奥迪Q5基于PPC(高级燃油车平台)平台开发,新一代奥迪Q5车头采用全新造型的多边形蜂窝状格栅...
8月31日,广汽集团发布2024年上半年业绩报告。财报显示,集团上半年实现营业收入为458.08亿元,同比下滑25.62%;归属于上市公司股东的净利润为15.16亿元,同比下滑48.88%;归属于上市公司股东的扣除非经常性损益的净利润-3.38亿元,同比下滑112.51%。针对上半年财报表现,广汽集团表示报告期内业绩变动主要是受国内汽车行业“价格战”影响,商政投入增大所致;报告期内经营活动产生的现...
9月1日,长城汽车对外公布8月产销快报。数据显示,7月长城汽车销量9.45万辆,同比下滑17.21%,连续四个月销量同比下滑。1-8月累计销量74.54万辆,同比增长0.40%。其中,8月海外销量4.05万辆,1-8月累计销量28.01万辆。8月新能源汽车销量2.48万辆,1-8月累计销量18.14万辆。相对于年初定下的全年160万辆的销量目标,长城汽车仅完成46%,实现难度较大。与以往一样,除坦...
在2024成都车展上,上汽大众全新帕萨特PRO正式首发亮相,并开启预订。作为换代车型,新车对外观和内饰进行全面升级,动力上提供1.5T发动机和2.0T高功率发动机两种动力系统选择。按计划,新车将在9月10日上市,上市后采取新老同堂销售策略,作为参考,目前在售的燃油版帕萨特售价区间为18.19-22.33万元。上图为全新帕萨特Pro先锋版;下图为全新帕萨特Pro星空版外观方面,新车提供先锋版和星空版...
汽车行业关注是了解中国汽车品牌,汽车经销商的汽车行业资讯传播平台。以全媒体结合的方式为汽车行业传播权威的汽车资讯,助力中国汽车品牌传播不断创新。新车上市汽车大全汽车新闻汽车品牌销量榜以及汽车经销商报价大全。
最新问答更多
用车养护
汽车行业关注
报导汽车行业资讯,深挖车界猛料
老虎车网
新鲜汽车资讯,实用车主指南
买车顾问
好玩、好看、有用才是我们的基本诉求