天眼查APP显示,华为技术有限公司已将其注册的运输工具类“享界”商标转让给北汽新能源。



据了解,华为于2023年5月申请“享界”商标,11月完成注册。同年12月华为再申请多枚“享界”商标,国际分类包括广告销售、教育娱乐、金属材料等,当前商标状态均为“等待实质审查”。今年2月,华为开始将此商标转让给北汽新能源,并于4月完成转让。

针对华为向北汽新能源转让“享界”商标,北汽蓝谷相关人士表示,华为将“享界”商标转让给北汽新能源目的是给"享界S9"使用。
当前华为车BU与车企合作有三种商业模式,包括Tier1(传统零部件供应商模式,为车企供应智能化零部件)、HI模式(Huawei Inside模式)和智选模式,其中智选模式的合作尤为深入,华为不仅深度参与产品的研发设计,更重要的是还能借助华为的渠道进行销售。2023年9月,华为将智选车业务更名为鸿蒙智行。

享界归属鸿蒙智行,是华为和北汽联手打造的全新品牌,也是北汽继Huawei Inside(下称HI)模式后与华为的进一步合作。享界S9为享界全新品牌首款车型,由华为主导研发,北汽新能源参与制造,定位行政商务轿车,动力上提供单电机车型和双电机车型,新车已在4月北京车展首发亮相,预计新车将在三季度上市,售价或在50万级。
外观方面,新车采用简洁的设计风格,前脸为封闭式格栅设计,两侧搭配类似“C”字形的大灯组,中间由一根贯穿式灯带衔接,整体辨识度较高。另外,新车前包围采用宽大尺寸的梯形通风口,营造出运动氛围。车身侧面,新车线条简约流畅,车顶搭载激光雷达,两侧前翼子板处设计有侧摄像,搭配隐藏式门把手以及多幅式低风阻轮毂,令车辆看上去更为稳重大气。尺寸方面,新车长宽高分别为5160/1987/1486mm,轴距为3050mm,提供20英寸和21英寸轮辋可选。车尾部分,新车尾灯采用贯穿式设计风格,尾部带有“北汽新能源”和“享界S9”字样标识提升辨识度。新车后备厢盖上带有类似小鸭尾的设计,中间则是内凹式牌照框区域,进一步提升车辆的层次感。



动力方面,新车提供单电机和双电机两种版本,前者搭载华为数字能源技术有限公司所生产型号为TZ210XYA03驱动电机,最大功率为227千瓦,提供三元锂离子+磷酸铁锰锂电池、三元锂离子电池可选;后者搭载华为数字能源技术有限公司所生产YS210XYA03和TZ210XYA03前后双电机,前电机最大功率为158千瓦,后电机最大功率为227千瓦,匹配三元锂离子电池。
北汽蓝谷旗下拥有极狐和北汽新能源两大品牌,此次享界并非北汽首次与华为合作,相反北汽是与华为合作最早的车企。2021年,北汽蓝谷与华为联合打造的极狐阿尔法S全新HI版在上海车展发布,随后一年实现交付。不过,作为首款搭载华为HI智能汽车解决方案的量产车,极狐汽车新车上市后在车市中的表现并不亮眼。数据显示,2023年极狐汽车累计交付30016辆。
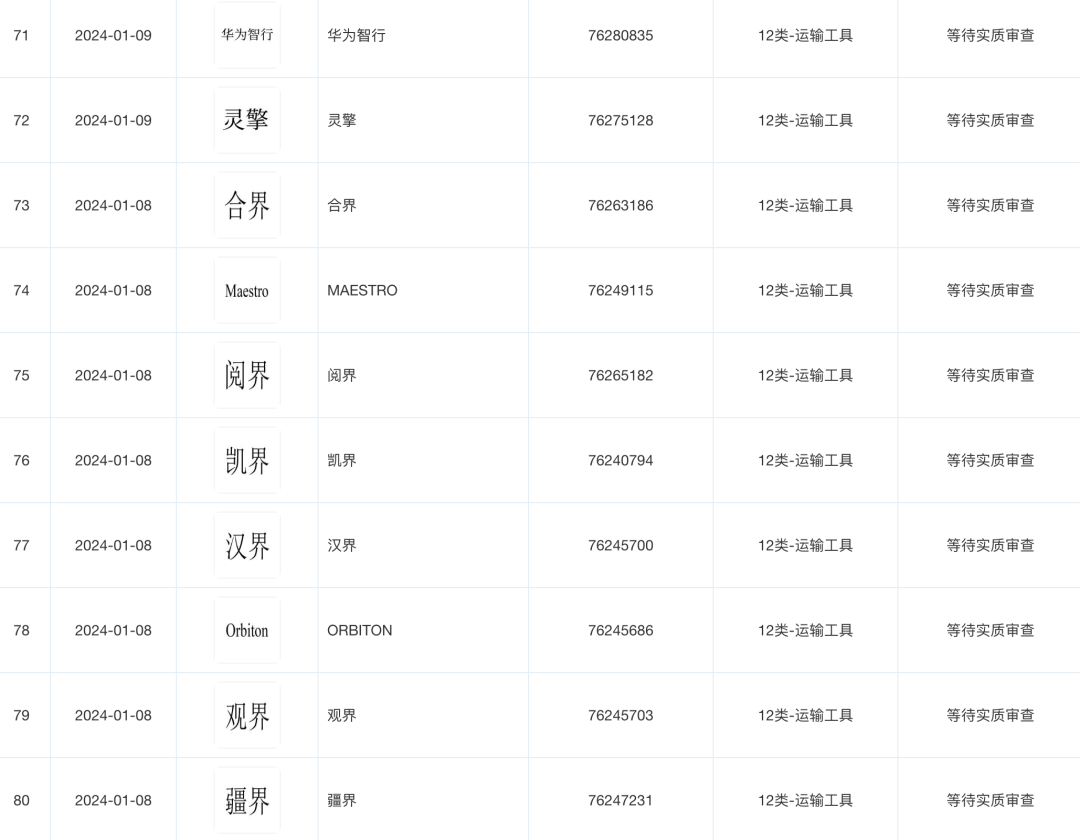
目前鸿蒙智行合作伙伴包括赛力斯汽车、奇瑞汽车、北汽蓝谷、江淮汽车,前三品牌命名分别对应问界、智界、享界,后续江淮汽车也将推出智选车产品,目前双方合作的品牌名称暂未确定,市场传闻或命名为“傲界”,此前华为密集申请包括阅界、御界、合界、华界、傲界等“X界”商标,其中“傲界”暂处于“等待实质审查”流程中。

数据显示,2024年1-4月鸿蒙智行销量为11.71万辆,其中问界品牌占据10.75万辆。综合享界品牌首车的定位来看,新车上市后将与奔驰S级、宝马7系、奥迪A8等车型竞争。但作为全新车型,享界S9的定价尤为重要,如果定价过高,或许不会有太多的消费者买单,毕竟,目前华为智选车阵容正不断扩大,享界品牌新车上市后能否像问界一样热销,仍充满未知。
如系本站原创文章,转载请注明出处:qi-che.com。
更多汽车新闻关注 请扫码qi-che.com公众微信号:

声明:
·凡注明为其他媒体来源的信息,均为转载自其他媒体,转载并不代表本网赞同其观点,也不代表本网对其真实性负责。如系qi-che.com原创文章,转载请注明出处:qi-che.com。
·您若对该稿件内容有任何疑问或质疑,请即与qi-che.com联系,本网将迅速给您回应并做处理。
邮箱mail@qi-che.com
处理时间:周一—周五 9:00—18:00
相关阅读
随着中国汽车市场新车销量持续下滑,传统乘用车(轿车、SUV、MPV)的需求下降,一直被忽视的皮卡车型有望迎来爆发期。6月6日,国家发改委等三部委共同下发《推动重点消费品更新升级畅通资源循环利用实施方案(2019-2020年)》,除逐步取消限购规定促进汽车消费外,皮卡车型的进一步解禁也被纳入改革的重点项目。实施方案中明确表示,鼓励有条件的地级及以下城市加快取消皮卡进城限制,充分发挥皮卡客货两用功能。...
日前网上盛传一封河北省保定市博野县检测站的通知书,内容提到:接县政府办公室通知,9月23日开始所有年检车辆必须安装ETC,未安装ETC的车辆不予年检,安装ETC后再办理年检业务。针对此消息,博野县官方回应了。微信公众号“博野快讯”发文称,县政府办公室从未发布过任何关于强制安装ETC的通知。不安装ETC设备不影响车辆进行年检,车辆办理ETC设备由广大车主、群众积极参与,自愿选择。此外,相关情况经过调...
今年以来,一直在新能源汽车领域动作频频的恒大,近日又因大规模、高标准的人才招募再度引得市场关注。9月9日,恒大新能源汽车全球研究总院启动全球招聘,计划招聘8000名新能源汽车产业世界顶级专家和技术精英,工作地点遍布中国、瑞典、德国、英国、荷兰、奥地利、意大利、日本、韩国等九个国家。造车狂人恒大“逆势揽才”今年的汽车行业可谓是日渐趋寒,无论是传统汽车业的领头羊如福特、通用、大众等车企动辄上千人的裁员...
最新内容
3月25日,北京汽车股份有限公司(下称“北京汽车”)发布2025年全年业绩报告。报告显示,2025年全年北京汽车营业收入为1640.47亿元,同比下滑14.8%;归属于母公司股东的净利润为1.23亿元,同比下滑87.2%;2025年全年实现毛利190.12亿元,同比下滑38.4%。销量方面,数据显示,2025年北汽集团整车销量为175.2万辆,同比增长5.6%,其中自主品牌销量为107万辆,占总销...
3月29日,腾势汽车旗下第二代腾势D9正式开启预售,新车提供插混版和纯电版共计6款车型,预售价为38.98-48.98万元。作为对比,目前在售的腾势D9售价为30.98-45.98万元。作为第二代车型,新车全系搭载天神之眼5.0智能驾驶辅助系统,最大的亮点是全面搭载支持闪充技术的第二代刀片电池,可实现“5分钟充好,9分钟充饱”,插混版CLTC纯电续航里程最高401公里,纯电版续航最高达800公里。...
3月29日,广汽丰田旗下全新纯电车型——铂智7正式上市。新车共推出5款车型,建议售价区间为16.98-22.98万,限时补贴权益价为14.78-19.98万元。新车于3月5日开启预售,预售价格为15.68-20.98万元。在此次新车发布会上,官方称,新车预售订单超1万台。外观方面,新车采用最新家族式设计语言,前脸运用封闭式格栅搭配丰田家族经典的“C”字母造型贯穿式LED日间行车灯设计,视觉辨识度较...
3月27日,小米汽车针对提供的7年低息金融方案进行解说。官方指出,小米汽车金融服务与多家持牌机构开展官方合作,致力于为小米购车用户提供“合法合规、费用透明、流程便捷、适配差异化需求”的购车金融服务,对于网传融资租赁模式有违规风险,有套路的说法,小米汽车回应表示,均不属实。小米汽车方面表示:对于旗下车型提供的7年低息方案,合作机构有浦发银行、中信银行、宁波银行、上海小米融资租赁有限公司等,均是经监管...
3月27日,山东燕鲁新能源车业有限公司(简称“燕鲁新能源”)发布声明,就近日媒体发布的公司与小米汽车公司的专利争议向小米汽车致歉。燕鲁新能源表示:小米公司拥有相关设计的专利权。其指出在了解相关法律法规后,基于对知识产权价值的尊重与认可,已停止了涉案专利相关部件的使用。公司已于2026年3月25日撤回了专利无效请求,近期相关信息会在国家知识产权局公示。与此同时,对于近期以来相关不实言论给小米公司及小...
汽车行业关注是了解中国汽车品牌,汽车经销商的汽车行业资讯传播平台。以全媒体结合的方式为汽车行业传播权威的汽车资讯,助力中国汽车品牌传播不断创新。新车上市汽车大全汽车新闻汽车品牌销量榜以及汽车经销商报价大全。
最新问答 更多
用车养护
汽车行业关注
报导汽车行业资讯,深挖车界猛料
老虎车网
新鲜汽车资讯,实用车主指南
买车顾问
好玩、好看、有用才是我们的基本诉求