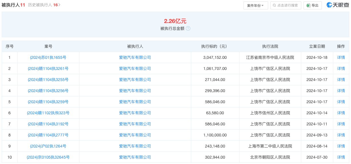
天眼查信息显示,10月18日,爱驰汽车有限公司新增一则被执行人信息,执行标的304.72万元,执行法院为江苏省南京市中级人民法院。

这是本月以来,爱驰汽车有限公司第三次被列为被执行人。10月17日,爱驰汽车有限公司新增四则被执行人信息,执行标的分别为106.17万元、27.10万元、29.94万元、58.60万元,执行法院均为上饶市广信区人民法院;10月14日,爱驰汽车有限公司新增一则被执行人信息,执行标的为6.36万元,执行法院为上饶市信州区人民法院。截至发稿,爱驰汽车有限公司累计被执行总金额为2.26亿元。

爱驰汽车有限公司成立于2017年2月,曾用名为江西爱驰亿维实业有限公司,法定代表人为郭超,注册资本约8.68亿元,该公司由由宁波梅山保税港区凯玖投资管理有限公司、湖州奥驰投资合伙企业(有限合伙)、宁德时代旗下宁波梅山保税港区问鼎投资有限公司等多位股东共同持股。
风险信息显示,爱驰汽车存在多条被执行人、限制消费令、失信被执行人和终本案件信息。截至发稿前,该公司共有29条开庭公告;3条限制消费令;2条终本案件,执行标的总金额7.41万元,未履行总金额7.47万元,未履行比例100%;2条失信被执行人,未履行比例100%;11条被执行人信息,被执行总金额2.26亿元;3条股权冻结信息。

作为国内较早成立的造车新势力品牌之一,爱驰汽车的起步并不低,甚至一度被市场寄予厚望,但令人意外的是,如今的爱驰汽车经营状况已不容乐观且负面消息缠身,先后被曝出资金危机,拖欠员工工资,员工需自缴社保、总部办公室欠款退租、工厂停工、申请破产等负面信息,而爱驰汽车上海公司也已被申请破产。8月底,爱驰汽车江西省上饶生产基地内上百辆汽车被上饶市广信区法院查封,被查封源于拖欠员工工资。2023年4月,爱驰汽车被曝拖欠员工工资,连社保和公积金也要求员工自费垫付。


爱驰汽车走到今天的处境,除了现金流状况不佳,自身造血能力不强外,更为重要的是其在产品、营销、渠道等方面也不具备竞争优势。行业人士认为,即便爱驰汽车解决了一时的资金的困局,想要重新回归大众主流的市场,爱驰汽车需要补习的功课还有很多,如此来看,未来爱驰汽车将如何发展仍充满不确定性。
当前,新能源汽车行业正加速洗牌,虽然尚没有形成稳定的格局,但车企间的竞争非常激烈,在竞争白热化阶段,爱驰汽车糟糕的处境背后,是多家声量不高的造车车新势力集体乏力,包括奇点汽车、威马汽车、天际汽车、恒大汽车等也处在困境之中。
如系本站原创文章,转载请注明出处:qi-che.com。
更多汽车新闻关注 请扫码qi-che.com公众微信号:

声明:
·凡注明为其他媒体来源的信息,均为转载自其他媒体,转载并不代表本网赞同其观点,也不代表本网对其真实性负责。如系qi-che.com原创文章,转载请注明出处:qi-che.com。
·您若对该稿件内容有任何疑问或质疑,请即与qi-che.com联系,本网将迅速给您回应并做处理。
邮箱mail@qi-che.com
处理时间:周一—周五 9:00—18:00
相关阅读
随着中国汽车市场新车销量持续下滑,传统乘用车(轿车、SUV、MPV)的需求下降,一直被忽视的皮卡车型有望迎来爆发期。6月6日,国家发改委等三部委共同下发《推动重点消费品更新升级畅通资源循环利用实施方案(2019-2020年)》,除逐步取消限购规定促进汽车消费外,皮卡车型的进一步解禁也被纳入改革的重点项目。实施方案中明确表示,鼓励有条件的地级及以下城市加快取消皮卡进城限制,充分发挥皮卡客货两用功能。...
据车质网统计,2019年10月共接到车主有效投诉信息8016宗,环比上涨7.9%,同比上涨28%,今年1-10月累计投诉量已突破70000宗。10月份汽车投诉榜单中,绝大多数车型投诉量环比呈现增长的趋势,法系、日系品牌汽车投诉量较上月有明显的涨幅。投诉量榜单前十中,法系品牌东风标致408再次霸榜。据数据显示,今年10月,东风标致408销量为1222辆,而10月的投诉量则达到了226宗,占销量的18...
今年以来,一直在新能源汽车领域动作频频的恒大,近日又因大规模、高标准的人才招募再度引得市场关注。9月9日,恒大新能源汽车全球研究总院启动全球招聘,计划招聘8000名新能源汽车产业世界顶级专家和技术精英,工作地点遍布中国、瑞典、德国、英国、荷兰、奥地利、意大利、日本、韩国等九个国家。造车狂人恒大“逆势揽才”今年的汽车行业可谓是日渐趋寒,无论是传统汽车业的领头羊如福特、通用、大众等车企动辄上千人的裁员...
最新内容
在宝马全球首家5S店倒闭消息传出后,厦门老牌宝马4S店也被曝倒闭。近日,一则关于厦门老牌宝马4S店员工在店内直播维权的视频在网络流传。从视频内容可以看到,门店内只剩下几台展车,其中一辆宝马展车车身被贴上了“厦门中宝还血汗钱中宝撤资,不管员工”的纸张。据视频中的直播维权的员工透露,她们已经几个月没有拿工资了,也没人跟她们协商。汽车行业关注在网络查看到,目前不单单是厦门中宝的员工反映工资没发的情况,甚...
10月30日,赛力斯发布今年前三季度财报情况。据官方发布的信息显示:今年前三季度,赛力斯营收达1066.27亿元,同比增长539.24%;归属于上市公司股东的净利润约40.38亿元。销量方面, 1-9月赛力斯新能源汽车累计销量高达31.67万辆,与去年同期相比增长364.23%。对于今年前三季度营收大增的原因,官方表示:主要因为公司销量及营业收入持续增长、产品结构调整、高价值产品的销售规...
据多家媒体报道,大运集团旗下高端新能源品牌——远航汽车被曝深陷困境,面临包括人员流失、延迟发放工资、销售门店停运等经营危机。有媒体报道称,远航汽车一内部人士透露,其所在部门员工被迫强制休假一周,且没有通知复岗时间,待岗期间公司没有提供工资和补偿;也有内部人士透露,远航汽车底盘研发部门人员仅剩十余名员工,人员流失严重。另据报道,远航汽车线下销售门店也相应出现停运情况,据《界面新闻》报道称,目前远航汽...
10月31日,电动汽车初创公司法拉第未来(FaradayFuture,下称“FF”)宣布已收到9月公布的3000万美元(约合2.14亿元人民币)融资承诺相关的全部融资净额。据了解,这笔资金来自中东、美国和亚洲投资者,最后一笔资金已在本周到账。对于FF而言,这笔投资资金相当重要,这意味着FF又能继续顺利运行了。FF表示,这笔融资有助于FF91的交付和供应链的逐步恢复,也能为全新品牌FaradayX(...
10月30日晚间,广州汽车集团股份有限公司(下称“广汽集团”)发布2024年第三季报财报。财报显示,第三季度广汽集团实现营业收入282.33亿元,同比下滑21.73%;净利润亏损13.96亿元,同比下滑190.40%;相比之下,扣非净利润的跌幅更为明显,扣非净亏损15.32亿元,同比下滑216.01%。将时间拉长至今年前三季度来看,广汽集团实现营业收入740.4亿元,同比下滑24.18%;归母净利...
汽车行业关注是了解中国汽车品牌,汽车经销商的汽车行业资讯传播平台。以全媒体结合的方式为汽车行业传播权威的汽车资讯,助力中国汽车品牌传播不断创新。新车上市汽车大全汽车新闻汽车品牌销量榜以及汽车经销商报价大全。
最新问答 更多
用车养护
汽车行业关注
报导汽车行业资讯,深挖车界猛料
老虎车网
新鲜汽车资讯,实用车主指南
买车顾问
好玩、好看、有用才是我们的基本诉求