天眼查信息显示,11月26日,合创汽车科技有限公司(下称“合创汽车”)新增一则被执行人信息,执行标的686.19万余元,执行法院为广州市南沙区人民法院 。


合创汽车科技有限公司成立于2018年4月,曾用名为合创智慧科技有限公司,注册资本和实缴资本均为55.23亿元。股权信息显示,该公司由广东珠投智能科技投资有限公司、广汽埃安新能源汽车股份有限公司、耀煜投资控股有限公司、广州汽车集团股份有限公司、广州开创共进投资合伙企业(有限合伙)共计五家公司共同持股,持股比例分别为68.5594%、20.5411%、4.4589%、4.4589%、1.9817%。

11月22日,合创汽车发生工商变更,李志红卸任法定代表人、经理,由王会普接任。11月15日,李志红因未按指定期间履行生效法律文书确定的给付义务,被北京市朝阳区人民法院限制高消费。



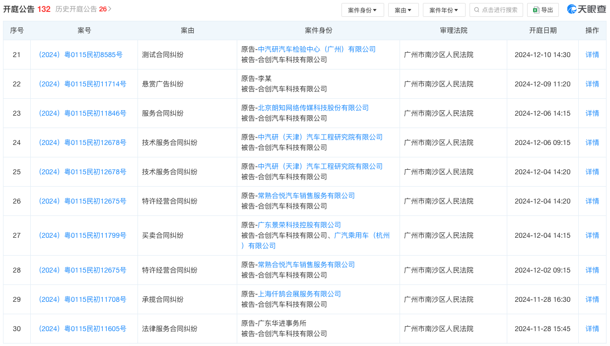
目前合创汽车科技有限公司存在多起开庭公告,其中开庭日期为2024年12月1日至2025年2月26日的开庭公告共有28条,开庭案由涉及买卖合同纠纷、特许经营合同纠纷、技术服务合同纠纷、服务合同纠纷、悬赏广告纠纷、承揽合同纠纷等。此外,该公司还涉及多条股权冻结,其中,从7月12日至9月30日共有18条股权冻结信息,被冻结股权数额共计超2.04亿元。


作为造车新势力的一员,进入2024年以来,合创汽车的处境难言乐观。本月中旬,合创汽车被曝解散上海分公司,裁撤上海分公司全员,且拖欠员工赔偿金,与此同时,也有多名前员工透露,合创汽车承诺的N+1赔偿金逾期未发,也有车主反映合创汽车上海销售渠道几乎全部停摆。而此前9月10日,合创汽车科技有限公司上海分公司因通过登记的住所或者经营场所无法联系,被上海市市场监督管理局列入经营异常名录。

截至目前,合创汽车旗下共布局007、Z03、A06、V09共计四款车型,涵盖SUV、轿车、MPV三大主流市场,但市场表现惨淡。零售数据显示,今年前10月,合创汽车累计销量仅为4488辆,销量最高为合创Z03,为2264辆;合创A06为1500辆;而合创V09和合创007销量分别为713辆和11辆。另据广汽集团产销快报显示,今年10月,被广汽集团销量快报划归为“其他”一栏的广汽日野和合创汽车销量仅为110辆,同比暴跌82.37%,合创汽车急需做出实质性的改变以应对销量承压处境。

眼下,汽车市场正历经史无前例的格局大重塑,大浪淘沙不进则退已成为车市真实写照,合创汽车再不做出革新,后续只会越来越难。
如系本站原创文章,转载请注明出处:qi-che.com。
更多汽车新闻关注 请扫码qi-che.com公众微信号:

声明:
·凡注明为其他媒体来源的信息,均为转载自其他媒体,转载并不代表本网赞同其观点,也不代表本网对其真实性负责。如系qi-che.com原创文章,转载请注明出处:qi-che.com。
·您若对该稿件内容有任何疑问或质疑,请即与qi-che.com联系,本网将迅速给您回应并做处理。
邮箱mail@qi-che.com
处理时间:周一—周五 9:00—18:00
相关阅读
随着中国汽车市场新车销量持续下滑,传统乘用车(轿车、SUV、MPV)的需求下降,一直被忽视的皮卡车型有望迎来爆发期。6月6日,国家发改委等三部委共同下发《推动重点消费品更新升级畅通资源循环利用实施方案(2019-2020年)》,除逐步取消限购规定促进汽车消费外,皮卡车型的进一步解禁也被纳入改革的重点项目。实施方案中明确表示,鼓励有条件的地级及以下城市加快取消皮卡进城限制,充分发挥皮卡客货两用功能。...
今年以来,一直在新能源汽车领域动作频频的恒大,近日又因大规模、高标准的人才招募再度引得市场关注。9月9日,恒大新能源汽车全球研究总院启动全球招聘,计划招聘8000名新能源汽车产业世界顶级专家和技术精英,工作地点遍布中国、瑞典、德国、英国、荷兰、奥地利、意大利、日本、韩国等九个国家。造车狂人恒大“逆势揽才”今年的汽车行业可谓是日渐趋寒,无论是传统汽车业的领头羊如福特、通用、大众等车企动辄上千人的裁员...
买汽车,到集美!2019首届集美汽车购物节现已强势登陆,席卷全城!作为集美区首次举办的汽车消费嘉年华,本届购物节不仅覆盖范围广、优惠力度大、亮点活动多,更有超长购车期限,等你货比三家甄选性能好车!活动期间,集美汽车购物节深入挖消费潜力,通过推出“前往北站汽车城买车,就送千元油卡”等系列活动,将集美汽车购物节打造成厦门具有标志性汽车消费活动。购车送油卡,优惠齐聚集美汽车购物节本届集美汽车购物节集合了...
最新内容
1月7日晚,红旗全新电动中大型SUV车型——红旗天工08正式上市。据了解,在2024年11月12日的红旗品牌新能源之夜上,红旗正式发布天工纯电平台和九章智能平台,而上述提及的天工08车型正式基于这两大平台开发的首款车型,新车是红旗新能源车天工家族首款车型,定位纯电中大型SUV车型,CLTC纯电续航里程为520km。外观方面,新车采用全新设计语言,前脸为时下纯电动车常见的封闭式格栅设计,两侧配备分体...
据多家媒体报道,当地时间1月6日,在国际消费类电子产品展览会(CES2025)上的开幕式演讲中,英伟达CEO黄仁勋宣布将与丰田汽车共同开发下一代自动驾驶汽车。资料显示,英伟达(NVIDIA)成立于1993年,总部位于加利福尼亚州圣克拉拉市,由黄仁勋、克里斯·马拉科夫斯基和柯蒂斯·普里姆共同创立,是一家美国跨国科技公司,早期专注于图形芯片设计业务,后成为人工智能公司,致力于开发CPU、DPU、GPU...
1月7日,通用汽车对外公布其进口车业务“道朗格”平台人事变动消息。根据公告,通用汽车旗下高端进口车与生活方式平台道朗格总裁李龙已离职,由中国区首席产品官季康博(JimCampbell)兼任。自即日起,季康博将全面负责通用汽车在中国市场的整体产品规划、产品营销和配件业务,包括面向国内市场的国产车型、进出口业务,并继续向通用汽车全球高级副总裁兼通用汽车中国公司总裁何思文(SteveHill)汇报工作。...
在2025国际消费电子展(CES)上,索尼与本田的合资企业——索尼本田移动公司(SonyHondaMobility)正式发布上市电动车品牌AFEELA首款车型AFEELA1,AFEELA1推出AFEELA1Origin和AFEELA1Signature两款配置车型,其中AFEELA1Origin售价为8.99万美元,AFEELA1Signature售价为10.29万美元。按照计划,AFEELA1计...
1月7日,理想汽车发布2025年第1周(2024年12月30日至2025年1月5日)销量榜单。从中国新能源汽车品牌销量榜单来看,新一周多家车企排名发生了明显的变化,且只有比亚迪一家车企周销量超万辆,为3.65万辆。作为对比,上一周(12月23日至12月29日)共有6家车企周销量超万辆,其中比亚迪以7.21万辆的销量蝉联榜首。而新一周比亚迪依然位居榜单榜首位置,但周销量相比上一周有所下滑。新一周排名...
汽车行业关注是了解中国汽车品牌,汽车经销商的汽车行业资讯传播平台。以全媒体结合的方式为汽车行业传播权威的汽车资讯,助力中国汽车品牌传播不断创新。新车上市汽车大全汽车新闻汽车品牌销量榜以及汽车经销商报价大全。
最新问答 更多
用车养护
汽车行业关注
报导汽车行业资讯,深挖车界猛料
老虎车网
新鲜汽车资讯,实用车主指南
买车顾问
好玩、好看、有用才是我们的基本诉求