2月25日,恒大汽车在港交所发布公告,拟出售瑞典一附属公司20%股权。公告内容显示,公司的间接全资附属公司国能电动汽车瑞典National Electric Vehicle Sweden AB(NEVS)已于2024年11月25日订立20%股份协议及本票出售协议。

公告表示,卖方同意出售,而股份买方同意购买20%股份,总对价为4378万港元;卖方同意出售,而票据买方(共同持有股份买方45%的股份)同意购买本金总额为4378万港元的本票,总对价为2189万港元。此外,发行本票乃为支付股份买方根据早期出售事项购买80%股份的所应付对价2.40亿瑞典克朗(约1.7513亿港元)的一部分。早期出售事项的余下对价已全数以现金清偿。
据了解,目标公司为投资控股公司,持有位于瑞典特罗尔海坦市的物业,总面积约40万平方米,因该物业长期未运营且至少于2022年未产生收入,2023年被转让至目标公司,以便后续出售提升流动性。公告称,于早期出售事项完成后,目标公司AB Trollhättan Propellern 13不再为附属公司,成为公司的联营公司且不再于集团的财务报表中综合入账。
同一日,恒大汽车发布独立非执行董事辞任补充公告,王克楠对NEVS出售资产一事与管理层存在分歧,原因是其认为该附属公司按当时NEVS管理层的建议出售其在目标公司的20%权益,并以50%的折让出售发行予NEVS的本票(相当于2023年出售有关目标公司80%权益的剩余25%对价),乃并不合宜。

本月初,恒大汽车表示迄今未能成功找到能够帮助缓解集团流动资金问题并推进集团适当重组的战略投资者或买家。恒大汽车指出因资金水平较低且不足,集团无法确保若干服务的进行,包括但不限于其审计师和其他相关专业顾问就截至2024年12月31日止年度开展现场审计工作。彼时,恒大汽车解释:“当前中国大陆新能源汽车的经营环境非常艰难,对公司寻找战略投资者或买家造成阻碍”。
实际上,作为造车的一员,市场环境竞争激烈确实在某种程度上对恒大汽车造成威胁,但更为重要的是恒大汽车在融资渠道上受限,恒大汽车受困于资金链已久。此前,恒大汽车也曾多次寻求引入新的战略投资者并出售相关股份,但最终未能达成协议。另外,财大气粗的许家印曾用“买买买、合合合、圈圈圈、大大大、好好好”来总结恒大“换道超车”之路,希望用3-5年的时间成为全世界规模最大、实力最强的新能源汽车集团。然而,自2024年初以来,恒大汽车天津工厂已不再生产,同样面临严重资金短缺困境,旗下多家子公司也被债权人申请破产重整。

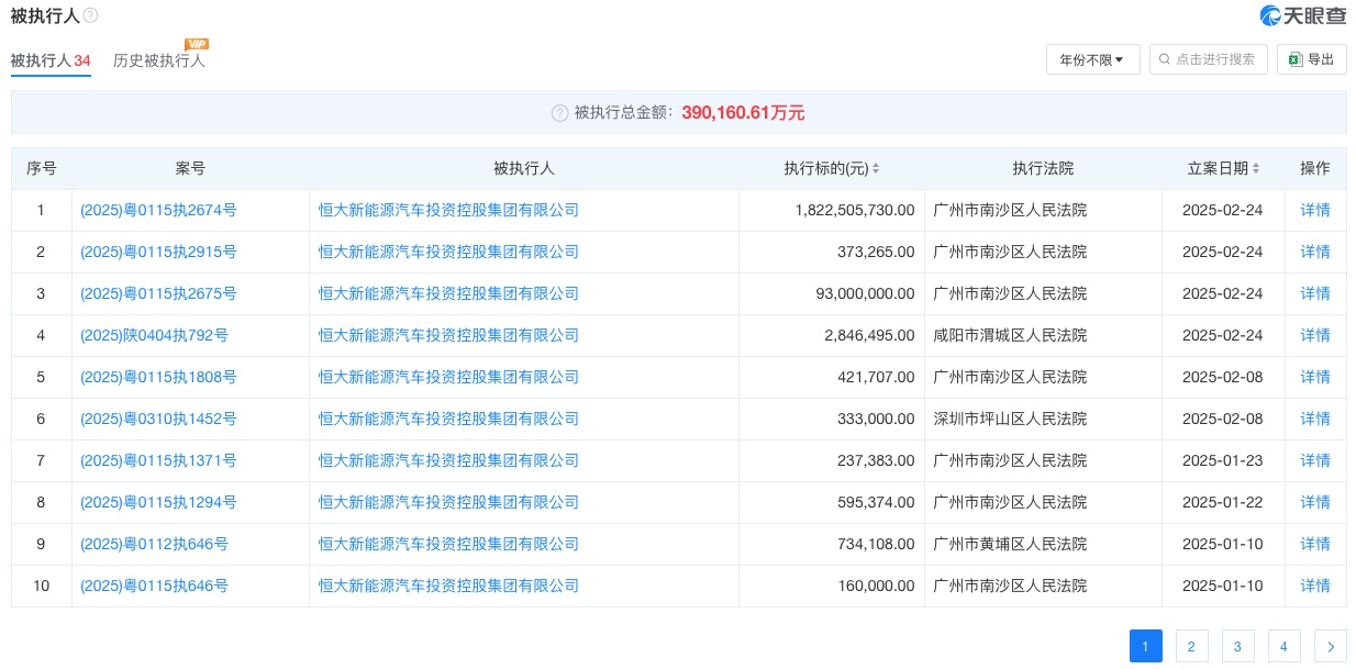
另外,天眼查信息显示,2月24日,恒大新能源汽车投资控股集团有限公司新增四则被执行人信息,执行标的合计约19.19亿元,执行法院分别为陕西省咸阳市渭城区人民法院和广东省广州市南沙区人民法院。截至发稿前,该公司共存在34则被执行人信息,累计被执行总金额为39.02亿元。


据了解,恒大新能源汽车投资控股集团有限公司曾用名为恒大国能新能源汽车投资控股集团有限公司,于2019年1月成立,法定代表人为刘伟胜,注册资本35亿美元。股权信息显示,该公司由恒大新能源汽车控股(香港)有限公司和恒大恒驰新能源汽车(广东)有限公司共同持股,持股比例分别为99.4%和0.6%。
目前恒大汽车已处于严重资不抵债状态,面临巨大的资金压力。财报显示,截至2024年6月30日,恒大汽车收入为3837.7万元,同比减少75.17%;净亏损扩大至202.57亿元,同比增亏194.73%,超出2023年全年;资产总额为163.69亿元,现金及现金等价物仅3900万元;负债高达743.5亿元。业内人士认为,即便后续恒大汽车获得融资,“如何说服消费者购买这样一家公司的产品”也将是恒大汽车面临的棘手难题。
如系本站原创文章,转载请注明出处:qi-che.com。
更多汽车新闻关注 请扫码qi-che.com公众微信号:

声明:
·凡注明为其他媒体来源的信息,均为转载自其他媒体,转载并不代表本网赞同其观点,也不代表本网对其真实性负责。如系qi-che.com原创文章,转载请注明出处:qi-che.com。
·您若对该稿件内容有任何疑问或质疑,请即与qi-che.com联系,本网将迅速给您回应并做处理。
邮箱mail@qi-che.com
处理时间:周一—周五 9:00—18:00
相关阅读
随着中国汽车市场新车销量持续下滑,传统乘用车(轿车、SUV、MPV)的需求下降,一直被忽视的皮卡车型有望迎来爆发期。6月6日,国家发改委等三部委共同下发《推动重点消费品更新升级畅通资源循环利用实施方案(2019-2020年)》,除逐步取消限购规定促进汽车消费外,皮卡车型的进一步解禁也被纳入改革的重点项目。实施方案中明确表示,鼓励有条件的地级及以下城市加快取消皮卡进城限制,充分发挥皮卡客货两用功能。...
日前网上盛传一封河北省保定市博野县检测站的通知书,内容提到:接县政府办公室通知,9月23日开始所有年检车辆必须安装ETC,未安装ETC的车辆不予年检,安装ETC后再办理年检业务。针对此消息,博野县官方回应了。微信公众号“博野快讯”发文称,县政府办公室从未发布过任何关于强制安装ETC的通知。不安装ETC设备不影响车辆进行年检,车辆办理ETC设备由广大车主、群众积极参与,自愿选择。此外,相关情况经过调...
今年以来,一直在新能源汽车领域动作频频的恒大,近日又因大规模、高标准的人才招募再度引得市场关注。9月9日,恒大新能源汽车全球研究总院启动全球招聘,计划招聘8000名新能源汽车产业世界顶级专家和技术精英,工作地点遍布中国、瑞典、德国、英国、荷兰、奥地利、意大利、日本、韩国等九个国家。造车狂人恒大“逆势揽才”今年的汽车行业可谓是日渐趋寒,无论是传统汽车业的领头羊如福特、通用、大众等车企动辄上千人的裁员...
最新内容
2025年,汽车智能化在快速渗透汽车行业的同时,也发生一系列因为智能驾驶而引发的交通事故,汽车智能驾驶安全问题再次被推上风口浪尖。4月16日,工信部召开智能网联汽车产品准入及软件在线升级管理工作推进会,针对智能驾驶(智驾)领域的宣传、功能使用和技术部署等问题提出一系列规范性要求。这意味着,智能驾驶行业正式进入“强监管”时代,旨在解决行业快速发展中暴露的测试风险、宣传误导和功能滥用等问题。工信部强调...
4月18日,极氪法务部通报,自媒体“车曝台”长期抹黑诽谤极氪被判公开赔礼道歉,并赔偿极氪相关经济损失30万元。极氪法务部表示,针对极氪起诉自媒体“汽车通病曝光台”(现名“车曝台”)及其关联账号网络侵权责任纠纷一案,法院已做出一审判决。法院认定,被告的行为已对极氪构成侮辱、诽谤,侵害了极氪品牌的名誉权,判令其公开赔礼道歉,并赔偿极氪相关经济损失30万元。对于“车曝台”的行为,极氪法务部于去年对其提起...
据中国汽车工业协会统计数据显示,今年一季度中国汽车销量为747万辆,同比增长11.2%,其中新能源汽车为307.5万辆,同比增长47.1%,占汽车总销量的41.2%。此外,整车出口保持增长,海外影响力不断提升,一季度汽车出口142万辆,同比增长7.3%,其中新能源汽车出口44.1万辆,同比增长43.9%。根据易车统计的数据显示,2024年一季度中国汽车出口量排名前十的汽车品牌中,自主品牌呈现出两极...
在最新一期工信部申报目录上,《汽车行业关注》查询到乐道汽车旗下全新车型——乐道L90已出现在申报图目录上。同一日,乐道汽车官方还发布了新车的官图。据了解,新车基于蔚来NT3.0平台打造,是乐道汽车旗下继乐道L60之后的第二款车型,于今年2月确定命名为“乐道L90”。按计划,新车将在4月23日开幕的上海国际车展上亮相,三季度正式上市。综合申报图和官图来看,新车外观采用家族化风格设计,前脸为大面积封闭...
汽车行业关注是了解中国汽车品牌,汽车经销商的汽车行业资讯传播平台。以全媒体结合的方式为汽车行业传播权威的汽车资讯,助力中国汽车品牌传播不断创新。新车上市汽车大全汽车新闻汽车品牌销量榜以及汽车经销商报价大全。
最新问答 更多
用车养护
汽车行业关注
报导汽车行业资讯,深挖车界猛料
老虎车网
新鲜汽车资讯,实用车主指南
买车顾问
好玩、好看、有用才是我们的基本诉求