6月19日,全国企业破产重整案件信息网显示,哪吒汽车母公司合众新能源汽车股份有限公司新增(2025)浙04破3号案件。公告显示,申请人为上海禹形广告有限公司,被申请人为合众新能源汽车股份有限公司,经办法院为浙江省嘉兴市中级人民法院,管理人机构为浙江子城律师事务所,管理人主要负责人为姚武强。此前,上海禹形广告有限公司已对该公司提出过破产审查。


5月13日,合众新能源汽车股份有限公司新增(2025)浙04破申3号,合众新能源汽车股份有限公司被上海禹形广告有限公司申请破产重整,经办法院为浙江省嘉兴市中级人民法院。彼时,哪吒汽车方面回应称:“某广告公司向法院申请,这是这家公司应有的权力,目前我们内部没有申请破产相关事宜。不信谣,不传谣。”接近哪吒汽车的消息人士表示:“公司目前确实很困难,高层还在寻求自救。”

本次新增(2025)浙04破3号案件,意味法院已确定破产重整案件管理人。天眼查显示,合众新能源汽车股份有限公司曾用名为合众新能源汽车有限公司,于2014年10月成立,位于浙江省嘉兴市,法定代表人为方运舟,注册资本为28.37亿元,实缴资本为27.63亿元,是一家以从事科技推广和应用服务业为主的企业。股东信息显示,该公司由多家公司共同持股,包括南宁民生新能源产业投资合伙企业(有限合伙)、北京华鼎新动力股权投资基金(有限合伙)、宜春市金合股权投资有限公司等共计50家公司共同持股。
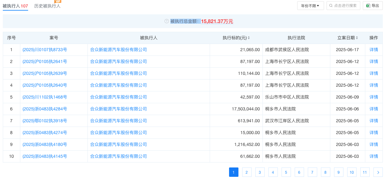
目前合众新能源汽车股份有限公司已是司法缠身。截至发稿,该公司存在107条被执行人信息,被执行总金额为15821.37万元,其中本月新增了4条;100条股权冻结信息;38条限制消费令,涉案总金额为5717.09万元。除此之外,4月25日,国家税务总局嘉兴市税务局还发布了该公司的3条欠税公告,欠税总金额为215.20598万元,欠税税种包括城镇土地使用税、印花税、房产税,税务机关为桐乡市税务局。



在合众新能源汽车股份有限公司被申请破产重整风波中,哪吒汽车也备受行业关注。哪吒汽车是合众新能源汽车股份有限公司旗下智能电动汽车品牌,于2018年6月发布,曾一度被视为是中国新能源汽车行业的“黑马”,也是最早获得新能源乘用车“双资质”的企业之一。数据显示,2022年哪吒汽车以15.21万辆的年销成绩成为造车新势力黑马,但此后开始走下坡路,2024年销量仅剩6.45万辆,同比下滑49.37%,与巅峰时期的销量相差甚远,如今更是正面临资金链吃紧、债务压身困境。未来哪吒汽车将何去何从,目前仍无从所知,业内人士认为,虽然法院已确定破产重整案件的管理人,但哪吒汽车前景仍充满未知。
如系本站原创文章,转载请注明出处:qi-che.com。
更多汽车新闻关注 请扫码qi-che.com公众微信号:

声明:
·凡注明为其他媒体来源的信息,均为转载自其他媒体,转载并不代表本网赞同其观点,也不代表本网对其真实性负责。如系qi-che.com原创文章,转载请注明出处:qi-che.com。
·您若对该稿件内容有任何疑问或质疑,请即与qi-che.com联系,本网将迅速给您回应并做处理。
邮箱mail@qi-che.com
处理时间:周一—周五 9:00—18:00
相关阅读
随着中国汽车市场新车销量持续下滑,传统乘用车(轿车、SUV、MPV)的需求下降,一直被忽视的皮卡车型有望迎来爆发期。6月6日,国家发改委等三部委共同下发《推动重点消费品更新升级畅通资源循环利用实施方案(2019-2020年)》,除逐步取消限购规定促进汽车消费外,皮卡车型的进一步解禁也被纳入改革的重点项目。实施方案中明确表示,鼓励有条件的地级及以下城市加快取消皮卡进城限制,充分发挥皮卡客货两用功能。...
日前网上盛传一封河北省保定市博野县检测站的通知书,内容提到:接县政府办公室通知,9月23日开始所有年检车辆必须安装ETC,未安装ETC的车辆不予年检,安装ETC后再办理年检业务。针对此消息,博野县官方回应了。微信公众号“博野快讯”发文称,县政府办公室从未发布过任何关于强制安装ETC的通知。不安装ETC设备不影响车辆进行年检,车辆办理ETC设备由广大车主、群众积极参与,自愿选择。此外,相关情况经过调...
今年以来,一直在新能源汽车领域动作频频的恒大,近日又因大规模、高标准的人才招募再度引得市场关注。9月9日,恒大新能源汽车全球研究总院启动全球招聘,计划招聘8000名新能源汽车产业世界顶级专家和技术精英,工作地点遍布中国、瑞典、德国、英国、荷兰、奥地利、意大利、日本、韩国等九个国家。造车狂人恒大“逆势揽才”今年的汽车行业可谓是日渐趋寒,无论是传统汽车业的领头羊如福特、通用、大众等车企动辄上千人的裁员...
最新内容
据汽车行业关注查询了解到,特斯拉廉价版Model3已经在亚洲多个市场上市,包括泰国、菲律宾和韩国消费者已可订购这款更便宜的特斯拉车型。其中,韩国市场性价比最高,补贴后价格低至4199万韩元,叠加当地补贴后,实际购买价格降至17.4万元人民币,低价策略凸显了特斯拉通过降价扩大市场份额的决心。泰国市场的廉价版Model3售价为25.48万元人民币,菲律宾市场为21.7万元人民币。据了解,廉价版Mode...
1月26日,保时捷中国CEO潘励驰表示,保时捷是财务自足公司,每分钱花在刀刃上。在公司内部,保时捷降本措施仍将持续,节省资金用于投资市场与未来研发,比如保时捷上海研发中心是重点。保时捷目前处于重新校准和调整阶段,通过优化精简经销商网络、推出专属车型等举措赢回中国市场,不以销量判定成功。2025年经销商数量已由150家缩减到114家,2026年目标缩减到80家。他还提到,本年代末保时捷增加两款内燃机...
1月24日晚,雷军发文称“熔岩橙,很帅!但是敢买的人太少了。”雷军表示,目前小米SU7和YU7都下架了熔岩橙配色,并配上了三个“流泪”的表情,言语间透露出对这款精心设计车漆的不舍与无奈。据小米汽车官方介绍,熔岩橙配色采用3层喷涂工艺,让阳光点亮座驾非凡的活力。当熔岩橙与阳光交汇于不同角度时,颜色也会发生蓬勃的变化,极具魅力。作为参考,熔岩橙配色需要额外支付7000元的选装费用。熔岩橙配色之所以下架...
日前,smart官方公布2026年两款全新产品的发布节奏,其中smart精灵#2原型概念车将于4月开幕的2026北京车展全球首秀,smart精灵#6则会在上半年正式发布。根据预告图,smart精灵#2可以看作是smartfortwo的迭代产品,新车定位一款全电动双门双座汽车,将明显区别于smart现有精灵1、3、5的SUV定位,并由梅赛德斯-奔驰设计团队设计,基于全新ECA架构(ElectricC...
1月23日,华为乾崑和东风共同联合打造的全新品牌——奕境汽车旗下首款车型寒测图曝光。据了解,新车定位家庭旗舰大六座SUV,预计将在今年4月的北京车展上正式亮相,年内上市。从曝光的图片来看,外观设计方面,新车采用黑化风格设计,整体造型看起来非常方正厚重。具体来看,新车前脸采用分体式大灯组设计,上方日行灯预计采用贯穿式布局,下方或配备两个横置设计的大灯组,顶位置则设计有激光雷达,预计新车将搭载乾崑辅助...
汽车行业关注是了解中国汽车品牌,汽车经销商的汽车行业资讯传播平台。以全媒体结合的方式为汽车行业传播权威的汽车资讯,助力中国汽车品牌传播不断创新。新车上市汽车大全汽车新闻汽车品牌销量榜以及汽车经销商报价大全。
最新问答 更多
用车养护
汽车行业关注
报导汽车行业资讯,深挖车界猛料
老虎车网
新鲜汽车资讯,实用车主指南
买车顾问
好玩、好看、有用才是我们的基本诉求