天眼查信息显示,7月31日,爱驰汽车有限公司新增一则股权冻结信息,股权所在企业为上海爱驰亿维汽车销售有限公司,冻结股权数额为7亿人民币,冻结期限自2025年7月31日至2028年7月30日共3年,执行法院为上海市黄浦区人民法院。

这并非7月爱驰汽车有限公司首次出现股权冻结信息,7月3日,爱驰汽车有限公司新增了16则股权冻结信息,股权所在企业均为爱驰汽车有限公司,执行法院为上海市黄浦区人民法院,冻结期限自2025年7月8日至2028年7月7日共3年。7月4日,爱驰汽车有限公司新增一则股权冻结信息,股权所在企业为上海亿维新能汽车研发有限公司,冻结股权数额为10亿人民币,冻结期限自2025年7月4日至2028年7月3日共3年,执行法院为上海市黄浦区人民法院。截至发稿前,该公司共存在25则股权冻结信息。

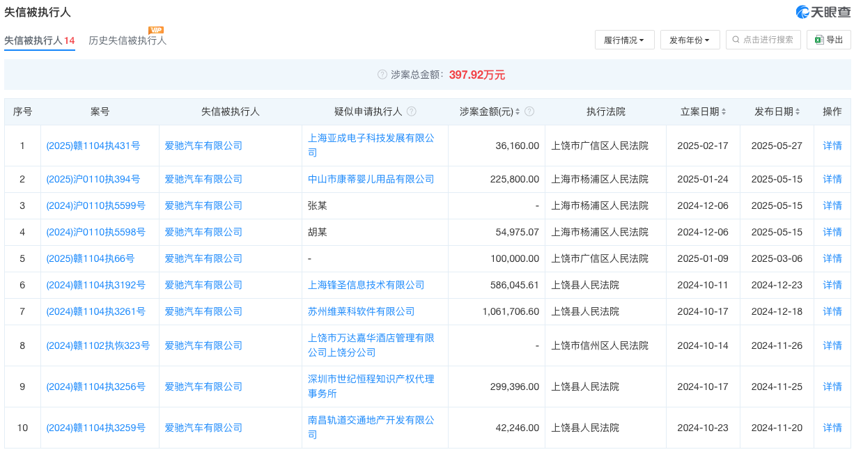
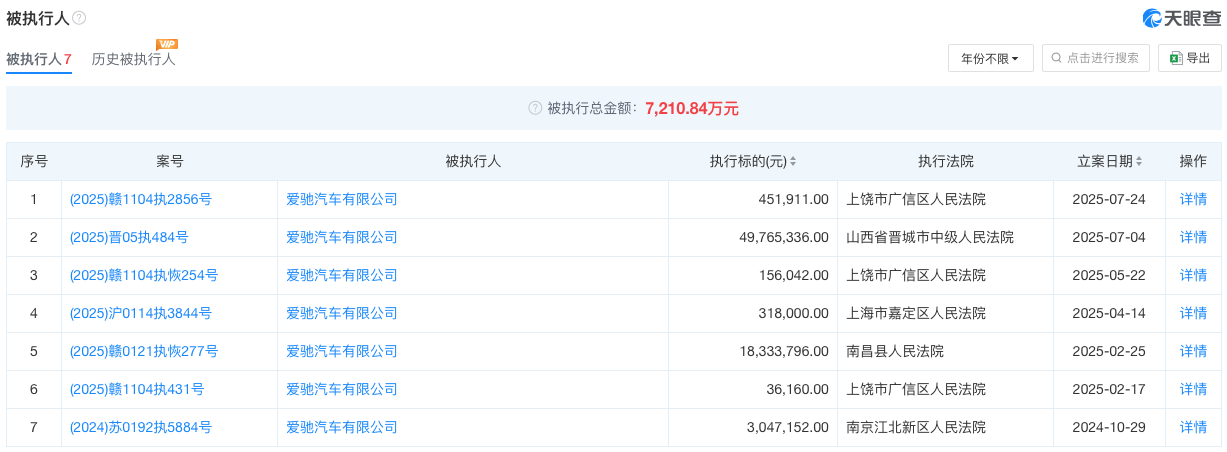
爱驰汽车有限公司曾用名为江西爱驰亿维实业有限公司,于2017年2月成立,法定代表人为郭超,注册资本和实缴资本均为8.7亿人民币,是一家以从事科技推广和应用服务业为主的企业。股东信息显示,该公司由宁波梅山保税港区凯玖投资管理有限公司、湖州奥驰投资合伙企业(有限合伙)、宁波梅山保税港区润沙股权投资有限公司等共16家公司共同持股。天眼查风险信息显示,截至发稿前,爱驰汽车有限公司存在15条限制消费令,涉案总金额为167.57万元;10条终本案件,执行标的总金额为197.57万元,未履行比例为100%;14条失信被执行人,涉案总金额为397.92万元;6条被执行人,被执行总金额为7210.84万元。


至于上海爱驰亿维汽车销售有限公司则成立于2017年1月,法定代表人为郭超,注册资本和实缴资本均为7亿人民币,是一家以从事批发业为主的企业。股东信息显示,该公司由爱驰汽车有限公司全资持股。天眼查风险信息显示,截至发稿前,该公司同样存在多则股权冻结信息,共计34条;83条限制消费令,涉案总金额为7587.99万元;终本案件59条,未履行总金额为6454.29万元;失信被执行人为122条;被执行人为3条,被执行总金额为48.97万元。


作为国内最早实现量产和交付的新势力车企之一,爱驰汽车曾获得多轮融资,投资方不乏宁德时代、滴滴出行等知名投资方,但即便如此,爱驰汽车依然难逃资金链短缺问题。未来,爱驰汽车将何去何从仍充满不确定性。
如系本站原创文章,转载请注明出处:qi-che.com。
更多汽车新闻关注 请扫码qi-che.com公众微信号:

声明:
·凡注明为其他媒体来源的信息,均为转载自其他媒体,转载并不代表本网赞同其观点,也不代表本网对其真实性负责。如系qi-che.com原创文章,转载请注明出处:qi-che.com。
·您若对该稿件内容有任何疑问或质疑,请即与qi-che.com联系,本网将迅速给您回应并做处理。
邮箱mail@qi-che.com
处理时间:周一—周五 9:00—18:00
相关阅读
随着中国汽车市场新车销量持续下滑,传统乘用车(轿车、SUV、MPV)的需求下降,一直被忽视的皮卡车型有望迎来爆发期。6月6日,国家发改委等三部委共同下发《推动重点消费品更新升级畅通资源循环利用实施方案(2019-2020年)》,除逐步取消限购规定促进汽车消费外,皮卡车型的进一步解禁也被纳入改革的重点项目。实施方案中明确表示,鼓励有条件的地级及以下城市加快取消皮卡进城限制,充分发挥皮卡客货两用功能。...
日前网上盛传一封河北省保定市博野县检测站的通知书,内容提到:接县政府办公室通知,9月23日开始所有年检车辆必须安装ETC,未安装ETC的车辆不予年检,安装ETC后再办理年检业务。针对此消息,博野县官方回应了。微信公众号“博野快讯”发文称,县政府办公室从未发布过任何关于强制安装ETC的通知。不安装ETC设备不影响车辆进行年检,车辆办理ETC设备由广大车主、群众积极参与,自愿选择。此外,相关情况经过调...
今年以来,一直在新能源汽车领域动作频频的恒大,近日又因大规模、高标准的人才招募再度引得市场关注。9月9日,恒大新能源汽车全球研究总院启动全球招聘,计划招聘8000名新能源汽车产业世界顶级专家和技术精英,工作地点遍布中国、瑞典、德国、英国、荷兰、奥地利、意大利、日本、韩国等九个国家。造车狂人恒大“逆势揽才”今年的汽车行业可谓是日渐趋寒,无论是传统汽车业的领头羊如福特、通用、大众等车企动辄上千人的裁员...
最新内容
3月30日,丰田汽车公司公布2026年2月全球产销情况。数据显示,2月丰田汽车全球销量为737134辆,同比下滑3.3%。其中日本本土市场销量为122264辆;海外市场销量为614870辆,同比下滑2.2%。截至2026年底,今年前两月,丰田汽车全球累计销量为1559711辆。其中日本本土市场销量为245329辆;海外市场销量为1314382辆。产量方面,2月丰田汽车公司全球产量为749673辆,...
日前,长城汽车发布2025年年报。财报显示,2025年长城汽车实现营业收入2228.24亿元,同比增长10.2%,创历史新高,而归母净利润同比下滑22.07%,为98.65亿元,同期为126.60亿元,扣非净利润则为60.59亿元,同比下滑37.50%。不难看出,长城汽车也陷入了“增收不增利”的尴尬局面。在2025年国内乘用车市场仅同比增长4%的背景下,长城汽车能实现10.2%的营收增长,确实值得...
3月30日,奇瑞旗下全新纯电小型车——奇瑞QQ3EV正式上市。新车共推出4款车型,售价区间为-万元。新车基于T12纯电平台打造,外观采用全新QQ家族设计语言,提供AI灵犀智舱和猎鹰500辅助驾驶等配置,动力上搭载后置后驱纯电动力系统,简单回顾新车外观设计,新车采用“微笑”造型前脸设计,整体造型圆润可爱。前脸采用封闭式格栅搭配圆润的LED大灯组布局,灯组内部具有上下平行日间行车灯带结构,整体看上去非...
3月30日,宝马中国正式发布全新宝马iX3长轴距版官图,新车将于2026北京车展上发布。据了解,新世代宝马iX3基于宝马全新电动车平台NeueKlasse诞生的首款车型,,采用宝马新世代设计语言,是宝马中国推出的首款新世代车型,整体外观基本与海外版车型保持一致,轴距加长至3005mm。外观方面,全新宝马iX3长轴距版的前脸基本完全复刻海外版车型的设计,长条形的灯组造型成为宝马新世代车型的新标志,经...
3月30日,上汽大众ID.ERA9X正式开启预售。据了解,新车是大众有史以来尺寸最大的SUV车型,也是上汽大众推出的首款增程车型,定位大型增程SUV,车内采用六座布局,配备激光雷达,动力上搭载1.5T增程混合动力,匹配65.2kWh三元锂电池组,CLTC工况最大纯电续航突破400km。具体来看,外观设计方面,新车采用全新设计方式,前脸运用封闭式格栅搭配贯穿式日行灯布局,中央镶嵌大众品牌LOGO,两...
汽车行业关注是了解中国汽车品牌,汽车经销商的汽车行业资讯传播平台。以全媒体结合的方式为汽车行业传播权威的汽车资讯,助力中国汽车品牌传播不断创新。新车上市汽车大全汽车新闻汽车品牌销量榜以及汽车经销商报价大全。
最新问答 更多
用车养护
汽车行业关注
报导汽车行业资讯,深挖车界猛料
老虎车网
新鲜汽车资讯,实用车主指南
买车顾问
好玩、好看、有用才是我们的基本诉求