1月14日,#宝能董事长姚振华实名举报#话题突然冲上微博热搜榜单第一。

今日中午,宝能集团董事长、观致汽车实控人姚振华通过宝能集团官方账号《中国宝能》公众号发布一则实名举报视频。
视频中,姚振华向最高人民法院、江苏省高级人民法院实名举报,常熟相关部门在观致汽车2.7亿元执行案件中存在多项违法行为,包括违法成立清算工作组、强制对观致汽车工厂设备进行风控查封,严重超额查封执行标的;强制拍卖观致汽车土地、厂房以及常规机器设备、专用车型设备等核心资产。同时,姚振华在视频中指出,经第三方机构评估,这些资产总价值约80亿元,但常熟法院却低估评估为仅15亿元。并在苏州中级人民法院2025年12月22日立案受理观致汽车破产重整申请后,公然违反《企业破产法》规定,违法快速推进一拍、二拍程序。其中,二拍起拍价为8.6亿元,并计划于2026年1月15日10点正式开拍。

据京东资产交易平台信息显示,常熟市通达路1号不动产及厂区内设备设施、零配件等财产将在明日上午10点整进行二次拍卖,起拍价为8.59亿元,资产评估价约15.34亿元,目前仅1人报名。

另外,姚振华还在视频中指出,常熟相关部门先将观致汽车工厂的土地、厂房、通用设备及专用设备等核心优质资产以低价拍卖侵吞,剩下一个空壳公司后再进行破产清算。直指这是典型的“吃死人不吐骨头”的做法,同时强调“今天的公开举报,实属万般无奈。”
天眼查信息显示,观致汽车有限公司于2007年12月成立,曾用名为奇瑞量子汽车有限公司,法定代表人为何华,企业注册资本和实缴资本均为169.25亿人民币,是一家以从事汽车制造业为主的企业。股东信息显示,观致汽车有限公司由杭州诚茂投资有限公司、芜湖奇瑞汽车投资有限公司和QUANTUM(2007)LLC3家公司共同持股,持股比例分别为63%、25%和12%。

作为国内较早定位高端的自主品牌,观致汽车的起点并不低。2017年12月,宝能集团战略还投资观致汽车成为大股东,形成宝能、奇瑞汽车、量子公司三方股东控股,但观致汽车的发展依然不顺畅。2025年12月,观致汽车有限公司新增一则破产审查案件,申请人为深圳欣本供应链有限公司,经办法院为江苏省苏州市中级人民法院。
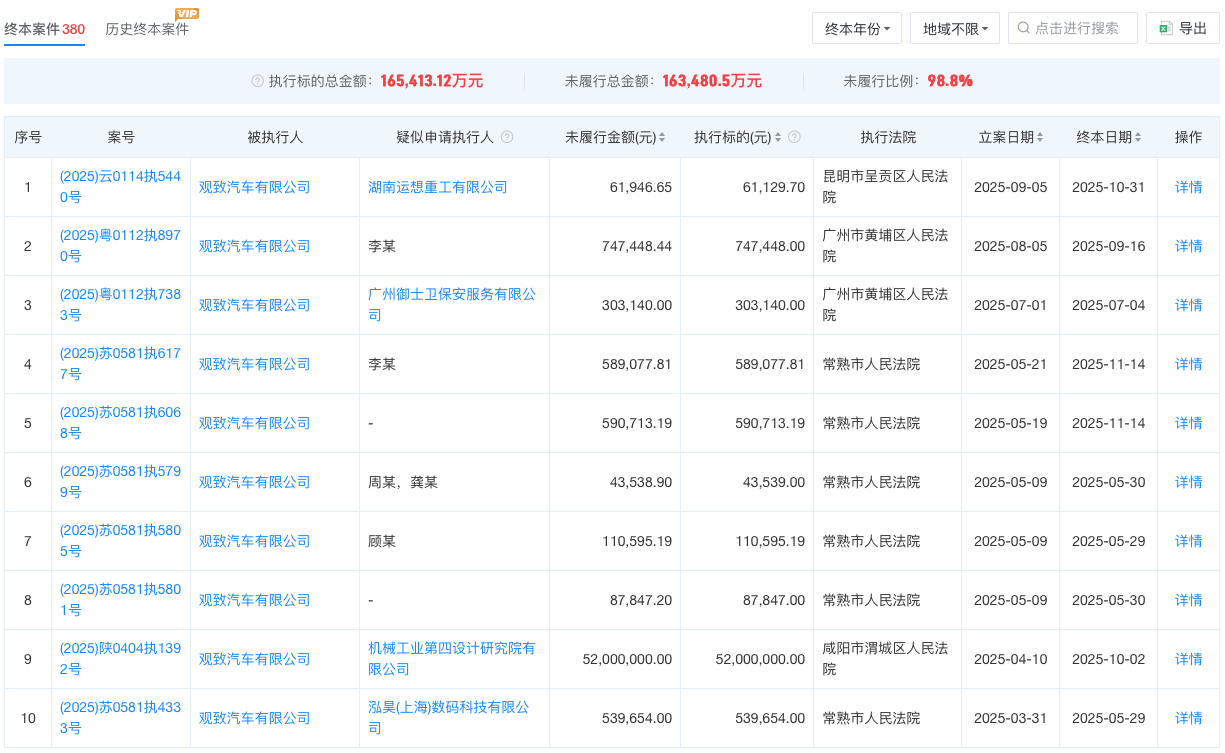
天眼查风险信息显示,截至发稿前,观致汽车有限公司存在多条被执行人、限制消费令、失信被执行人信息。其中,终本案件380条,执行标的总金额为165413.12万元;失信被执行人34条,涉案总金额为11052.36万元;被执行人39条,被执行总金额为76853.67万元,其中最新一条为今年1月4日新增,执行标的为872.50万余元,执行法院为咸阳市渭城区人民法院;股权冻结31条。



姚振华在本次视频中表示,作为观致汽车的股东,宝能集团自2018年至2025年底,对观致汽车累计投资约260亿元,并强调企业仍具备重整价值,仅需投入20亿元即可在10个月左右实现复产,每年可创造200多亿元的营收、20亿元以上税收,以及30至40亿元的利润。今年1月12日,已有33家观致债权人向苏州中院申请尽快做出破产重整裁决;同日也向长春法院提交执行异议申请,要求立即依法撤销二拍,公平保护全体债权人权益。
如系本站原创文章,转载请注明出处:qi-che.com。
更多汽车新闻关注 请扫码qi-che.com公众微信号:

声明:
·凡注明为其他媒体来源的信息,均为转载自其他媒体,转载并不代表本网赞同其观点,也不代表本网对其真实性负责。如系qi-che.com原创文章,转载请注明出处:qi-che.com。
·您若对该稿件内容有任何疑问或质疑,请即与qi-che.com联系,本网将迅速给您回应并做处理。
邮箱mail@qi-che.com
处理时间:周一—周五 9:00—18:00
相关阅读
随着中国汽车市场新车销量持续下滑,传统乘用车(轿车、SUV、MPV)的需求下降,一直被忽视的皮卡车型有望迎来爆发期。6月6日,国家发改委等三部委共同下发《推动重点消费品更新升级畅通资源循环利用实施方案(2019-2020年)》,除逐步取消限购规定促进汽车消费外,皮卡车型的进一步解禁也被纳入改革的重点项目。实施方案中明确表示,鼓励有条件的地级及以下城市加快取消皮卡进城限制,充分发挥皮卡客货两用功能。...
日前网上盛传一封河北省保定市博野县检测站的通知书,内容提到:接县政府办公室通知,9月23日开始所有年检车辆必须安装ETC,未安装ETC的车辆不予年检,安装ETC后再办理年检业务。针对此消息,博野县官方回应了。微信公众号“博野快讯”发文称,县政府办公室从未发布过任何关于强制安装ETC的通知。不安装ETC设备不影响车辆进行年检,车辆办理ETC设备由广大车主、群众积极参与,自愿选择。此外,相关情况经过调...
今年以来,一直在新能源汽车领域动作频频的恒大,近日又因大规模、高标准的人才招募再度引得市场关注。9月9日,恒大新能源汽车全球研究总院启动全球招聘,计划招聘8000名新能源汽车产业世界顶级专家和技术精英,工作地点遍布中国、瑞典、德国、英国、荷兰、奥地利、意大利、日本、韩国等九个国家。造车狂人恒大“逆势揽才”今年的汽车行业可谓是日渐趋寒,无论是传统汽车业的领头羊如福特、通用、大众等车企动辄上千人的裁员...
最新内容
据汽车行业关注查询了解到,特斯拉廉价版Model3已经在亚洲多个市场上市,包括泰国、菲律宾和韩国消费者已可订购这款更便宜的特斯拉车型。其中,韩国市场性价比最高,补贴后价格低至4199万韩元,叠加当地补贴后,实际购买价格降至17.4万元人民币,低价策略凸显了特斯拉通过降价扩大市场份额的决心。泰国市场的廉价版Model3售价为25.48万元人民币,菲律宾市场为21.7万元人民币。据了解,廉价版Mode...
1月26日,保时捷中国CEO潘励驰表示,保时捷是财务自足公司,每分钱花在刀刃上。在公司内部,保时捷降本措施仍将持续,节省资金用于投资市场与未来研发,比如保时捷上海研发中心是重点。保时捷目前处于重新校准和调整阶段,通过优化精简经销商网络、推出专属车型等举措赢回中国市场,不以销量判定成功。2025年经销商数量已由150家缩减到114家,2026年目标缩减到80家。他还提到,本年代末保时捷增加两款内燃机...
1月24日晚,雷军发文称“熔岩橙,很帅!但是敢买的人太少了。”雷军表示,目前小米SU7和YU7都下架了熔岩橙配色,并配上了三个“流泪”的表情,言语间透露出对这款精心设计车漆的不舍与无奈。据小米汽车官方介绍,熔岩橙配色采用3层喷涂工艺,让阳光点亮座驾非凡的活力。当熔岩橙与阳光交汇于不同角度时,颜色也会发生蓬勃的变化,极具魅力。作为参考,熔岩橙配色需要额外支付7000元的选装费用。熔岩橙配色之所以下架...
日前,smart官方公布2026年两款全新产品的发布节奏,其中smart精灵#2原型概念车将于4月开幕的2026北京车展全球首秀,smart精灵#6则会在上半年正式发布。根据预告图,smart精灵#2可以看作是smartfortwo的迭代产品,新车定位一款全电动双门双座汽车,将明显区别于smart现有精灵1、3、5的SUV定位,并由梅赛德斯-奔驰设计团队设计,基于全新ECA架构(ElectricC...
1月23日,华为乾崑和东风共同联合打造的全新品牌——奕境汽车旗下首款车型寒测图曝光。据了解,新车定位家庭旗舰大六座SUV,预计将在今年4月的北京车展上正式亮相,年内上市。从曝光的图片来看,外观设计方面,新车采用黑化风格设计,整体造型看起来非常方正厚重。具体来看,新车前脸采用分体式大灯组设计,上方日行灯预计采用贯穿式布局,下方或配备两个横置设计的大灯组,顶位置则设计有激光雷达,预计新车将搭载乾崑辅助...
汽车行业关注是了解中国汽车品牌,汽车经销商的汽车行业资讯传播平台。以全媒体结合的方式为汽车行业传播权威的汽车资讯,助力中国汽车品牌传播不断创新。新车上市汽车大全汽车新闻汽车品牌销量榜以及汽车经销商报价大全。
最新问答 更多
用车养护
汽车行业关注
报导汽车行业资讯,深挖车界猛料
老虎车网
新鲜汽车资讯,实用车主指南
买车顾问
好玩、好看、有用才是我们的基本诉求