据国内媒体报道,福特汽车官方向美国专利局申请了一项纯电动版F-150的专利,该项专利曝光了纯电动版F-150将有一个前备厢,而且从车头的格栅处就可以打开,用于车主储存物品。
早在2018年福特就计划,到2022年将16款纯电动汽车推向市场,将从续航300英里(约483km)范围内的纯电动车型开始。F-150作为福特旗下的重磅车型,自然也在该计划之中。

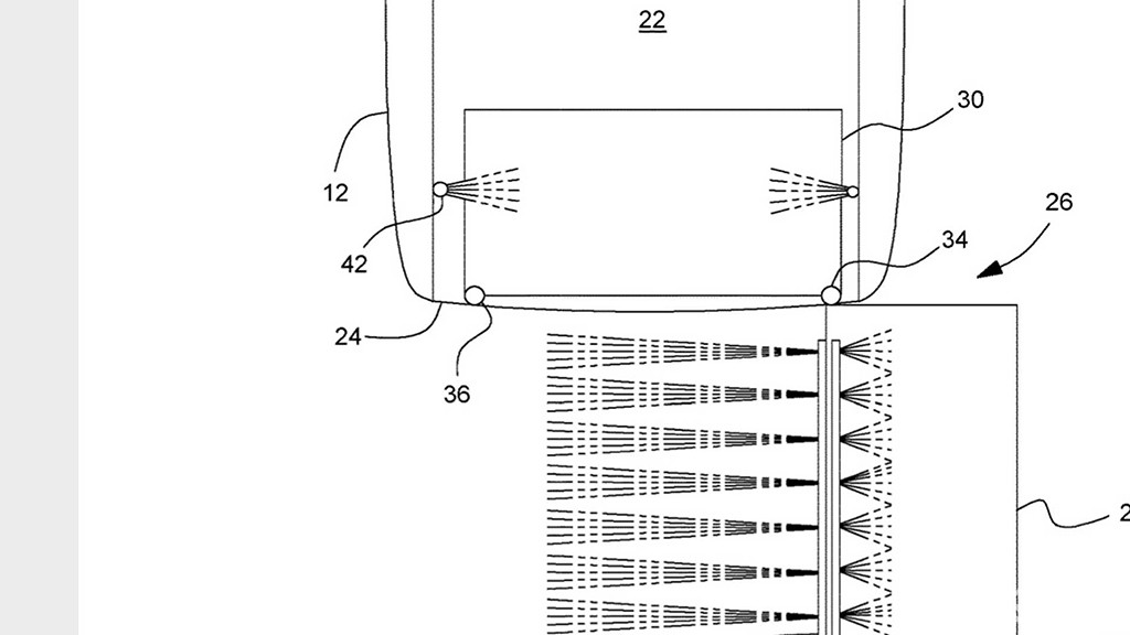
对于一辆皮卡,它的储物能力是很多人非常看重的,电动皮卡和传统燃油皮卡相比,不需要传统的机械传动机构,所以车内会有更多灵活空间可以利用,福特就打算在纯电动版F-150的前面设置一个前备厢。

从专利图来看,这个前备厢可以从格栅处打开,而且内置了不少照明设备,方便车主取拿物品。在前备厢内部,福特还打算用可移动的箱子来分隔储物区域,这些箱子上设计有把手,车主可以方便地将其拿出,并进行不同形式的组合。

今年7月份,福特官方发布了一段宣传视频,展示了一辆纯电动F-150皮卡拖动一列超过125万磅(约567吨)的火车车厢。从视频来看,电动版F-150取消了现款车型上硕大的“FORD”英文字样,取而代之的是轿车上的福特字母logo。

对于一辆皮卡来说,它的储物能力是很多人非常看重的,电动皮卡和传统燃油皮卡相比,不需要传统的机械传动机构,所以车内会有更多灵活空间可以利用。随着纯电动版F-150多项专利的曝光,新车的样貌也逐渐清晰,该车将和特斯拉CyberTruck电动皮卡形成竞争关系。
如系本站原创文章,转载请注明出处:qi-che.com。
更多汽车新闻关注 请扫码qi-che.com公众微信号:

声明:
·凡注明为其他媒体来源的信息,均为转载自其他媒体,转载并不代表本网赞同其观点,也不代表本网对其真实性负责。如系qi-che.com原创文章,转载请注明出处:qi-che.com。
·您若对该稿件内容有任何疑问或质疑,请即与qi-che.com联系,本网将迅速给您回应并做处理。
邮箱mail@qi-che.com
处理时间:周一—周五 9:00—18:00
相关阅读
随着中国汽车市场新车销量持续下滑,传统乘用车(轿车、SUV、MPV)的需求下降,一直被忽视的皮卡车型有望迎来爆发期。6月6日,国家发改委等三部委共同下发《推动重点消费品更新升级畅通资源循环利用实施方案(2019-2020年)》,除逐步取消限购规定促进汽车消费外,皮卡车型的进一步解禁也被纳入改革的重点项目。实施方案中明确表示,鼓励有条件的地级及以下城市加快取消皮卡进城限制,充分发挥皮卡客货两用功能。...
日前网上盛传一封河北省保定市博野县检测站的通知书,内容提到:接县政府办公室通知,9月23日开始所有年检车辆必须安装ETC,未安装ETC的车辆不予年检,安装ETC后再办理年检业务。针对此消息,博野县官方回应了。微信公众号“博野快讯”发文称,县政府办公室从未发布过任何关于强制安装ETC的通知。不安装ETC设备不影响车辆进行年检,车辆办理ETC设备由广大车主、群众积极参与,自愿选择。此外,相关情况经过调...
今年以来,一直在新能源汽车领域动作频频的恒大,近日又因大规模、高标准的人才招募再度引得市场关注。9月9日,恒大新能源汽车全球研究总院启动全球招聘,计划招聘8000名新能源汽车产业世界顶级专家和技术精英,工作地点遍布中国、瑞典、德国、英国、荷兰、奥地利、意大利、日本、韩国等九个国家。造车狂人恒大“逆势揽才”今年的汽车行业可谓是日渐趋寒,无论是传统汽车业的领头羊如福特、通用、大众等车企动辄上千人的裁员...
最新内容
3月20日,沃尔沃汽车旗下全新纯电小型SUV——新款沃尔沃EX30正式上市。据了解,新车取消了老款后驱Core和后驱长续航版Plus,新增后驱Plus车型。具体来看,新车推出后驱Plus、后驱长续航版Ultra、双电机四驱高性能版Ultra共3款车型,限时参考尊享价分别为15.98万元、18.98万元、20.98万元。作为新款车型,新车外观基本沿用现款车型设计风格,主要针对配置进行优化升级,其中后...
3月20日,阿维塔旗下新款阿维塔12正式开启预售。新车共推出7款车型,预售价为29.99-43.99万元。其中,增程版车型售价为29.99-31.99万元;纯电版车型售价为30.99-43.99万元。阿维塔12是阿维塔旗下第二款车型,于2023年11月上市。本次新车为新款车型,外观设计变化并不是很大,主要对配置和动力进行升级,搭载太行智控2.0技术和华为乾崑新一代双光路图像级激光雷达,并对门把手、...
3月20日,北京汽车股份有限公司(下称“北京汽车”)发布公告:由于工作变动,王昊将不再担任董事长、执行董事、董事会战略与可持续发展委员会主任及董事会提名委员会主任,朱雁将不再担任执行董事及战略与可持续发展委员会成员,孙力将不再担任非执行董事及战略与可持续发展委员会成员。上述变动均自新董事委任获批准之日起生效。同时,北京汽车董事会建议委任张国富为非执行董事。如股东会批准张国富任非执行董事,则进一步提...
3月20日,日产(中国)投资有限公司宣布中国区高级管理层调整。日产(中国)表示,原日产(中国)投资有限公司总经理高级顾问刘新宇,将担任日产(中国)投资有限公司总经理,直接汇报给日产全球执委会委员兼中国区主席、东风汽车有限公司总裁马智欣(StephenMa),该任命自2026年4月1日起正式生效。这项任命生效后,刘新宇将成为日产中国首位中国籍总经理,而在此之前的总经理均为外籍。而原日产(中国)投资有...
3月20日,吉利银河官宣,吉利银河首款AI全地形硬核SUV正式定名为——吉利银河战舰700。据了解,这一命名采用“用户共创”方式,源自全球用户征名活动。3月16日,吉利银河公开首款科技硬核SUV全球征名TOP10高频词,包括战舰、卫士、磐石、星际、浩瀚、安全、方舟、护卫者、征途、S900,最终确定新车定名为吉利银河战舰700。作为吉利首款AI全地形硬核SUV,新车吉利原生新能源越野架构打造,最大的...
豪车汇网,豪车跑车名车改装车讯与报价。我们不写导购教人买车,我们不写了然无趣的试驾,豪车汇只为爱车人士贡献偏国际化的汽车文化内容,我们的宗旨是:专注于汽车,但绝不局限于汽车。
最新问答 更多
用车养护
汽车行业关注
报导汽车行业资讯,深挖车界猛料
老虎车网
新鲜汽车资讯,实用车主指南
买车顾问
好玩、好看、有用才是我们的基本诉求