汽车行业关注(autochat.com.cn)11月21日报道——
近日有消息报道,蔚来汽车向美国专利局提交了一份关于电动车自毁系统的专利,并得到美国专利商标局表示,该专利就是让蔚来电动汽车如何利用自己的电池来结束自己的生命,而实际这是一种安全功能,可以防止灾难性的电池故障夺去人们的性命。

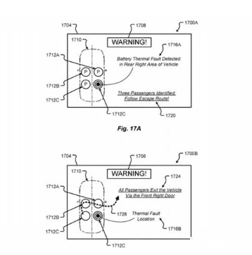
据专利文件介绍,车载传感器和电脑程序能在检测并认定车辆即将遭受电池热失控和电源管理系统大面积失效等无法挽救的情况时,会启动警报和信息来提醒乘客,然后自动驾驶程序驶向远离建筑且附近有水源的无人安全区。简单来说就是,车辆在遭遇人为无法控制是,能提醒乘客下车,车辆自行前往“自毁”场地。

此外,蔚来还考虑到在车辆充电过程中发生毁灭性故障时,汽车能够自动“吐出”充电插头,并快速驶离。如果车库门关闭时,还可自行冲出车库门。或者是出行受限的车主的汽车发生了此类故障,能够得到疏散帮助,通过外部信息警告附近的行人,来提供帮助。
不过,蔚来介绍这一专利是要完全基于自动驾驶场景下实现的,而当前环境中,还不能完全应用实车当中。但是蔚来汽车对这一专利的出发点是基于先进代表而激发,如果车辆在造成毁灭性灾害之前,会自动驶离人群及建筑物周围,确实能够将伤害降至最低。
自蔚来新车推出以来,先后发生了4起自燃事件,后来针对该问题蔚来对问题车辆进行全面召回,共计4,803台将为所有召回车辆免费更换搭载规格型号为NEV-P102模组的电池包,以消除上述安全隐患。

当然,新能源汽车自燃也不仅仅是蔚来汽车的问题。2019年8月,新能源汽车国家大数据联盟发布了《新能源汽车国家监管平台大数据安全监管成果报告》,数据显示,自今年5月起,新能源汽车国家监管平台共发现79起安全事故,涉及车辆96辆。在已查明起火原因的车辆中,41%的车辆处于行驶状态、40%的车辆处于静止状态、19%的车辆处于充电状态。
绝大部分事故车辆使用的是三元锂电池,占比达86%。着火原因中,58%的车辆起火源于电池问题,19%的车辆起火源于碰撞问题,还有部分车辆的起火原因源于浸水、零部件故障、使用问题等原因。意味着新能源仍然还有很多需要增进的空间。
对此,就有不少网友对蔚来这一功能进行了吐槽:“还是先把最基本的问题解决了,再弄新发明吧。”确实,如今影响新能源汽车的发展除了国家退补,也是消费者对目前新能源汽车的技术仍不放心。


不过,蔚来对于该项专利只是基于一个假设,只有当车辆发展的车能够完全自动驾驶时才适用。对于如今这类“智能”汽车的自动驾驶技术即便到达上路测试的标准,但也存在许多隐患。
欢迎订阅微信公众号《汽车行业关注》,第一时间汽车行业内幕消息,一起说说汽车圈子那些事。欢迎爆料!微信号autoWechat
如系本站原创文章,转载请注明出处:qi-che.com。
更多汽车新闻关注 请扫码qi-che.com公众微信号:

声明:
·凡注明为其他媒体来源的信息,均为转载自其他媒体,转载并不代表本网赞同其观点,也不代表本网对其真实性负责。如系qi-che.com原创文章,转载请注明出处:qi-che.com。
·您若对该稿件内容有任何疑问或质疑,请即与qi-che.com联系,本网将迅速给您回应并做处理。
邮箱mail@qi-che.com
处理时间:周一—周五 9:00—18:00
相关阅读
随着中国汽车市场新车销量持续下滑,传统乘用车(轿车、SUV、MPV)的需求下降,一直被忽视的皮卡车型有望迎来爆发期。6月6日,国家发改委等三部委共同下发《推动重点消费品更新升级畅通资源循环利用实施方案(2019-2020年)》,除逐步取消限购规定促进汽车消费外,皮卡车型的进一步解禁也被纳入改革的重点项目。实施方案中明确表示,鼓励有条件的地级及以下城市加快取消皮卡进城限制,充分发挥皮卡客货两用功能。...
日前网上盛传一封河北省保定市博野县检测站的通知书,内容提到:接县政府办公室通知,9月23日开始所有年检车辆必须安装ETC,未安装ETC的车辆不予年检,安装ETC后再办理年检业务。针对此消息,博野县官方回应了。微信公众号“博野快讯”发文称,县政府办公室从未发布过任何关于强制安装ETC的通知。不安装ETC设备不影响车辆进行年检,车辆办理ETC设备由广大车主、群众积极参与,自愿选择。此外,相关情况经过调...
今年以来,一直在新能源汽车领域动作频频的恒大,近日又因大规模、高标准的人才招募再度引得市场关注。9月9日,恒大新能源汽车全球研究总院启动全球招聘,计划招聘8000名新能源汽车产业世界顶级专家和技术精英,工作地点遍布中国、瑞典、德国、英国、荷兰、奥地利、意大利、日本、韩国等九个国家。造车狂人恒大“逆势揽才”今年的汽车行业可谓是日渐趋寒,无论是传统汽车业的领头羊如福特、通用、大众等车企动辄上千人的裁员...
最新内容
3月20日,日产(中国)投资有限公司宣布中国区高级管理层调整。日产(中国)表示,原日产(中国)投资有限公司总经理高级顾问刘新宇,将担任日产(中国)投资有限公司总经理,直接汇报给日产全球执委会委员兼中国区主席、东风汽车有限公司总裁马智欣(StephenMa),该任命自2026年4月1日起正式生效。这项任命生效后,刘新宇将成为日产中国首位中国籍总经理,而在此之前的总经理均为外籍。而原日产(中国)投资有...
3月20日,吉利银河官宣,吉利银河首款AI全地形硬核SUV正式定名为——吉利银河战舰700。据了解,这一命名采用“用户共创”方式,源自全球用户征名活动。3月16日,吉利银河公开首款科技硬核SUV全球征名TOP10高频词,包括战舰、卫士、磐石、星际、浩瀚、安全、方舟、护卫者、征途、S900,最终确定新车定名为吉利银河战舰700。作为吉利首款AI全地形硬核SUV,新车吉利原生新能源越野架构打造,最大的...
3月18日,众泰汽车股份有限公司(下称“众泰汽车”)发布关于全资子公司浙江深康汽车车身模具有限公司复工复产的公告。公告内容显示,众泰汽车的全资子公司浙江深康汽车车身模具有限公司(下称“深康车身”)于3月18日举行了复工复产暨启动仪式,深康车身正式恢复生产经营。众泰汽车是一家以汽车整车研发、制造及销售为核心业务的汽车整车制造企业,早年凭借模仿知名品牌车型的外观设计以及亲民的售价火速打开市场,但也因过...
3月18日,新款极狐阿尔法S5正式上市,新车共推出7款车型,补贴价区间为9.98-16.98万元,其中增程版售价9.98-11.98万元,纯电版售价11.18-16.88万元。新款极狐阿尔法S5在现有纯电版本的基础上增加了增程动力系统,满足更多用户的选择需求。作为年度改款车型,新款极狐阿尔法S5整体外观保持不变,主要针对细节进行调整,较新款车型相比更加时尚。新车继续采用封闭式前格栅,前包围有所变化...
3月19日,岚图汽车科技股份有限公司(下称“岚图汽车(”)正式以介绍上市的方式登录港股,股票代码07489.HK,成为“央国企高端新能源第一股”。此次上市采用“私有化+分拆”模式,母公司东风集团股份从港交所退市,实现100%国有控股,岚图作为独立平台获得独立估值和融资渠道。岚图汽车的上市,其实是东风汽车集团整体战略布局中的关键一环。一直以来,东风汽车集团在传统燃油车领域有着深厚的积淀,但在新能源汽...
汽车行业关注是了解中国汽车品牌,汽车经销商的汽车行业资讯传播平台。以全媒体结合的方式为汽车行业传播权威的汽车资讯,助力中国汽车品牌传播不断创新。新车上市汽车大全汽车新闻汽车品牌销量榜以及汽车经销商报价大全。
最新问答 更多
用车养护
汽车行业关注
报导汽车行业资讯,深挖车界猛料
老虎车网
新鲜汽车资讯,实用车主指南
买车顾问
好玩、好看、有用才是我们的基本诉求