他发表的作品

  • 竞争激烈!凯迪拉克单月2.7万辆,有望重回二线豪华“冠军”

    汽车行业关注 JJ 2021-01-05

    汽车行业关注(autochat.com.cn)01月05日报道——尽管2020年遭遇前所未有的新冠疫情,致国内乘用车市场出现较大的影响,但豪华品牌依旧保持高增长趋势,不管是一线或是二线豪华品牌都屡创新高。其中,雷克萨斯自进入2020年就持续多月领先凯迪拉克,没想到在最后一个月凯迪拉克创下了历史之最。据凯迪拉克官方最新公布成绩显示,在2020年12月份,凯迪拉克销量达到27,524辆,同比大涨55....

  • 央视报导:国产特斯拉ModelY降价近15万,订购电话被打爆

    汽车行业关注 JJ 2021-01-05

    汽车行业关注(autochat.com.cn)01月05日报道——随着新能源汽车需求不断提高,高端电动车市场也逐渐向好。为提高市场竞争力,特斯拉于今年初进行了国产第二款车型的大幅降价,迅速引爆市场。央视报道,特斯拉ModelY元旦期间遭遇“爆单”,订购电话被打爆了。央广财经评论员表示,近日,国产特斯拉ModelY宣布降价,整体价格下调15万左右。有网传ModelY官方定价公布十小时内,总订购量就超...

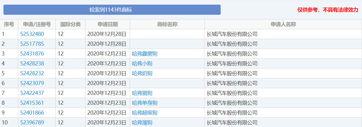
  • 长城汽车申请“哈弗单身狗”等商标,再引网友热议!

    汽车行业关注 JJ 2021-01-05

    汽车行业关注(autochat.com.cn)01月05日报道——自哈弗汽车开始以“动物系”命名旗下车型后,长城汽车迎来较高的热度。例如通过“大狗”的命名方式,未上市就引起较高的关注。为持续保持热度,长城汽车又不断申请注册了更多“奇奇怪怪”的商标名称。近日,有消息曝光长城汽车注册了“单身狗”、“奶狗”等商标,在网上又引起巨大争议。从国家商标局方面获悉,长城汽车股份有限公司已申请注册了多个车型名称的...

  • 因为奔驰4S店的一个疏忽,车主被限制了“自由”

    汽车行业关注 JJ 2021-01-04

    汽车行业关注(autochat.com.cn)01月04日报道——继国内多地汽车零部件被检测出阳性的新闻,让相关涉事4S店的检查变得更为严控。日前,一名奔驰车主因为涉事4S点的一个“误操作”被限制“自由”,原因是该4S店误将车主录入名单,被进行疫情管控。据新浪微博博主“宁思潇潇”爆料,在2020年底即将迎接新年之时,自己却遭遇一个“意外”。原因是北京波士瑞达因工作疏漏,让博主遇到无妄之灾,需要在家...

  • 三大新势力销量创新高!累计销量却不及特斯拉30%

    汽车行业关注 JJ 2021-01-04

    汽车行业关注(autochat.com.cn)01月04日报道——随着2020年已经过去,不被看好的新势力车企在过去一年里走出了较为漂亮的走势。以作为头部新势力的蔚来汽车、小鹏汽车及理想汽车最新披露的销量报告即可看出。尽管2020年年初,全球新车市场就遭遇前所未有的新能源市场萎缩及疫情冲击,致新能源汽车市场出现新低,但得益于疫情实现有效控制下,整体车市增长开始平稳向上,加上下半年消费需求得到明显释...

  • 拜腾内部文件曝光!继续停工半年,中国区内地员工全员待岗

    汽车行业关注 JJ 2021-01-04

    汽车行业关注(autochat.com.cn)01月04日报道——自主车企拜腾汽车因资金与运营问题,自今年年中就遭遇“停摆”,持续停工6个月之后,公司内部再次发布通知称因不具备复工复产条件,将延长停工停产至2021年6月。 据媒体曝光一封《中国区停工停产延期通知书》内部邮件显示,拜腾通知中国区(不含香港)致全体员工,因公司目前仍不具备复工复产条件,经研究决定,公司自2021年1月1日起,...

  • 加强新能源汽车管理遏制盲目投资乱象,补贴再退坡205

    汽车行业关注 JJ 2021-01-03

    汽车行业关注(autochat.com.cn)01月03日报道——为进一步落实和完善国内新能源汽车推广,以及扩大国内新能源汽车市场竞争,财政部、工业和信息化部、科技部、发展改革委日前发布《关于进一步完善新能源汽车推广应用财政补贴政策通知》。通知指出,为加强汽车投资项目和生产准入管理,严控增量、优化存量,严格执行新建企业和扩大产能项目等规范要求。对2021年新能源汽车购置补贴标准、产品技术指标门槛要...

  • 特斯拉2020全年销量不及50万辆,网友:只要继续降

    汽车行业关注 JJ 2021-01-03

    汽车行业关注(autochat.com.cn)01月03日报道——要说今年表现最佳的电动车品牌非特斯拉莫属,不仅是其领先的技术或者酷炫的外观吸引着消费者,更是其通过不断的降价赢得市场竞争力。至此,特斯拉日前发布了全年业绩报告,累计新车交付不及当初目标的50万辆,仅仅相差450辆。销量不及50万辆,但特斯拉的产量实现超过了50万辆。对于特斯拉2020年年度总销量数据来看,销量为499,550辆,仅差...

  • 新能源补贴再退坡20%!这几家畅销车企将受多大影响?

    汽车行业关注 JJ 2021-01-02

    汽车行业关注(autochat.com.cn)01月02日报道——为扩大国内新能源汽车市场竞争,2021年新能源汽车补贴政策再一次退坡,其中新能源补贴政策相比2020年退坡20%,意味着众多新能源车企都将再次受到影响。 日前,财政部、工信部等四部门联合发布关于进一步完善新能源汽车推广应用财政补贴政策的多项通知。通知明确,2021年新能源汽车补贴标准在2020年基础上退坡20%;公共交通等...

  • 上汽高端品牌上汽智己B级轿车曝光,车长达5米

    汽车行业关注 JJ 2021-01-02

    汽车行业关注(autochat.com.cn)01月02日报道——当国内个人电动车市场销量逐渐走高,越来越多车企布局自主高端品牌。继红旗趋势走高,东风汽车和长城汽车以及上汽集团等车企都在推进高端电动车型计划,试图抢占高端电动市场。近日,上汽集团的高端电动品牌上汽智己最新车型计划遭到曝光。据媒体报道,日前一份代号“EP33”的车型文件遭到曝光,内容显示,这是上汽全新L品牌(智已汽车)即将推出的首款纯...

  • 特斯拉降价再次被提前泄露,又一大波车主被“收割”

    汽车行业关注 JJ 2021-01-02

    汽车行业关注(autochat.com.cn)01月02日报道——昨日,特斯拉正式开启ModelY预定渠道,进一步下调了该车型的售价,两款车型分别为33.99、36.99万元,两款降价超10万元。除了ModelY车型的降价较大外,特斯拉还正式推出了新款Model3车型,新车也出现不同程度的价格下调。但更让车主无奈的是,新车调整售价之前特斯拉价格早已知晓,意味着又有一批车主被“割韭菜“了。 ...

  • 针对安装人体红外监控员工,上汽集团已作出官方回应

    汽车行业关注 JJ 2020-12-31

    汽车行业关注(autochat.com.cn)12月31日报道——12月30日,一则关于网友爆料某车企为提高员工工作效率,安装了人体红外传感器监控员工。针对此事,上汽集团官方已作出回应称,这仅仅是试运行,2周后将全部拆除。 日前,有网友爆料,某车企为了提高员工的工作效率,进行了更为严格的实时监控。从一份从曝光的文件来看,这是上汽集团今年展开第九次总经理会议后的工作要求。为了更好的合理安排...

  • 特斯拉隐藏式门把手被冻住无法开启 官方:可用拳头锤击

    汽车行业关注 JJ 2020-12-31

    汽车行业关注(autochat.com.cn)12月31日报道——由于隐藏式门把能够更好的降低风阻,增加续航里程,成为越来越多新能源汽车的设计,殊不知这样的设计也遭遇了一些问题。日前,有网友爆料,位于较寒冷地区的部分特斯拉车主,准备使用车辆时发现车门开不了,原因是车门把手“冻”得无法开启。据特斯拉车主拍摄的视频可见,不管这位特斯拉车主如何刷卡片钥匙,特斯拉门把手都没有反应,尽管车主如何按压隐藏式门...

  • 政策影响!宝马将加速电动车型,专家并不看好其发展

    汽车行业关注 JJ 2020-12-30

    汽车行业关注(autochat.com.cn)12月30日报道——在新能源汽车逐渐盛行的时代,特斯拉等电动品牌已证明其在不少地区都将有着市场,让越来越多车企纷纷布局电动汽车。加之政策影响,曾经拒绝跟风电气化的宝马品牌,在此对电动化目标提速。 据外媒报道,宝马汽车CEO奥利弗·齐普策日前在接受采访时表示,宝马集团计划加大电动汽车的生产。在2021年到2023年期间,此次宝马的计划又将比原计...

  • 零下30度!疑似多辆哈弗F7x在俄罗斯发生起火

    汽车行业关注 JJ 2020-12-30

    汽车行业关注(autochat.com.cn)12月30日报道——哈弗作为国内自主品牌长城汽车旗下系列之一,在国内持续畅销,这也支撑了长城将品牌推向海外市场,并在俄罗斯建立的首家海外工厂。日前,却有媒体报道,长城哈弗在国外基地生产的哈弗F7x,疑似发生了多起燃烧事故。据媒体报道,从哈弗俄罗斯粉丝俱乐部所了解的信息来看,近期哈弗F7x在俄罗斯当地疑似发生了多起燃烧事故,从其论坛看至少发生了5起。值得...

返回qi-che首页

汽车行业关注

报导汽车行业资讯,深挖车界猛料

豪车汇

专注于汽车,但绝不局限与汽车

买车顾问

好玩、好看、有用才是我们的基本诉求