小鹏P5车型460版本延期交付问题再次成为关注焦点。3月15日,148位小鹏P5 460车型的准车主发表了一份关于“致何小鹏先生的一封信”的联合声明。据“小鹏P5-460车主致何小鹏先生的一封信”了解,2021年10月起多位消费者陆续支付定金订购小鹏P5 460版本车型,起初销售方承诺11月底或12月日期未交付,之后又告知12月底年前可提车,春节前又告知准车主预计节后才能交付,然儿,一直到目前为止,依然有大量的准车主未配车。期间部分车主由于年前急需用车改配了价格更贵的550版本并很快配车,但未改配的准车主在2月14日被告知了一份“马赛克”版的改配方案,明明是电车最重要的电池供应商,却用“小鹏自组符合国家标准电池”含糊带过。对此,等了四个多月心寒了的准车主在声明中向何小鹏以及小鹏汽车提出了三大诉求:针对P5车型460版本交付延期的真实原因做到公开透明;透明配车进度并量化补偿明细;公开致歉。

截至目前,小鹏汽车CEO兼创始人何小鹏暂未对上述消息做出回应。
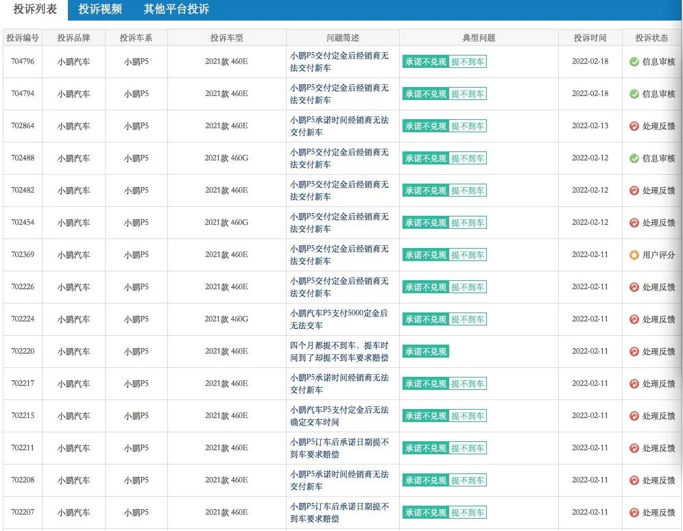
事实上,小鹏P5车型460版本延期交付的问题在近几个月全国各地的准车主都有反映,此前小鹏P5维权群里的上百名车主采用接龙的方式进行维权发声,同时小鹏汽车也遭到车主的集体控诉,投诉问题主要是因交车时间延期、承诺不兑现、欺诈消费者等。汽车行业关注从第三方汽车投诉网站车质网以及黑猫投诉网站上查看时,车质网平台显示了多条“小鹏P5交付定金后经销商无法交付新车”、“四个月都提不到车,提车时间到了却提不到车要求赔偿”等问题,投诉问题包括承诺不兑现、提不到车等。而“用户7735854720”也在黑猫投诉网站上发起投诉,投诉内容包括:在2021年10月预定小鹏P5 460G版本并缴纳50000元定金,随后签署购车协议,销售人员告知11月底或12月交车,但是直到最后期限仍然没有交付新车,而购车合同中对于车辆交付的具体期限不明确,只有“小鹏汽车将在您订购的汽车到店并且您的购车价款已全额付清后的合理时间内,向您交付汽车”,车主认为这样含糊不清、并且对小鹏汽车一方非常有利字句的购车合同存在问题。除此之外,小鹏汽车涉嫌歧视消费者,因为在2021年12月至2022年1月同期更晚预定其它小鹏P5版本车型的车主都已经拿到车,而小鹏汽车对于这种做法并没有给出合理的解释。
对此,小鹏汽车相关负责人向相关媒体表示:“因为小鹏P5是新投产的车型,11月3日之前系统都没有给出预计的交付周期,门店销售是按照前几个月的平均交付周期向客户做的说明,给客户带来的不便,真的深表歉意”。小鹏汽车相关负责人还指出:从去年开始,小鹏汽车也一直在分批次联系客户同时进行组织生产,但由于小鹏P5车型460版本用的电池是磷酸铁锂以及其他一些零部件都比较短缺,因而导致小鹏P5车型460版本的车辆产能特别受限,为此小鹏P5车型460版本延期交付的客户可以选择改退、改配或者退订三种解决方案,当然车主也可以选择继续等待,但对于延期交付的车主,小鹏汽车相关负责人表示目前暂无赔偿计划。


小鹏汽车成立于2014年,目前在售车型共有三款,包括小鹏汽车P7、小鹏汽车G3及小鹏汽车P5,小鹏 P5 是小鹏旗下第三款量产车型,于2021年9月15日正式上市,定位紧凑型纯电动轿车,截至目前,小鹏 P5 在售车型共10款,其中,460G/550G、460E/550E、550P/600P于2021年9月15日推出,综合补贴后售价为15.79-22.39万元,460G/460E搭载宁德时代的磷酸铁锂电池,550G/550E/550P/600P搭载肇庆小鹏及宁德时代三元锂电池。460G+/460E+/510G/510车型于今年2月14日推出,补贴后售价为16.47-19.33万元,四款车型的电池包供应商均为肇庆小鹏,前两款车型为磷酸铁锂电池,后两款为三元锂电池。据了解,小鹏P5 460版本的交付时间在18-19周,而最低配的460G和次低配的460E已经无法接受预定,也就是小鹏P5两款采用宁德时代磷酸铁锂电池的车型已经无法接受预定,而其它版本车型交付在4-5周时间。

在销量方面,相关数据显示,2021年全年小鹏汽车累计交付98155辆,成为新势力销冠(蔚来和理想分别为91429辆和90491辆)。进入2022年后,今年1月小鹏汽车共交付新车12922辆,2月交付新车6225辆,两个月份累计交付新车19417辆,其中,1-2月,小鹏汽车第三款量产车小鹏P5累计交付6088辆。
如系本站原创文章,转载请注明出处:qi-che.com。
更多汽车新闻关注 请扫码qi-che.com公众微信号:

声明:
·凡注明为其他媒体来源的信息,均为转载自其他媒体,转载并不代表本网赞同其观点,也不代表本网对其真实性负责。如系qi-che.com原创文章,转载请注明出处:qi-che.com。
·您若对该稿件内容有任何疑问或质疑,请即与qi-che.com联系,本网将迅速给您回应并做处理。
邮箱mail@qi-che.com
处理时间:周一—周五 9:00—18:00
相关阅读
随着中国汽车市场新车销量持续下滑,传统乘用车(轿车、SUV、MPV)的需求下降,一直被忽视的皮卡车型有望迎来爆发期。6月6日,国家发改委等三部委共同下发《推动重点消费品更新升级畅通资源循环利用实施方案(2019-2020年)》,除逐步取消限购规定促进汽车消费外,皮卡车型的进一步解禁也被纳入改革的重点项目。实施方案中明确表示,鼓励有条件的地级及以下城市加快取消皮卡进城限制,充分发挥皮卡客货两用功能。...
日前网上盛传一封河北省保定市博野县检测站的通知书,内容提到:接县政府办公室通知,9月23日开始所有年检车辆必须安装ETC,未安装ETC的车辆不予年检,安装ETC后再办理年检业务。针对此消息,博野县官方回应了。微信公众号“博野快讯”发文称,县政府办公室从未发布过任何关于强制安装ETC的通知。不安装ETC设备不影响车辆进行年检,车辆办理ETC设备由广大车主、群众积极参与,自愿选择。此外,相关情况经过调...
今年以来,一直在新能源汽车领域动作频频的恒大,近日又因大规模、高标准的人才招募再度引得市场关注。9月9日,恒大新能源汽车全球研究总院启动全球招聘,计划招聘8000名新能源汽车产业世界顶级专家和技术精英,工作地点遍布中国、瑞典、德国、英国、荷兰、奥地利、意大利、日本、韩国等九个国家。造车狂人恒大“逆势揽才”今年的汽车行业可谓是日渐趋寒,无论是传统汽车业的领头羊如福特、通用、大众等车企动辄上千人的裁员...
最新内容
3月20日,阿维塔旗下新款阿维塔12正式开启预售。新车共推出7款车型,预售价为29.99-43.99万元。其中,增程版车型售价为29.99-31.99万元;纯电版车型售价为30.99-43.99万元。阿维塔12是阿维塔旗下第二款车型,于2023年11月上市。本次新车为新款车型,外观设计变化并不是很大,主要对配置和动力进行升级,搭载太行智控2.0技术和华为乾崑新一代双光路图像级激光雷达,并对门把手、...
3月20日,北京汽车股份有限公司(下称“北京汽车”)发布公告:由于工作变动,王昊将不再担任董事长、执行董事、董事会战略与可持续发展委员会主任及董事会提名委员会主任,朱雁将不再担任执行董事及战略与可持续发展委员会成员,孙力将不再担任非执行董事及战略与可持续发展委员会成员。上述变动均自新董事委任获批准之日起生效。同时,北京汽车董事会建议委任张国富为非执行董事。如股东会批准张国富任非执行董事,则进一步提...
3月20日,日产(中国)投资有限公司宣布中国区高级管理层调整。日产(中国)表示,原日产(中国)投资有限公司总经理高级顾问刘新宇,将担任日产(中国)投资有限公司总经理,直接汇报给日产全球执委会委员兼中国区主席、东风汽车有限公司总裁马智欣(StephenMa),该任命自2026年4月1日起正式生效。这项任命生效后,刘新宇将成为日产中国首位中国籍总经理,而在此之前的总经理均为外籍。而原日产(中国)投资有...
3月20日,吉利银河官宣,吉利银河首款AI全地形硬核SUV正式定名为——吉利银河战舰700。据了解,这一命名采用“用户共创”方式,源自全球用户征名活动。3月16日,吉利银河公开首款科技硬核SUV全球征名TOP10高频词,包括战舰、卫士、磐石、星际、浩瀚、安全、方舟、护卫者、征途、S900,最终确定新车定名为吉利银河战舰700。作为吉利首款AI全地形硬核SUV,新车吉利原生新能源越野架构打造,最大的...
3月18日,众泰汽车股份有限公司(下称“众泰汽车”)发布关于全资子公司浙江深康汽车车身模具有限公司复工复产的公告。公告内容显示,众泰汽车的全资子公司浙江深康汽车车身模具有限公司(下称“深康车身”)于3月18日举行了复工复产暨启动仪式,深康车身正式恢复生产经营。众泰汽车是一家以汽车整车研发、制造及销售为核心业务的汽车整车制造企业,早年凭借模仿知名品牌车型的外观设计以及亲民的售价火速打开市场,但也因过...
汽车行业关注是了解中国汽车品牌,汽车经销商的汽车行业资讯传播平台。以全媒体结合的方式为汽车行业传播权威的汽车资讯,助力中国汽车品牌传播不断创新。新车上市汽车大全汽车新闻汽车品牌销量榜以及汽车经销商报价大全。
最新问答 更多
用车养护
汽车行业关注
报导汽车行业资讯,深挖车界猛料
老虎车网
新鲜汽车资讯,实用车主指南
买车顾问
好玩、好看、有用才是我们的基本诉求