您的位置: 老虎车网>国内车市>观致汽车欠薪停摆!

观致汽车欠薪停摆!

来自:汽车行业关注 作者:xiaoxin 发布时间:2023-03-28

一切信息都显示,曾经定位高端的观致汽车,如今已经走到了悬崖边上。

据《时代周报》报道,位于常熟经济技术开发区的观致汽车有限公司也就是观致汽车的生产基地,如今门前却一片凄清,保安室里只有两名外包保安在值班。

据值班保安介绍,现在只有白领上班,蓝领全部居家。值班保安表示,厂区都没人了,都停产了……这些白领们每天早上8点上班,下午5点下班,他们的薪水已经被欠4个多月,社保也早就断缴……没办法,公司没正儿八经地彻底宣布倒闭,这些人必须每天要来。

在公司两旁原本用于停放生产车辆的区域,现在已是空空荡荡一片荒芜,周边的围栏上也杂草丛生,厂区内感受不到丝毫的生气与活力。

值班保安告诉记者,这里是观致汽车的生产基地,在上海还有研发部分,但也已撤离。据天眼查显示,观致汽车研发(上海)有限公司为观致汽车子公司,注册地址为上海市普陀区同普路1220号9楼903-3室,实探后发现这里早已成为其它公司的办公区。

撤离的不止公司,还有销售点。3月15日,时代周报记者来到高德地图显示的位于上海市闵行区中春路6785号C栋的观致汽车销售点,发现这里已经变更为沃尔沃门店。据3月20日观致汽车官方推文,目前观致汽车在全国总服务网点已增加至256家,覆盖全国32个省级行政区,171个城市,但《汽车行业关注》查询观致汽车官网发现,目前江苏、浙江、上海、安徽等地并未显示相关销售点。

image

始于奇瑞,终于宝能!

2007年12月,奇瑞汽车与以色列集团共同出资成立奇瑞量子汽车有限公司,起初奇瑞和以色列集团分别持有55%和45%的股权,后来经过谈判在2009年调整为双方各持50%。

2011年11月,奇瑞量子汽车有限公司更名为观致汽车有限公司,并发布汽车品牌“观致汽车”。2013年11月,观致汽车首次亮相第11届广州国际车展,并上市期首款量产车型——观致3。当时,观致3凭借出色的设计、品质以及安全等表现赢得业内肯定,在欧洲新车碰撞测试(E-NCAP)中取得历史最高分,成为首个获得Euro NCAP五星评级的中国车型,还是第一个获得红点设计大奖的中国品牌。可惜的是,观致3的市场表现非常惨淡,2014年仅售出6967辆,2015年售出14247辆。

image

至2016,观致推出第二款量产车——观致5,售价13.99-19.49万元,但市场表现同样不佳。数据显示,2016年观致汽车累计销量24188辆,其中观致5为10878辆,观致3为13310辆。

销量危机直接体现在了财报上,2014年-2016观致汽车年亏损分别为22亿元、25亿元和19亿元,累计亏损66亿元。2017年,奇瑞汽车转让观致汽车股权,宝能汽车成为接盘侠,后者以66.3亿元收购观致汽车51%股权成为最大股东。

公开消息显示,宝能集团旗下拥有综合物业开发、金融、现代物流、文化旅游、民生产业等五大板块,2017年姚振华正式宣布跨界造车并成立宝能汽车集团,而观致汽车可以说是宝能造车的起点,也是至关重要的一环。为了能够带动宝能汽车业务的发展,姚振华还挖来了三位原北汽的高管。彼时,宝能集团董事长姚振华信心满满,计划从2018年开始连续五年每年向观致汽车投资100亿元用于新车研发,到2022年预计推出26款新车型。

不过,入主宝能集团后,观致汽车的情况并没有得到改善,其前期主要依靠联动云租车平台实现销量增长,但其在终端市场的表现却一言难尽。从2021年开始,观致汽车开始出现内部员工流失、外部供应商和经销商维权等问题,目前其经营状况尤为困难。据查询,过去几年里相关人民法院对通过金融机构、现场调查等方式查询观致汽车财产信息线索,结论几乎都是观致汽车已经没有立即可供执行的财产。

查询中国裁判文书网了解到,包括北京、上海、河北、浙江、江苏等在内的9个省市的人民法院对观致汽车共下达185份裁定书,其中2022年为64份,其中案由为执行的裁定书共52份。据查询,过去几年里上述人民法院对通过金融机构、现场调查等方式查询观致汽车财产信息线索,结论几乎都是观致汽车已经没有立即可供执行的财产。

imageimage

327日发布的《福耀集团(上海)汽车玻璃有限公司、观致汽车有限公司承揽合同纠纷首次执行执行裁定书》显示,江苏省常熟市人民法院向观致汽车发出执行通知书、报告财产令、财产申报表等法律文书,并传唤其到本院接受调查询问,责令其申报财产并立即履行生效法律文书确定的义务,但观致汽车未予履行。

据裁判书显示,经江苏省常熟市人民法院受理观致汽车有限公司为被执行人的执行案件数十件,被执行人名下账户被轮候查封数十次,目前无可供执行的存款。被执行人在常熟拥有不动产,但这些不动产不仅有大额抵押,并且被数十次轮候查封,目前已有金融机构债权人提起破产申请,相关法院尚在审查之中,尚不宜处置。被执行人名下登记有的车牌号为三十三辆,上述车辆已被数十次轮候查封,车辆管理部门因技术原因无法再次查封。因上述车辆未实际扣押,故暂无法处置。此外,江苏省常熟市人民法院对被执行人的经营场所进行现场调查,发现被执行人已歇业停,该被执行人的机器设备均已被查封。

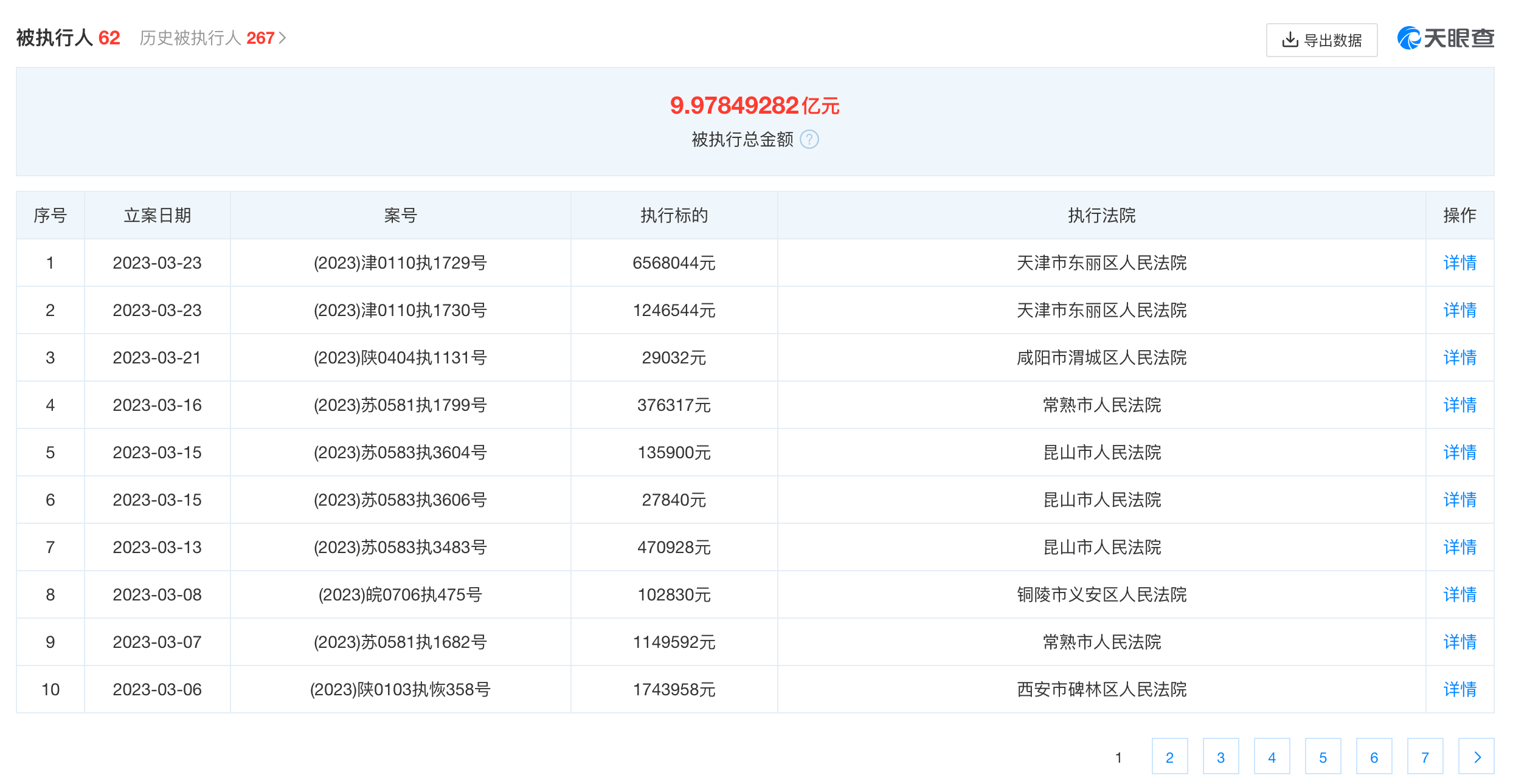
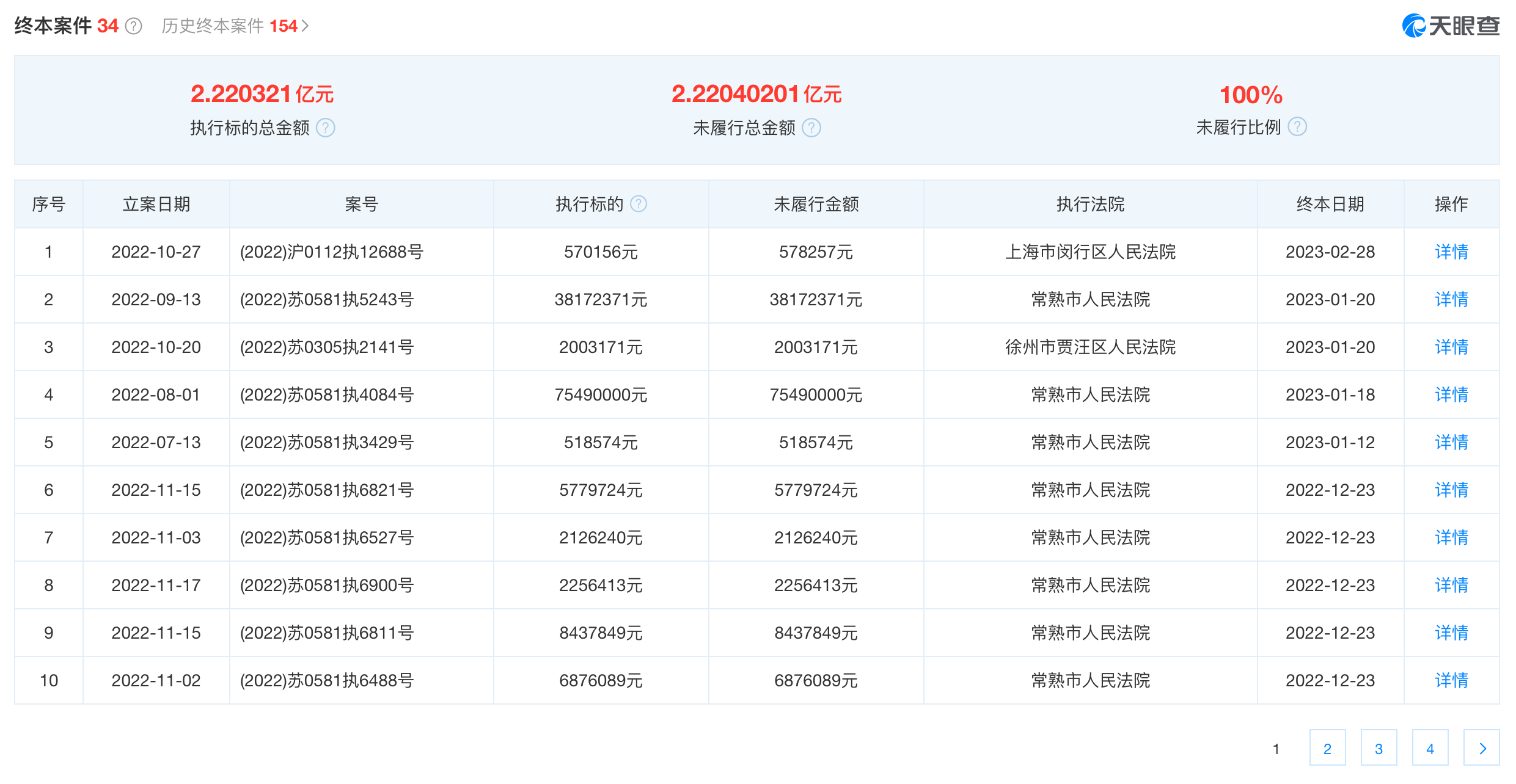
据天眼查显示,目前观致汽车风险信息已经超过999条,身份为被告/被上诉人法律诉讼金额为5.05亿元;限制消费令199次;终本案件执行标的总金额2.20亿元,其中未履行金额2.20亿元;此外,观致汽车被苏州、常熟、咸阳、广州增城区、上海黄浦区、深圳罗湖区、成都市龙泉驿区等多地人民法院列为被执行人及失信被执行人,累计被执行9.98亿元。

imageimageimage

值得一提的是,观致汽车大股东宝能集团的日子也不好过。宝能从去年初开始就陷入流动性危机,面临理财产品逾期兑、债务违约等困境,不得不通过通过减持所持有上市公司股权、质押股份、处置资产等方式持续回笼资金。

市场竞争残酷,没有一家品牌是永恒的,在市场经济的长河中,有许多品牌曾风光无限,后来日落西山,最终消失。如今,宝沃已被裁定破产,观致被曝停摆,也着实令人惋惜。以后,观致车主们想要修车,就很难很难了。

更多网站功能:汽车行业关注 game news

如系本站原创文章,转载请注明出处:qi-che.com。

更多汽车新闻关注 请扫码qi-che.com公众微信号:

声明:

·凡注明为其他媒体来源的信息,均为转载自其他媒体,转载并不代表本网赞同其观点,也不代表本网对其真实性负责。如系qi-che.com原创文章,转载请注明出处:qi-che.com。

·您若对该稿件内容有任何疑问或质疑,请即与qi-che.com联系,本网将迅速给您回应并做处理。

邮箱mail@qi-che.com

处理时间:周一—周五 9:00—18:00

网友评论仅提供其表达个人看法,并不表明本网站立场

相关阅读

  • 2019皮卡全国解禁最新消息,取消皮卡进城限制意味着皮卡解禁?

    汽车行业关注 吴济平

    随着中国汽车市场新车销量持续下滑,传统乘用车(轿车、SUV、MPV)的需求下降,一直被忽视的皮卡车型有望迎来爆发期。6月6日,国家发改委等三部委共同下发《推动重点消费品更新升级畅通资源循环利用实施方案(2019-2020年)》,除逐步取消限购规定促进汽车消费外,皮卡车型的进一步解禁也被纳入改革的重点项目。实施方案中明确表示,鼓励有条件的地级及以下城市加快取消皮卡进城限制,充分发挥皮卡客货两用功能。...

  • 未安装ETC车辆不予年检?河北博野:检测站工作人员理解有误

    汽车行业关注 吴济平

    日前网上盛传一封河北省保定市博野县检测站的通知书,内容提到:接县政府办公室通知,9月23日开始所有年检车辆必须安装ETC,未安装ETC的车辆不予年检,安装ETC后再办理年检业务。针对此消息,博野县官方回应了。微信公众号“博野快讯”发文称,县政府办公室从未发布过任何关于强制安装ETC的通知。不安装ETC设备不影响车辆进行年检,车辆办理ETC设备由广大车主、群众积极参与,自愿选择。此外,相关情况经过调...

  • 全球汽车市场陷入低迷 恒大造车“逆势揽才”的底气是什么?

    今年以来,一直在新能源汽车领域动作频频的恒大,近日又因大规模、高标准的人才招募再度引得市场关注。9月9日,恒大新能源汽车全球研究总院启动全球招聘,计划招聘8000名新能源汽车产业世界顶级专家和技术精英,工作地点遍布中国、瑞典、德国、英国、荷兰、奥地利、意大利、日本、韩国等九个国家。造车狂人恒大“逆势揽才”今年的汽车行业可谓是日渐趋寒,无论是传统汽车业的领头羊如福特、通用、大众等车企动辄上千人的裁员...

最新内容

  • 宝马中国官宣!副总裁退休

    汽车行业关注 2025-10-14

    据媒体报道,根据慕尼黑宝马总部10月13日发出的“管理层级”邮件,宝马大中华区企业事务副总裁孙玮退休。邮件中,宝马集团称赞孙玮对公司的贡献是“卓越服务和奉献”级别。孙玮不仅是宝马集团在中国事务的沟通者,也是中国汽车行业、媒体和网络广受尊敬的人物。资料显示,孙玮拥有30年的汽车行业从业经验,曾长期供职于沃尔沃。1995年,孙玮开始在沃尔沃中国销售有限公司供职,曾任沃尔沃中国市场总监。2012年5月,...

  • 保时捷全球销量公布,中国市场跌26%

    汽车行业关注 2025-10-14

    日前,德国豪华汽车制造商保时捷发布最新数据显示,2025年前三季度全球市场销量为212509辆,同比下降6%,其中德国和中国市场出现大幅下滑。细分市场来看,保时捷在德国本土市场销量同比下滑16%至22492辆,在欧洲(德国除外)市场同比下滑4%至50286辆,在海外和新兴市场同比增长3%至43090辆。从销量规模来看,保时捷最大单一市场是北美洲,同比增长5%至64446辆,销量规模大幅超过中国市场...

  • 设计大改!全新丰田卡罗拉概念车官图

    汽车行业关注 2025-10-14

    日前,丰田汽车董事长丰田章男在为10月13日举办的品牌大会进行预热活动中播放了一段预告片,预告片最后一台从未见过的神秘车型闪现,其车辆背后印有“COROLLA”字样,市场猜测这是新一代COROLLA,其设计发生了翻天覆地的变化。丰田章男透露,该车计划在10月29日举办的2025东京车展上展示,但提前播放了预告片。结合预告图和官图来看,新车与现款卡罗拉有着很大的差异,其看上去更像是一款运动车型。全新...

  • 极星汽车被曝关闭国内最后一家直营门店

    老虎车网 2025-10-13

    今日,据蓝鲸汽车报道,极星汽车(Polestar)已关闭位于上海前滩L+Plaza的直营门店,全面转线上销售。据了解,该门店是极星汽车在国内的最后一家直营门店。针对这一消息,极星中国回应媒体称,正在战略性地调整在华业务模式,以更好地契合中国市场多样化、快速变化的消费需求。与此同时,还指出上海的门店虽然关闭了,但极星在中国的其他业务均不受影响,车主的权益也不会受到任何影响。资料显示:极星最早是沃尔沃...

  • 警方通报!成都小米SU7起火事故

    老虎车网 2025-10-13

    10月13日,四川成都警方针对今日网络流传关于小米SU7起火事故一事发布通报。通报内容为:10月13日凌晨3时18分许,我市天府大道南段发生一起道路交通事故。接警后,公安、消防、医疗救援等部门迅速到场处置。经初步调查,当事人邓某某(男,31岁)驾驶川AC****9号小型轿车,沿天府大道由北向南行驶。车辆在通过天府五街路口进入天府大道南段后,与前方同向由李某驾驶的川AA****3号小型轿车发生碰撞,...

汽车行业关注是了解中国汽车品牌,汽车经销商的汽车行业资讯传播平台。以全媒体结合的方式为汽车行业传播权威的汽车资讯,助力中国汽车品牌传播不断创新。新车上市汽车大全汽车新闻汽车品牌销量榜以及汽车经销商报价大全。

用车养护

品牌选车

    选择品牌
      选择车系

      返回qi-che.com首页

      汽车行业关注

      报导汽车行业资讯,深挖车界猛料

      老虎车网

      新鲜汽车资讯,实用车主指南

      买车顾问

      好玩、好看、有用才是我们的基本诉求