《汽车行业关注》从天眼查了解,7月10日,观致汽车有限公司新增3条被执行人信息,执行标的合计1236万余元,执行法院为苏州市中级人民法院、常熟市人民法院。



天眼查信息显示,观致汽车有限公司位于江苏省苏州市,成立于2007年12月,是一家以从事汽车制造业为主的企业,法定代表人为何华,公司注册资本1692548万人民币,实缴资本1692548万人民币,并已于2019年完成了股权转让,交易金额15.6亿人民币。天眼查股权结构图显示,观致汽车有限公司杭州诚茂投资有限公司、芜湖奇瑞汽车投资有限公司和Quantum(2007)LLC三方共同控股,控股比例分别为63%、25%和12%。

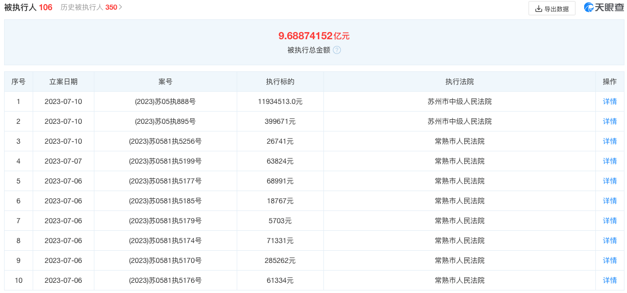
进入2023年以来,观致汽车有限公司被执行人信息一直不断在增加,截至发稿前,该公司存在上百条被执行人信息,被执行总金额超9.6亿元,此外还存在多条失信被执行人、限制消费令及终本案件信息,未履行总金额超4.2亿元。

说到观致汽车,现在虽无人问津,但在早期,观致汽车堪称国内较早定位高端的自主品牌并且起点也不低,但如今的观致汽车已身处生死存亡的悬崖边上。观致汽车创立起点颇高,最早于2007年成立,注册资本约169.25亿元,背靠奇瑞汽车和以色列量子基金两大股东,并且公司高管都是用高薪从宝马、奥迪、捷豹、大众等国际知名汽车品牌挖来的人才。

2013年观致汽车首款量产车型观致3在国内首发,2014年-2016年期间观致汽车先后推出了观致3五门版、观致3都市SUV、观致5 SUV及观致3 GT共计4款车型,2017年观致汽车卖出1.5万辆新车,但此后销量一直不佳,并且不断亏损。数据显示,2014年-2016年,观致汽车三年累计亏损66亿元,成为奇瑞汽车“大包袱”,无奈之下,奇瑞汽车最终将观致汽车甩卖给了宝能汽车。
宝能集团收购观致汽车后,观致汽车迎来新“曙光”,2018年这一年观致汽车销量冲上了6.32万辆,同比增长320%,但很快观致汽车的销量又迅速出现下跌。2019年销量仅2.27万辆,同比下滑63.4%。到了2020年,观致汽车发布观致7新车,但同样未能扭转颓局,当年销量再次跌至1.31万辆。2021年观致汽车面临内部员工流失、外部供应商和经销商维权、销售失利等诸多因素影响下,其销量再度腰斩,2021年观致汽车销量仅5200辆,平均月销不足450辆。到了2022年,观致汽车一度深陷负面缠身局面,而其“大金主”宝能汽车处境也是面临相同的处境。

市场的竞争永远是残酷的,更没有哪一家品牌可以成为永恒,眼下,在被执行人信息不断增多、产线被拍卖等负面消息下,观致汽车已经生死一线,行业认为,即便观致汽车解决了司法层面的纠纷,观致汽车也无法凤凰涅槃。从产品的角度来看,目前观致汽车并没有一款拿得出手的产品,“产品推新不给力,产品老化脱离时代”早就注定了观致汽车无法走得更远。
如系本站原创文章,转载请注明出处:qi-che.com。
更多汽车新闻关注 请扫码qi-che.com公众微信号:

声明:
·凡注明为其他媒体来源的信息,均为转载自其他媒体,转载并不代表本网赞同其观点,也不代表本网对其真实性负责。如系qi-che.com原创文章,转载请注明出处:qi-che.com。
·您若对该稿件内容有任何疑问或质疑,请即与qi-che.com联系,本网将迅速给您回应并做处理。
邮箱mail@qi-che.com
处理时间:周一—周五 9:00—18:00
相关阅读
随着中国汽车市场新车销量持续下滑,传统乘用车(轿车、SUV、MPV)的需求下降,一直被忽视的皮卡车型有望迎来爆发期。6月6日,国家发改委等三部委共同下发《推动重点消费品更新升级畅通资源循环利用实施方案(2019-2020年)》,除逐步取消限购规定促进汽车消费外,皮卡车型的进一步解禁也被纳入改革的重点项目。实施方案中明确表示,鼓励有条件的地级及以下城市加快取消皮卡进城限制,充分发挥皮卡客货两用功能。...
今年以来,一直在新能源汽车领域动作频频的恒大,近日又因大规模、高标准的人才招募再度引得市场关注。9月9日,恒大新能源汽车全球研究总院启动全球招聘,计划招聘8000名新能源汽车产业世界顶级专家和技术精英,工作地点遍布中国、瑞典、德国、英国、荷兰、奥地利、意大利、日本、韩国等九个国家。造车狂人恒大“逆势揽才”今年的汽车行业可谓是日渐趋寒,无论是传统汽车业的领头羊如福特、通用、大众等车企动辄上千人的裁员...
据车质网统计,2019年10月共接到车主有效投诉信息8016宗,环比上涨7.9%,同比上涨28%,今年1-10月累计投诉量已突破70000宗。10月份汽车投诉榜单中,绝大多数车型投诉量环比呈现增长的趋势,法系、日系品牌汽车投诉量较上月有明显的涨幅。投诉量榜单前十中,法系品牌东风标致408再次霸榜。据数据显示,今年10月,东风标致408销量为1222辆,而10月的投诉量则达到了226宗,占销量的18...
最新内容
11月11日,力帆科技发布公告,公司召开第六届董事会第九次会议,选举印奇为公司第六届董事会董事长,任期自本次董事会审议通过之日起至第六届董事会届满之日止。根据公告披露,印奇出生于1988年1月,清华大学计算机科学实验班(“姚班”)计算机科学学士学位,哥伦比亚大学计算机科学(智能传感)硕士学位。2011年,印奇创立中国人工智能公司北京旷视科技有限公司(下称“旷视科技”),并担任该公司执行董事、董事会...
乘联会数据显示,2024年10月国内乘用车市场零售销量为226.1万辆,同比增长11.3%,环比增长7.2%。其中,新能源乘用车零售销量为119.6万辆,同比增长56.7%,环比增长6.4%,国内新能源车零售渗透率为52.9%,为年内连续四个月突破50%。从10月新能源厂商零售销量榜单来看,入榜销量榜前十名的车企分别为比亚迪汽车、吉利汽车、上汽通用五菱、长安汽车、奇瑞汽车、理想汽车、特斯拉中国、零...
日系厂商在中国市场的日子不好过,这一艰难处境在财报中体现得淋漓尽致。据央视财经报道,上周日本7家主要汽车制造商公布2025财年上半年财报(2024年4月-2024年9月),其中丰田、本田、日产、三菱和马自达五家车企净利润均同比下滑,特别是日产,其净利润仅192亿日元(约合人民币9亿元),同比暴跌94%。根据日产汽车公布财报,2025上半财年营业收入为5.98万亿日元,同比下滑1.3%;营业利润为3...
11月11日,全新阿斯顿·马丁Vanquish车型正式在国内上市,新车指导售价为499.8万元。阿斯顿·马丁Vanquish是现款DBS车型的换代版本,重新启用Vanquish的名称,并在设计上融入众多复古风格,新车搭载5.2T双涡轮增压V12发动机,全球每年限量1000台以内,国内首批订单计划于2025年第一季度开始交付。外观方面,新车采用阿斯顿·马丁Vanquish在设计上融入了众多复古风格,...
11月10日晚间,蔚来法务部发布最新通报。蔚来法务部表示:“近日,蔚来收到法院一审判决,法院认定任建华通过其持有的今日头条账号“小老头”和懂车帝账号“快乐仁者爱任”,在一年多的时间内持续发布数千条侮辱、诋毁蔚来品牌和用户的内容,严重侵害了蔚来的权益。任建华已经删除全部侵权内容,法院另判决其置顶道歉不少于60日,并赔偿蔚来经济损失”。与此同时,蔚来法务部强调:“对于其他恶意攻击蔚来和乐道的内容,我们...
汽车行业关注是了解中国汽车品牌,汽车经销商的汽车行业资讯传播平台。以全媒体结合的方式为汽车行业传播权威的汽车资讯,助力中国汽车品牌传播不断创新。新车上市汽车大全汽车新闻汽车品牌销量榜以及汽车经销商报价大全。
最新问答 更多
用车养护
汽车行业关注
报导汽车行业资讯,深挖车界猛料
老虎车网
新鲜汽车资讯,实用车主指南
买车顾问
好玩、好看、有用才是我们的基本诉求