“眼看他起高楼,眼看他宴宾客,眼看他楼塌了”这句话用来形容威马汽车再合适不过。继造车新势力威马汽车申请破产审查后,威马汽车被曝全面停服。
10月11日,多家媒体报道称,有威马汽车车主反映”威马智行”和“小威随行”蓝牙钥匙和远程控车功能网络异常无法使用,疑似后台已停服。另外,威马汽车400客服热线也一直处于忙线状态,无法正常接通。


《汽车行业关注》在查看威马智行App、威马智行小程序、威马汽车官方网站时,也均显示无法正常使用。


据《第一财经》报道,上海两家威马汽车用户中心的客服表示,这与威马汽车后台有关,现在所有威马车辆都碰到了上述问题,售后也没有办法解决。除此之外,目前威马汽车的质保承诺也已经不作数,车主的所有维修保养项目都需要自费,而且目前售后也仅剩一些中小配件,如保养件,电池、电机这样的大配件已经断供。

针对上述消息,威马汽车官方暂未做出回应。
10月10日,威马汽车科技集团有限公司申请破产审查,经办法院为上海市第三中级人民法院。
当天下午,威马汽车在官方微博发布《告知函》表示,鉴于威马公司仍具有商业价值和挽救价值,公司治理结构尚完备,具有基本自主谈判能力,部分债权人也有重整意愿,上海市第三中级人民法院于2023年10月7日受理了威马汽车科技集团的预重整申请。
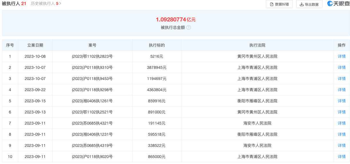
眼下,威马汽车已深陷债务泥沼。天眼查信息显示,威马汽车累计被执行信息为21条,被执行总金额超1亿元。同时该公司还存在多条股权冻结信息,最新一条为9月27日,被执行人为苏州威马智慧出行科技有限公司,冻结股权数额为60亿元,冻结期限自2023年9月27日至2026年9月26日,执行法院为上海市浦东新区人民法院。

除此之外,威马汽车关联公司的股权也多次被冻结。其中,威马温州制造在3月股权已被冻结;而湖北星晖也在年内两度被冻结股权。另外,8月22日,该公司还被上海一家制造业供应商申请破产重整,而该公司正是威马汽车的生产公司,主要生产威马W6车型。
对于威马汽车而言,出现今天这种局面或许早有征兆。从去年开始,威马降薪裁员、门店关停、工厂停产、员工欠薪、欠租金总部即将搬离、APP停摆、客服电话无人接听、创始人成老赖等新闻成为大家饭后谈资,而这些负面新闻也被大家认为是威马正遭遇史无前例的发展危机。

进入2023年后,威马汽车工厂几乎全面停止生产,而其售后体系也趋近崩溃。虽然威马汽车也做出诸多自救举措,但几经挣扎后,最终还是没能支撑住。今年9月,威马汽车位于上海总部的大楼被报道已清空,不到一个月的时间,威马汽车进入破产审查程序。
截至目前,威马汽车旗下在售车型包括EX5、W6、E.5和M7,但几乎处于停产停销局面。如今威马汽车申请破产审查,消费者和经销商的权益该如何保障也成大家关注的焦点。随着智能化的发展,任何汽车品牌的退市,对于消费者而言多少都有些揪心,毕竟涉及车辆后续的维修和质保问题。作为电动车品牌,停服意味着车辆功能失效。因此,如何保障消费者的权益也成为了未来汽车行业所要重视的新课题。

威马汽车在《告知函》中指出:“通过预重整程序,公司将彻底审视公司的运营和经营模式,全面优化各个部门和业务板块,以降低成本、提高效率和实现可持续发展。同时,威马汽车还将引入全球范围的战略投资人”。威马汽车还强调:“威马陷入经营困境,但威马不会躺平,更不会倒下,希望通过调整企业战略,解决财务债务问题,获得投资人参与重组和发展等展开积极自救。”

今日午间,威马汽车在官方微博发布《威马汽车科技集团有限公司预重整债权申报通知》,也就是说,后续威马汽车将通过引入战略投资人以寻求“重生”。但行业认为,虽然威马汽车仍未放弃自救,但处在生死线上挣扎的威马汽车想要“活下去”并非易事。
如系本站原创文章,转载请注明出处:qi-che.com。
更多汽车新闻关注 请扫码qi-che.com公众微信号:

声明:
·凡注明为其他媒体来源的信息,均为转载自其他媒体,转载并不代表本网赞同其观点,也不代表本网对其真实性负责。如系qi-che.com原创文章,转载请注明出处:qi-che.com。
·您若对该稿件内容有任何疑问或质疑,请即与qi-che.com联系,本网将迅速给您回应并做处理。
邮箱mail@qi-che.com
处理时间:周一—周五 9:00—18:00
相关阅读
随着中国汽车市场新车销量持续下滑,传统乘用车(轿车、SUV、MPV)的需求下降,一直被忽视的皮卡车型有望迎来爆发期。6月6日,国家发改委等三部委共同下发《推动重点消费品更新升级畅通资源循环利用实施方案(2019-2020年)》,除逐步取消限购规定促进汽车消费外,皮卡车型的进一步解禁也被纳入改革的重点项目。实施方案中明确表示,鼓励有条件的地级及以下城市加快取消皮卡进城限制,充分发挥皮卡客货两用功能。...
日前网上盛传一封河北省保定市博野县检测站的通知书,内容提到:接县政府办公室通知,9月23日开始所有年检车辆必须安装ETC,未安装ETC的车辆不予年检,安装ETC后再办理年检业务。针对此消息,博野县官方回应了。微信公众号“博野快讯”发文称,县政府办公室从未发布过任何关于强制安装ETC的通知。不安装ETC设备不影响车辆进行年检,车辆办理ETC设备由广大车主、群众积极参与,自愿选择。此外,相关情况经过调...
今年以来,一直在新能源汽车领域动作频频的恒大,近日又因大规模、高标准的人才招募再度引得市场关注。9月9日,恒大新能源汽车全球研究总院启动全球招聘,计划招聘8000名新能源汽车产业世界顶级专家和技术精英,工作地点遍布中国、瑞典、德国、英国、荷兰、奥地利、意大利、日本、韩国等九个国家。造车狂人恒大“逆势揽才”今年的汽车行业可谓是日渐趋寒,无论是传统汽车业的领头羊如福特、通用、大众等车企动辄上千人的裁员...
最新内容
汽车互联网服务平台汽车之家多个平台社交账号被禁止关注。据了解,汽车之家微博账号因违反法律法规或《微博社区公约》禁止关注,该账号目前有约979万粉丝,其最后一条微博停留在1月5日,此后再无更新。抖音、快手、B站均分别显示“禁止关注、账号异常、违反社区规定”,其中抖音拥有粉丝651万,B站、快手平台未公开显示其粉丝数,抖音和B站的视频最后更新日期都是1月5日,仅快手账号的视频最后更新日期为1月23日。...
3月23日,东风雪铁龙旗下新款凡尔赛C5X正式上市。新车共推出悦不凡、驭不凡、耀不凡共3款车型,售价区间为14.17-18.67万元;一口价为11.37-15.37万元。据了解,作为新款车型,新车主要对外观细节以及配置进行优化升级,全系新增萤火红HYPNOS专属标识以及后三角窗流光镂空丝印&隐私玻璃配置,看起来更精致,动力上继续搭载1.6T涡轮增压四缸发动机。外观方面,新车继续沿用老款车型...
3月23日,在华为春季全场景新品发布会上,尚界汽车全新车型——尚界Z7和尚界Z7T两车同步开启预售,预售价分别为22.98万元起和23.98万元起。作为尚界汽车旗下全新车型,尚界Z7外观采用全新设计风格,明显区别于鸿蒙智行家族式的设计语言。具体来看,新车前脸采用运动化设计,两侧配备圆角多边形造型的大灯组,内部采用类似点阵式灯腔结构,配合前舱盖隆起的多条筋线以及造型夸张的导流槽,整体运动感十足。车身...
日前,北汽蓝谷新能源科技股份有限公司(下称“北汽蓝谷”)发布公告披露,近日收到多位高层的书面辞职报告。其中,张国富因工作调整原因申请辞去董事长、董事会战略委员会主任委员等职务,辞职后将不再担任公司任何职务;刘观桥因工作调整原因,不再担任经理职务,仍任公司董事;宋军不再担任公司职工董事、常务副经理、财务总监职务。当日,北汽蓝谷召开董事会,会议通过同意选举刘观桥为新一届董事会董事长,同意聘任宋军为公司...
汽车行业关注是了解中国汽车品牌,汽车经销商的汽车行业资讯传播平台。以全媒体结合的方式为汽车行业传播权威的汽车资讯,助力中国汽车品牌传播不断创新。新车上市汽车大全汽车新闻汽车品牌销量榜以及汽车经销商报价大全。
最新问答 更多
用车养护
汽车行业关注
报导汽车行业资讯,深挖车界猛料
老虎车网
新鲜汽车资讯,实用车主指南
买车顾问
好玩、好看、有用才是我们的基本诉求