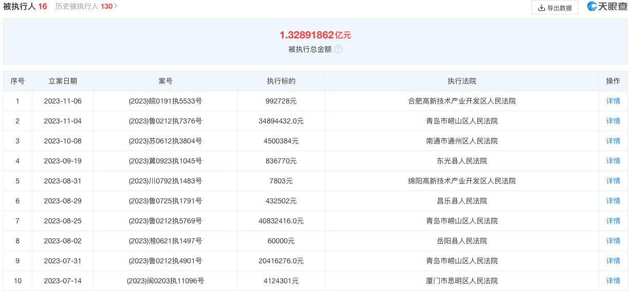
《汽车行业关注》从天眼查信息了解,11月4日,雷丁汽车集团有限公司(下称“雷丁汽车”)新增一则被执行人信息,执行标的992728元,执行法院为合肥高新技术产业开发区人民法院;11月6日,雷丁汽车再新增一则被执行人信息,执行标的34894432.0元,执行法院为青岛市崂山区人民法院。


除此之外,雷丁汽车子公司山东比德文动力科技有限公司也接连被执行。11月4日,山东比德文动力科技有限公司新增一则被执行人信息,执行标的34.89万元,执行法院为青岛市崂山区人民法院;11月6日,山东比德文动力科技有限公司新增一则被执行人信息,执行标的5500万元,涉及金融借款合同纠纷,执行法院为潍坊市奎文区人民法院。


公开信息显示,雷丁汽车集团有限公司成立于2012年10月,注册资本1亿人民币,法定代表人为王德金,是一家以从事汽车制造业为主的企业,由比德文控股集团有限公司全资持股。天眼查风险信息显示,雷丁汽车集团有限公司存在多条被执行人信息,截至发稿前,雷丁汽车累计被执行总金额为1.32891862亿元,与此同时,该公司还存在多条限制消费令、失信被执行人(老赖)和终本案件信息。

至于山东比德文动力科技有限公司则是雷丁汽车的子公司,该公司成立于2007年5月,注册资本1000万人民币,法定代表人为王德金,是一家以从事汽车制造业为主的企业,由雷丁汽车集团有限公司全资持股。和雷丁汽车一样,该公司同样存在多条被执行人信息,截至发稿前,山东比德文动力科技有限公司累计被执行总金额为2.26644249亿元。

如今雷丁汽车的处境已是危在旦夕,从年初自曝资金链断裂、申请破产、创始人李国欣海外定居再到如今接二连三被曝出被列为失信被执行人以及冻结股权等负面消息,雷丁汽车已走到尽头。当然,走到如今的结局,雷丁汽车的黯然退场并不让人感到意外,在产品具备性价比以及领先技术均不具备的前提下,或许早已为雷丁汽车的命运注定了终局。

实际上,不光光是雷丁汽车,随着新能源车市的高速发展,汽车行业已进入优胜劣汰的淘汰赛模式,而进入2023年以来,多家二线造车新势力陷入了倒闭或经营危机之中,诸如生产基地无人接盘、宣告破产等比比皆是。
特斯拉公司CEO埃隆·马斯克曾表示,预测未来12个月经济将处于低迷状态,许多公司将破产;而长安汽车董事长朱华荣也直言:未来2-3年保守预计60%-70%的品牌将面临关停并转。另外,乘联会秘书长崔东树也表示,今年复杂的市场情况,可能会在一定程度上加速一些销量规模小、资金链紧张的弱势品牌淘汰。
如系本站原创文章,转载请注明出处:qi-che.com。
更多汽车新闻关注 请扫码qi-che.com公众微信号:

声明:
·凡注明为其他媒体来源的信息,均为转载自其他媒体,转载并不代表本网赞同其观点,也不代表本网对其真实性负责。如系qi-che.com原创文章,转载请注明出处:qi-che.com。
·您若对该稿件内容有任何疑问或质疑,请即与qi-che.com联系,本网将迅速给您回应并做处理。
邮箱mail@qi-che.com
处理时间:周一—周五 9:00—18:00
相关阅读
随着中国汽车市场新车销量持续下滑,传统乘用车(轿车、SUV、MPV)的需求下降,一直被忽视的皮卡车型有望迎来爆发期。6月6日,国家发改委等三部委共同下发《推动重点消费品更新升级畅通资源循环利用实施方案(2019-2020年)》,除逐步取消限购规定促进汽车消费外,皮卡车型的进一步解禁也被纳入改革的重点项目。实施方案中明确表示,鼓励有条件的地级及以下城市加快取消皮卡进城限制,充分发挥皮卡客货两用功能。...
日前网上盛传一封河北省保定市博野县检测站的通知书,内容提到:接县政府办公室通知,9月23日开始所有年检车辆必须安装ETC,未安装ETC的车辆不予年检,安装ETC后再办理年检业务。针对此消息,博野县官方回应了。微信公众号“博野快讯”发文称,县政府办公室从未发布过任何关于强制安装ETC的通知。不安装ETC设备不影响车辆进行年检,车辆办理ETC设备由广大车主、群众积极参与,自愿选择。此外,相关情况经过调...
今年以来,一直在新能源汽车领域动作频频的恒大,近日又因大规模、高标准的人才招募再度引得市场关注。9月9日,恒大新能源汽车全球研究总院启动全球招聘,计划招聘8000名新能源汽车产业世界顶级专家和技术精英,工作地点遍布中国、瑞典、德国、英国、荷兰、奥地利、意大利、日本、韩国等九个国家。造车狂人恒大“逆势揽才”今年的汽车行业可谓是日渐趋寒,无论是传统汽车业的领头羊如福特、通用、大众等车企动辄上千人的裁员...
最新内容
汽车互联网服务平台汽车之家多个平台社交账号被禁止关注。据了解,汽车之家微博账号因违反法律法规或《微博社区公约》禁止关注,该账号目前有约979万粉丝,其最后一条微博停留在1月5日,此后再无更新。抖音、快手、B站均分别显示“禁止关注、账号异常、违反社区规定”,其中抖音拥有粉丝651万,B站、快手平台未公开显示其粉丝数,抖音和B站的视频最后更新日期都是1月5日,仅快手账号的视频最后更新日期为1月23日。...
3月23日,东风雪铁龙旗下新款凡尔赛C5X正式上市。新车共推出悦不凡、驭不凡、耀不凡共3款车型,售价区间为14.17-18.67万元;一口价为11.37-15.37万元。据了解,作为新款车型,新车主要对外观细节以及配置进行优化升级,全系新增萤火红HYPNOS专属标识以及后三角窗流光镂空丝印&隐私玻璃配置,看起来更精致,动力上继续搭载1.6T涡轮增压四缸发动机。外观方面,新车继续沿用老款车型...
3月23日,在华为春季全场景新品发布会上,尚界汽车全新车型——尚界Z7和尚界Z7T两车同步开启预售,预售价分别为22.98万元起和23.98万元起。作为尚界汽车旗下全新车型,尚界Z7外观采用全新设计风格,明显区别于鸿蒙智行家族式的设计语言。具体来看,新车前脸采用运动化设计,两侧配备圆角多边形造型的大灯组,内部采用类似点阵式灯腔结构,配合前舱盖隆起的多条筋线以及造型夸张的导流槽,整体运动感十足。车身...
日前,北汽蓝谷新能源科技股份有限公司(下称“北汽蓝谷”)发布公告披露,近日收到多位高层的书面辞职报告。其中,张国富因工作调整原因申请辞去董事长、董事会战略委员会主任委员等职务,辞职后将不再担任公司任何职务;刘观桥因工作调整原因,不再担任经理职务,仍任公司董事;宋军不再担任公司职工董事、常务副经理、财务总监职务。当日,北汽蓝谷召开董事会,会议通过同意选举刘观桥为新一届董事会董事长,同意聘任宋军为公司...
据中央纪委国家监委驻东风汽车集团有限公司纪检监察组、湖北省纪委监委消息:东风汽车集团有限公司制造管理部(安全环保部)副总经理毛志军涉嫌严重违纪违法,目前正接受中央纪委国家监委驻东风汽车集团有限公司纪检监察组纪律审查和湖北省十堰市监委监察调查。市场关于毛志军的资料并不多,其出生于1971年8月,工商管理硕士,中共党员。2018年,任东风延锋(十堰)汽车饰件有限公司总经理。2019年,任东风延锋汽车饰...
汽车行业关注是了解中国汽车品牌,汽车经销商的汽车行业资讯传播平台。以全媒体结合的方式为汽车行业传播权威的汽车资讯,助力中国汽车品牌传播不断创新。新车上市汽车大全汽车新闻汽车品牌销量榜以及汽车经销商报价大全。
最新问答 更多
用车养护
汽车行业关注
报导汽车行业资讯,深挖车界猛料
老虎车网
新鲜汽车资讯,实用车主指南
买车顾问
好玩、好看、有用才是我们的基本诉求