天眼查信息显示,1月2日,雷丁汽车集团有限公司新增3条被执行人信息,执行标的分别为1.59亿元、7600万元、3937万元,合计2.7亿余元,执行法院均为潍坊市中级人民法院。



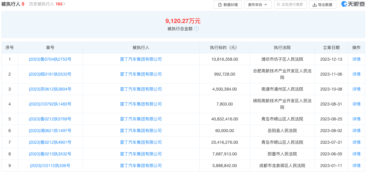
资料显示,雷丁汽车集团有限公司成立于2012年10月,注册资本1亿人民币,法定代表人为王德金,是一家以从事汽车制造业为主的企业,由比德文控股集团有限公司全资持股。天眼查风险信息显示,雷丁汽车集团有限公司存在9条被执行人信息,截至2023年12月13日,被执行总金额超9120.27万元。除此之外,该公司还存在多条限制消费令、失信被执行人(老赖)和终本案件信息。

作为成立于2008年的雷丁汽车,由低速电动车转型入局新能源汽车赛道的雷丁汽车还是出局了,而走到今天的地步不免令人唏嘘。
早期的雷丁汽车也有高光时刻。2019年初,雷丁汽车以14.6亿元收购四川野马100%股权,由此获得新能源车等生产资质,后推出包括i3、i5和i9三款小型纯电动车,但由于缺乏竞争力等原因,i系列纯电动车上市仅一年便全面停售。2021年雷丁汽车快速切入微型车市场上,并推出“雷丁芒果系列”车型,新车上市后获得了大量消费者的认可,创下单月销量6056辆佳绩,2021年全年累计销量为3.04万辆。遗憾的是好景不长,次年新车上险量仅7042辆,同比下滑47.29%,市占率0.13%。

从2021年12月起,雷丁汽车出现了公司内部中高层申请主动降薪度过危机、疑似停产、上下游都在针对雷丁汽车发起“追债”以及拖延经销商货款等负面新闻。进入2023年后更是一地鸡毛。从年初自曝资金链断裂、申请破产、创始人李国欣海外定居再到如今接二连三被曝出被列为失信被执行人以及冻结股权等负面消息,雷丁汽车当前处境已是危在旦夕。
当然,走到如今的结局,雷丁汽车的黯然退场并不让人感到意外,在产品具备性价比以及领先技术均不具备的前提下,或许早已为雷丁汽车的命运注定了终局。全国乘用车市场信息联席会秘书长崔东树此次曾表示,雷丁汽车会出现今天这种局面与其向新能源汽车转型不彻底有很大关系,此外,由于雷丁汽车是低速电动车起家,在新能源乘用车技术能力和供应链建设能力都相对较弱。

实际上,不光光是雷丁汽车,随着新能源车市的高速发展,汽车行业已进入优胜劣汰的淘汰赛模式。而进入2023年以来,多家二线造车新势力陷入了倒闭或经营危机之中,诸如生产基地无人接盘、宣告破产等比比皆是。至于后续雷丁汽车将如何发展,或许只有时间会告诉我们答案。
如系本站原创文章,转载请注明出处:qi-che.com。
更多汽车新闻关注 请扫码qi-che.com公众微信号:

声明:
·凡注明为其他媒体来源的信息,均为转载自其他媒体,转载并不代表本网赞同其观点,也不代表本网对其真实性负责。如系qi-che.com原创文章,转载请注明出处:qi-che.com。
·您若对该稿件内容有任何疑问或质疑,请即与qi-che.com联系,本网将迅速给您回应并做处理。
邮箱mail@qi-che.com
处理时间:周一—周五 9:00—18:00
相关阅读
随着中国汽车市场新车销量持续下滑,传统乘用车(轿车、SUV、MPV)的需求下降,一直被忽视的皮卡车型有望迎来爆发期。6月6日,国家发改委等三部委共同下发《推动重点消费品更新升级畅通资源循环利用实施方案(2019-2020年)》,除逐步取消限购规定促进汽车消费外,皮卡车型的进一步解禁也被纳入改革的重点项目。实施方案中明确表示,鼓励有条件的地级及以下城市加快取消皮卡进城限制,充分发挥皮卡客货两用功能。...
今年以来,一直在新能源汽车领域动作频频的恒大,近日又因大规模、高标准的人才招募再度引得市场关注。9月9日,恒大新能源汽车全球研究总院启动全球招聘,计划招聘8000名新能源汽车产业世界顶级专家和技术精英,工作地点遍布中国、瑞典、德国、英国、荷兰、奥地利、意大利、日本、韩国等九个国家。造车狂人恒大“逆势揽才”今年的汽车行业可谓是日渐趋寒,无论是传统汽车业的领头羊如福特、通用、大众等车企动辄上千人的裁员...
据车质网统计,2019年10月共接到车主有效投诉信息8016宗,环比上涨7.9%,同比上涨28%,今年1-10月累计投诉量已突破70000宗。10月份汽车投诉榜单中,绝大多数车型投诉量环比呈现增长的趋势,法系、日系品牌汽车投诉量较上月有明显的涨幅。投诉量榜单前十中,法系品牌东风标致408再次霸榜。据数据显示,今年10月,东风标致408销量为1222辆,而10月的投诉量则达到了226宗,占销量的18...
最新内容
在车市旺季“金九银十”的加持下,10月多家车企销量强势增长,比如比亚迪、吉利汽车等均实现同比增长,其中比亚迪汽车同比增长66.53%至50.27万辆;吉利汽车同比增长28%至22.67万辆;奇瑞汽车也不例外,同样实现同比增长。数据显示,2024年10月,奇瑞控股集团(下称“奇瑞集团”)销量为27.22万辆,同比增长35.9%。其中,新能源销量为7.13万辆,同比增长342.1%,首次迈过7万辆大关...
按照往常,哪吒汽车会在每月的1日对外公布上月交付数据。然而,截至发稿前,哪吒汽车尚未对外公布10月交付数据,而根据乘联分会公布的数据,预估哪吒汽车在10月的批发销量为8000辆。曾经被受瞩目的新势力企业,如今也面临生存危机。10月29日,哪吒汽车被曝面向全体研发人员实施降薪计划,降幅在5%-30%不等,工资从9月1日开始下调,涉及人数约千人。具体降薪梯度为:年薪100万元以上的员工降薪30%;年薪...
11月5日下午,赛力斯午后涨停,股价再创新高,成交额超145亿元。截至北京时间11月5日15点收盘,赛力斯股价报收137.85元,涨幅为10.00%,成交额150.34亿元,总市值2081亿元。消息面上,市场有传闻称,赛力斯正式宣布进军机器人领域,并将在11月21日举办“2024赛力斯人形机器人专题技术论坛”;也有消息称,赛力斯已布局人形机器人并发布相关岗位招聘,承接该业务的是赛力斯和重庆市财政局...
汽车产业加速向新能源方向转型,开始席卷传统汽车零部件供应商的规模。据外媒报道,德国汽车零部件巨头博世集团宣布将裁员7000人。博世首席执行官StefanHartung表示,由于2024年将无法实现其经济目标,公司可能会进一步调整人员,此次裁员计划主要涉及德国工厂,包括汽车供应部门、工具部门和家用电器子公司博西家电,其中汽车行业裁员多达3200人,巴登-符腾堡州的城市地区受到的影响尤其严重。7000...
11月5日,理想汽车发布2024年第44周(10月28日至11月3日)销量榜单。从中国市场新能源汽车品牌销量榜单来看,第44周共有4家车企销量超万辆。其中,比亚迪以9.63万辆的销量继续蝉联榜首,几乎是其余九家车企的销量之和。10月比亚迪以50.27万辆的销量领先一众车企,截至10月底,今年1-10月,比亚迪累计销量为325.05万辆,同比增长36.49%,已完成360万辆年销量目标的90.29%...
汽车行业关注是了解中国汽车品牌,汽车经销商的汽车行业资讯传播平台。以全媒体结合的方式为汽车行业传播权威的汽车资讯,助力中国汽车品牌传播不断创新。新车上市汽车大全汽车新闻汽车品牌销量榜以及汽车经销商报价大全。
最新问答 更多
用车养护
汽车行业关注
报导汽车行业资讯,深挖车界猛料
老虎车网
新鲜汽车资讯,实用车主指南
买车顾问
好玩、好看、有用才是我们的基本诉求