据媒体援引博郡汽车员工报道称,博郡汽车与部分员工签署待岗协议。根据协议内容,待岗期限为2020年6月1日到2020年12月31日,在此期间,公司每月将向员工发放2480元的生活费。有员工称,“今年2-4月均没有发放工资,只有5月15日发放了大约半个月工资,普通员工只有两千多元。” 还有一位员工也表示,“因为此前的工资还没有结清,有不少员工都选择签署待岗协议。”
欠薪裁员,前途未卜的博郡陷入经营危机。
年终奖至今未发放!由于博郡汽车处于亏损状态且出现资不抵债的情况,博郡至今没有发放2018年年终奖,2019年年终奖则“只字未提”。
供应商停止供货!今年1月,北斗星通发布公告称,2019年应收账款预计减值损失5100万元,主要来自众泰汽车和博郡汽车,其中博郡汽车由于资金链紧张,整车整体项目目前处于停工状态。

员工需自缴社保!今年1月,博郡汽车给员工出一份关于“社保账户信息”的邮件,根据内容显示员工社保需自行缴纳转入公司账户,并且邮件上附有公司名称、账户和开户行。今年3月,博郡汽车被曝出要求员工自缴社保,不仅是个人缴纳部分,就连公司缴纳部分也需要员工自行承担。
前景未卜高管离职!2019年博郡汽车市场营销和销售副总裁陈曦、市场传播总裁张震、002号员工营销副总裁张天、主管三电的张志伟相继离职。
首款量产车发布一年仍是PPT,已在市场边缘徘徊。
2019年9月,一汽夏利宣布与博郡汽车成立合资公司天津博郡。其中博郡汽车以现金出资20.34亿元,持股比例80.1%;一汽夏利以经评估备案的整车相关土地、厂房、设备等资产及负债作价5.05亿元出资,持股比例19.9%。
当时有业内人士认为,一汽夏利和博郡汽车重组是双赢,既解决了博郡汽车的生产资质难题,又让一汽夏利的闲置产能得以消化。由于一汽夏利多年亏损,不少员工对合资公司的成立抱有很大的希望,纷纷加入合资公司,已获得更好的职业发展。

但事实证明,前途未卜的造车新势力与陷入经营困难的传统车企联合后的发展并没有让人很惊喜。
根据一汽夏利发布2019年年度报告显示,2019年实现营业收入为4.29亿元,同比下滑61.85%;归属上市公司净利润为-14.81亿元,同比下滑4068.32%。
作为国内造车新势力中的一员,成立于2016年的博郡汽车迟迟未能实现量产。在2019年4月的上海车展上,博郡汽车发布两款量产SUV车型——iV6和iV7,同时开启预订并计划在2019年年底上市。然而截止目前,首款量产车型仍然停留PPT阶段,因拖欠员工年终奖、加班费等遭到员工维权,加上供应商断货,博郡汽车生产出现了难题。

无论是传统车企还是新造车势力在当前的市场环境下都不太好过,博郡汽车作为造车新势力的一员,在汽车量产上已经慢了一拍,再加上欠薪、裁员、高管离职等负面消息,博郡汽车想要拿钱就更难了。
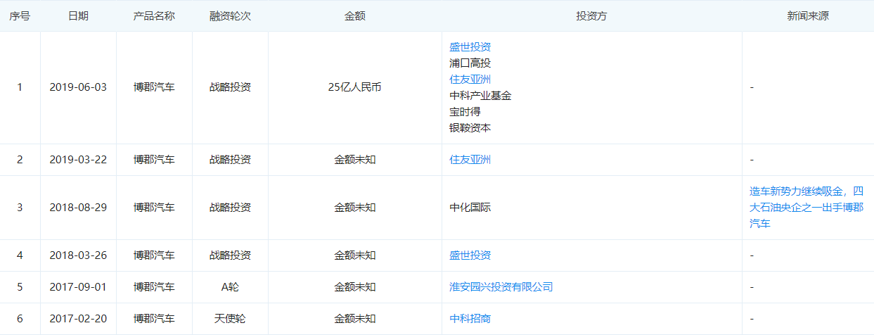
据企查查信息显示,博郡汽车成立至今共完成6轮融资。2019年6月,包括口高投、园兴投资、银鞍资本等多家公司投资了25亿元,但是其余5次融资未披露具体金额。

如今资本投资逐渐回归理性,没有产品上市的造车新势力融资将会越来越难。理想汽车CEO李想曾表示“造车新势力企业的融资窗口期还有不到一年,一年后大批企业将会被淘汰出局,90%的投资人将血本无归。”美团创始人王兴则明确表示“新势力中能够跑出来的只有理想、蔚来和小鹏三家。”显然,还没有产品上市且陷入经营危机的博郡汽车,就已经站在市场边缘了。
如系本站原创文章,转载请注明出处:qi-che.com。
更多汽车新闻关注 请扫码qi-che.com公众微信号:

声明:
·凡注明为其他媒体来源的信息,均为转载自其他媒体,转载并不代表本网赞同其观点,也不代表本网对其真实性负责。如系qi-che.com原创文章,转载请注明出处:qi-che.com。
·您若对该稿件内容有任何疑问或质疑,请即与qi-che.com联系,本网将迅速给您回应并做处理。
邮箱mail@qi-che.com
处理时间:周一—周五 9:00—18:00
相关阅读
随着中国汽车市场新车销量持续下滑,传统乘用车(轿车、SUV、MPV)的需求下降,一直被忽视的皮卡车型有望迎来爆发期。6月6日,国家发改委等三部委共同下发《推动重点消费品更新升级畅通资源循环利用实施方案(2019-2020年)》,除逐步取消限购规定促进汽车消费外,皮卡车型的进一步解禁也被纳入改革的重点项目。实施方案中明确表示,鼓励有条件的地级及以下城市加快取消皮卡进城限制,充分发挥皮卡客货两用功能。...
日前网上盛传一封河北省保定市博野县检测站的通知书,内容提到:接县政府办公室通知,9月23日开始所有年检车辆必须安装ETC,未安装ETC的车辆不予年检,安装ETC后再办理年检业务。针对此消息,博野县官方回应了。微信公众号“博野快讯”发文称,县政府办公室从未发布过任何关于强制安装ETC的通知。不安装ETC设备不影响车辆进行年检,车辆办理ETC设备由广大车主、群众积极参与,自愿选择。此外,相关情况经过调...
今年以来,一直在新能源汽车领域动作频频的恒大,近日又因大规模、高标准的人才招募再度引得市场关注。9月9日,恒大新能源汽车全球研究总院启动全球招聘,计划招聘8000名新能源汽车产业世界顶级专家和技术精英,工作地点遍布中国、瑞典、德国、英国、荷兰、奥地利、意大利、日本、韩国等九个国家。造车狂人恒大“逆势揽才”今年的汽车行业可谓是日渐趋寒,无论是传统汽车业的领头羊如福特、通用、大众等车企动辄上千人的裁员...
最新内容
3月23日,在华为春季全场景新品发布会上,AITO汽车旗下全新车型——问界M6正式开启预售,增程版车型预售价格为26.98万元起;纯电版车型预售价格为28.98万元起。据了解,新车定位中大型SUV,车内提供5座布局,介于问界M5和问界M7之间,全系标配华为途灵平台、标配896线双光路图像级激光雷达,动力上提供纯电和增程系统选择,新车将在二季度正式上市,上市后将与小米YU7、理想L6等车型展开竞争。...
3月23日,智界V9首发亮相。据了解,智界V9定位为中大型MPV,搭载1.5T华为雪鸮智能增程系统,综合续航最高1250km以上,配备鸿蒙智能座舱、华为乾崑辅助驾驶、新一代DLP投影大灯、后轮转向等多项智能化配置。外观方面,智界V9在外观方面采用智界家族式的设计风格,搭载贯穿式LDE日间行车灯,前机盖处融入品牌发光LOGO,前包围底部则设计有贯穿式镀铬饰条。前包围处设计三段式进气口,中段进气口内部...
3月23日,领克汽车官方对外发布领克10+官图。据了解,领克10可视为是领克Z10的改款焕新版本车型,领克汽车已于3月20日宣布该车正式命名为领克10,同时该车也已在工信部完成申报。而本次发布的领克10+是领克10的性能版本车型,新车将在二季度上市。从官图来看,作为领克10的性能版本车型,领克10+采用全新的前包围设计,相比于领克10更动感。具体来看,新车前脸采用封闭式格栅搭配两侧呈现“H”造型的...
据红星资本局从两位零跑汽车员工处证实,零跑汽车于2月9日发布全员邮件,通知鼓励员工主动上交过往违规所得,并设立为期一个月的“主动纠错窗口期”,后续邮件还提到“已有千万以上的主动交代上缴。”根据网传截图信息,零跑汽车发布主题为“关于廉洁合规问题主动纠错的通知”,其中提到,公司将设立为期一个月的主动纠错窗口期,在此期间,凡主动将过往违规所得上交至公司廉洁账户的员工,其涉及的过往违规行为将被既往不咎、予...
3月18日,小鹏P7发布会带来了星曜红、暗夜黑、星云白三款全新外观色,并搭载小鹏最新的第二代VLA,让智能驾驶体验再升级。同时,小鹏P7新增Max、UltraSE两大版本。小鹏P7官方指导售价20.38万元起。其中,702Max版20.38万元、820Max版22.38万元、750四驱Max版24.38万元、750四驱鹏翼Ultra版30.18万元。在Max版基础上,加1.2万元即可升级为搭载2颗...
汽车行业关注是了解中国汽车品牌,汽车经销商的汽车行业资讯传播平台。以全媒体结合的方式为汽车行业传播权威的汽车资讯,助力中国汽车品牌传播不断创新。新车上市汽车大全汽车新闻汽车品牌销量榜以及汽车经销商报价大全。
最新问答 更多
用车养护
汽车行业关注
报导汽车行业资讯,深挖车界猛料
老虎车网
新鲜汽车资讯,实用车主指南
买车顾问
好玩、好看、有用才是我们的基本诉求